ЗАДНИЙ ТОРМОЗ ДЕТАЛЬНОЕ ОПИСАНИЕ


  1. КОНСТРУКЦИЯ


    1. Дисковый тормоз встроенного типа


      1. Суппорт тормоза встроенного типа в сборе состоит из цилиндра, поршня в сборе и привода в сборе, а также в него встроен механизм стояночного тормоза.

        A0116VLE01
  2. ПРИНЦИП РАБОТЫ


    1. Дисковый тормоз встроенного типа


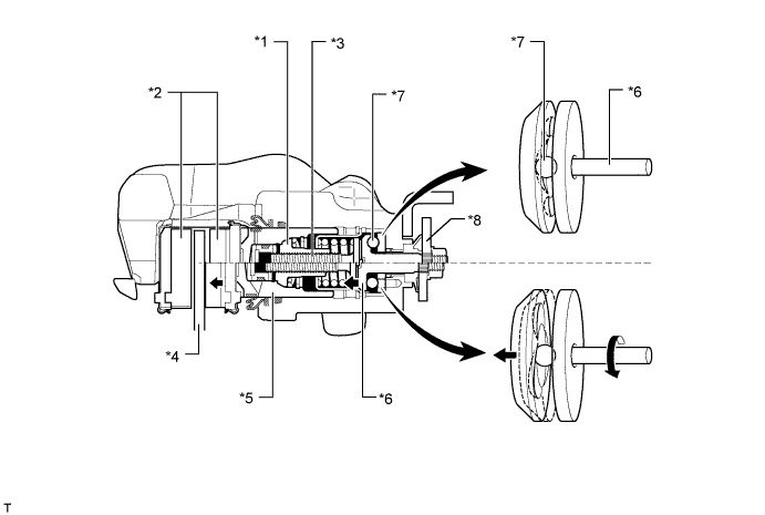
      1. При нажатии педали стояночного тормоза кривошипный механизм и первичный вал (привод в сборе), который связан с кривошипным механизмом, проворачиваются под действием троса стояночного тормоза.

      2. Одновременно с этим первичный вал продвигает шток толкателя за счет перемещения запорного шарика.

      3. Винтовая муфта на поршне, связанная со штоком толкателя, также смещается, выталкивая поршень и колодку тормозного диска и создавая тормозное усилие.

        A0116RKE01
        Обозначения на рисунке
        *1 Винтовая муфта *2 Колодка дискового тормоза
        *3 Шток *4 Тормозной диск
        *5 Поршень *6 Первичный вал
        *7 Запорный шарик *8 Кривошипный механизм
      4. Если в результате износа тормозной колодки зазор между колодкой дискового тормоза и тормозным диском достигает предварительно установленного значения, выполняется процедура автоматической подстройки с помощью давления в гидравлической системе, создаваемого при нажатии педали тормоза.

      5. Поршень сдвигается, пока колодка дискового тормоза не коснется тормозного диска, после чего устанавливается зазор между поршнем и винтовой муфтой. Одновременно с этим винтовая муфта перемещается, вращаясь вокруг штока, пока не упрется в поршень. Таким образом выполняется регулировка.

        A0116SRE01
        Обозначения на рисунке
        *1 Колодка дискового тормоза *2 Поршень
        *3 Шток *4 Тормозной диск
        *5 Винтовая муфта - -
      6. Дальнейшее повышение давления в гидравлической системе не приводит к вращению винтовой муфты, и шток сжимает пружину. Защита от перерегулирования достигается за счет того, что шток перемещается вместе с поршнем, при этом поддерживается нужный зазор между колодкой дискового тормоза и тормозным диском.

        A0116CKE01
        Обозначения на рисунке
        *1 Колодка дискового тормоза *2 Поршень
        *3 Шток *4 Тормозной диск
        *5 Винтовая муфта *6 Пружина