СИСТЕМА УПРАВЛЕНИЯ ТОРМОЗАМИ ДЕТАЛЬНОЕ ОПИСАНИЕ


  1. НАЗНАЧЕНИЕ ОСНОВНЫХ УСТРОЙСТВ

    Устройство Функция
    Блок управления рабочими цилиндрами тормозов в сборе ЭБУ системы противоскольжения Оценивает условия движения автомобиля по сигналам датчиков и передает управляющие сигналы в блок управления рабочими цилиндрами тормозов.
    Электромагнитный клапан (10) Изменяет путь тормозной жидкости согласно сигналам с ЭБУ системы противоскольжения, полученным во время работы систем управления тормозами, и тем самым регулирует давление этой жидкости, подаваемой в тормозные цилиндры колес.
    Электродвигатель насоса Приводит в движение насосы внутри блока управления рабочими цилиндрами тормозов.
    Реле электромагнитного клапана Подает питание на электромагнитные клапаны.
    Реле электродвигателя Подает питание на электродвигатель насоса.
    Реле аварийного режима электродвигателя Отключает питание электродвигателя в случае неисправностей реле электродвигателя.
    Датчик давления в главном цилиндре Встроен в блок управления рабочими цилиндрами тормозов и измеряет давление в главном цилиндре.
    Датчик угла поворота рулевого колеса Определяет направление и угол поворота рулевого колеса.
    Датчик рысканья Определяет рысканье, а также продольную и боковую составляющие ускорения и замедления кузова автомобиля.
    Датчики частоты вращения Определяет частоту вращения одного из 4 колес.
    Выключатель стоп-сигналов Регистрирует сигнал нажатия педали тормоза.
    Выключатель стояночного тормоза Определяет положение рычага стояночного тормоза.
    Выключатель VSC OFF Позволяет водителю выбрать нормальный режим, "TRC OFF" или "VSC-OFF".
    Главный ЭБУ кузова (бортовой ЭБУ сети мультиплексной связи) Передает сигнал выключателя стояночного тормоза в ЭБУ системы противоскольжения.
    ECM
    • Передает сигнал положения дроссельной заслонки, сигнал положения педали акселератора, сигнал частоты вращения коленчатого вала двигателя и сигнал датчика положения паркинга/нейтрали в ЭБУ системы противоскольжения.

    • Регулирует мощность двигателя в соответствии с сигналами от ЭБУ системы противоскольжения.

    ЭБУ рулевого управления с усилителем Работает совместно с ЭБУ системы противоскольжения, регулируя дополнительный крутящий момент рулевого управления.
    Щиток приборов в сборе ABS Warning Light Горит, оповещая водителя о том, что ЭБУ системы противоскольжения обнаружил неисправность в системе АБС.
    Контрольная лампа состояния тормозной системы
    • Загорается вместе с контрольной лампой ABS, предупреждая водителя о том, что ЭБУ системы противоскольжения обнаружил неисправность не только в системе АБС, но и в EBD.

    • Горит, оповещая водителя о низком уровне тормозной жидкости.

    • Горит, оповещая водителя о включении стояночного тормоза.

    Контрольная лампа скольжения SLIP
    • Загорается в случае неисправности системы TRC или VSC, предупреждая водителя.

    • Загорается, чтобы уведомить водителя о выборе режима "TRC-OFF" или "VSC-OFF".

    • Мигает, оповещая водителя о том, что работает система TRC или VSC.

    Контрольная лампа VSC OFF
    • Мигает в случае неисправности системы TRC или VSC, предупреждая водителя.

    • Загорается, оповещая водителя о выборе режима "VSC-OFF".

    Многофункциональный зуммер
    • Подает звуковой сигнал, оповещая водителя о работе системы VSC.

    • Подает один звуковой сигнал, когда скорость автомобиля достигает приблизительно 5 км/час (3 мили в час) или более при включенном стояночном тормозе.

  2. УПРАВЛЕНИЕ В СИСТЕМЕ


    1. Перечень функций управления


      1. Система управления тормозами (АБС с EBD, усилителем экстренного торможения, TRC, VSC и VSC+) выполняет следующие функции:

        Функция управления Описание
        Антиблокировочная система тормозов (АБС) АБС предотвращает блокировку колес при резком нажатии на педаль тормоза, а также при торможении на скользкой поверхности.
        Электронная система распределения тормозного усилия (EBD) EBD использует АБС для надлежащего распределения тормозного усилия между передними и задними колесами в соответствии с условиями движения. Кроме того, при торможении на повороте она регулирует тормозные усилия на правых и левых колесах, обеспечивая устойчивость автомобиля.
        Усилитель экстренного торможения Основной задачей усилителя экстренного торможения является обеспечение дополнительного тормозного усилия для водителя, который не способен развить требуемое усилие при экстренном торможении. В результате повышается тормозная мощность автомобиля.
        Антипробуксовочная система (TRC) Система TRC помогает предотвратить проскальзывание ведущих колес при слишком резком нажатии педали акселератора во время трогания с места или при разгоне на скользкой поверхности.
        Система курсовой устойчивости (VSC) VSC ограничивает увод автомобиля в сторону при значительном заносе передних или задних колес, например, на повороте.
        Регулирование мощности двигателя во время работы TRC или VSC При включении TRC или VSC ЭБУ системы противоскольжения передает в ECM сигнал регулирования мощности двигателя, чтобы ограничить мощность двигателя.
        VSC+ (согласованное управление с EPS) Координирует работу совместно с ЭБУ рулевого управления с усилителем, обеспечивая усиление крутящего момента рулевого управления в соответствии с состоянием автомобиля.
    2. Антиблокировочная система тормозов (АБС)


      1. Система АБС предотвращает блокировку колес при резком нажатии на педаль тормоза, а также при торможении на скользкой поверхности. Это обеспечивает надлежащее тормозное усилие в условиях проскальзывания автомобиля, что обусловливает прекрасную курсовую устойчивость и эффективность торможения.

        A0116U4E08
        Текст на рисунке
        *A При наличии АБС *B Без АБС
        A0116LB Включение тормозов - -
    3. Электронная система распределения тормозного усилия (EBD)


      1. Эта функция регулирует тормозное усилие на задних колесах в соответствии с изменениями условий движения автомобиля, например нагрузки или скорости, обеспечивая превосходную эффективность торможения.

        A0116EGE01
      2. Во время торможения на повороте эта функция регулирует тормозное усилие между левыми и правыми колесами в соответствии с текущими условиями движения автомобиля. Это обусловливает курсовую устойчивость и исключительно эффективное торможение.

        A0116FNE04
        Текст на рисунке
        *a Управляющий момент - -
        A0116LB Тормозное усилие - -
    4. Усилитель экстренного торможения


      1. При работе усилителя экстренного торможения ЭБУ системы противоскольжения рассчитывает скорость и усилие нажатия педали тормоза по сигналам датчика давления в главном цилиндре и определяет, собирался ли водитель выполнить экстренное торможение. Если ЭБУ системы противоскольжения решает, что водитель собирался выполнить экстренное торможение, он приводит в действие блок управления рабочими цилиндрами тормозов, чтобы повысить давление тормозной жидкости и, соответственно, тормозное усилие.

        A0116OFE03
    5. Антипробуксовочная система (TRC)


      1. Система TRC предотвращает проскальзывание ведущих колес при чрезмерном нажатии на педаль акселератора во время трогания с места или разгона на скользкой поверхности. Одновременно с управлением гидравлической тормозной системой ведущих колес ЭБУ системы противоскольжения передает в ECM запрос на регулирование мощности двигателя. При этом создается тяговое усилие, соответствующее существующим условиям движения, что обеспечивает надлежащее ускорение при трогании с места.

        A0116SXE02
        Текст на рисунке
        *A Для моделей без TRC *B Для моделей с TRC
        *1
        • Блок управления рабочими цилиндрами тормозов в сборе


          • ЭБУ системы противоскольжения

        *2
        • ECM


          • Регулирование мощности двигателя с помощью дроссельной заслонки

        *a Скользкая поверхность *b Притормаживание пробуксовывающего ведущего колеса
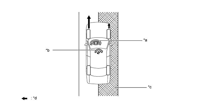
    6. Система курсовой устойчивости (VSC)


      1. Ниже приведены два примера, иллюстрирующие поведение автомобиля, когда боковая сила превышает прочность сцепления шины с дорожным покрытием. Система VSC помогает управлять поведением автомобиля, контролируя мощность двигателя и тормозное усилие на каждом из колес автомобиля в рассмотренных ниже условиях.

        A0116JBE04
        Текст на рисунке
        *a Тенденция к заносу передних колес *b Тенденция к заносу задних колес
      2. Чтобы распознать характер движения автомобиля, датчики определяют угол поворота рулевого колеса, скорость автомобиля, рысканье и боковое ускорение, которые затем анализируются ЭБУ системы противоскольжения.

      3. Занос передних колес распознается по разности между расчетным и фактическим рысканьем автомобиля. Если фактическое рысканье автомобиля (которое можно объективно определить по движению рулевого колеса) меньше расчетного рысканья (вычисленного по скорости автомобиля и углу поворота рулевого колеса), это означает, что автомобиль выполняет поворот под большим углом, чем требует траектория движения. Таким образом ЭБУ системы противоскольжения распознает тенденцию к заносу передних колес.

        A0116D1E04
        Текст на рисунке
        *a Фактическая траектория движения (фактическое рысканье) *b Траектория движения, определенная на основе расчетного рысканья
      4. Занос задних колес определяется по значениям угла увода колес и угловой скорости скольжения автомобиля (по изменению угла бокового увода автомобиля во времени). Если угол увода колес и угловая скорость скольжения слишком высоки, ЭБУ системы противоскольжения расценивает такую ситуацию как тенденцию к заносу задних колес.

        A0116HGE03
        Текст на рисунке
        *a Направление движения центра тяжести автомобиля *b Угол увода колес
        *c Движение автомобиля - -
      5. Когда ЭБУ системы противоскольжения распознает тенденцию к заносу передних или задних колес, он снижает мощность двигателя и тормозит переднее или заднее колесо, регулируя момент рысканья автомобиля. Ниже рассмотрены основные действия системы VSC. При этом способы управления различаются в зависимости от характеристик автомобиля и условий движения.

      6. Когда ЭБУ системы противоскольжения распознает тенденцию к заносу передних колес, он предпринимает нейтрализующие действия в зависимости от вероятности заноса. ЭБУ системы противоскольжения регулирует мощность двигателя и тормозит передние колеса и заднее колесо, расположенное с внутренней стороны при повороте, чтобы ограничить занос передних колес.

        A0116DVE04
        Текст на рисунке
        *a Тормозное усилие *b Управляющий момент
        *c Поворот вправо - -
      7. Когда ЭБУ системы противоскольжения распознает тенденцию к заносу задних колес, он предпринимает нейтрализующие действия в зависимости от вероятности заноса. ЭБУ тормозит переднее и заднее колеса внешнего радиуса поворота и создает направленный наружу момент инерции автомобиля, ограничивая тенденцию заноса задних колес. Наряду с уменьшением скорости автомобиля, вызванным тормозным усилием, обеспечивается прекрасная курсовая устойчивость.

        A0116M5E02
        Текст на рисунке
        *a Тормозное усилие *b Управляющий момент
        *c Поворот вправо - -
    7. Регулирование мощности двигателя во время работы TRC или VSC


      1. Во время работы систем TRC или VSC ЭБУ системы противоскольжения выдает сигнал управления мощностью двигателя на ECM. После получения этого сигнала ECM подавляет выходную мощность двигателя.

        A0116SOE01
    8. VSC+ (согласованное управление с EPS)


      1. Если водитель резко включает тормоза на дорожном покрытии, у которого значительно различается коэффициент сцепления для правых и левых колес, разница тормозного усилия между правыми и левыми колесами приводит к потере устойчивости положения автомобиля и создает момент рысканья. В этом состоянии ЭБУ системы противоскольжения управляет АБС и VSC в целях стабилизации положения автомобиля. Одновременно он осуществляет согласованное управление совместно с EPS таким образом, чтобы создать усиление крутящего момента рулевого управления, облегчающее выполнение маневров поворота и сохраняющее устойчивое положение автомобиля.

        A0116UDE03
        Текст на рисунке
        *a Тормозное усилие *b Направление усиления крутящего момента
        *c Момент рысканья при управлении торможением *d Скользкая поверхность
      2. Если водитель резко трогается с места или ускоряется на дорожном покрытии, у которого значительно различается коэффициент сцепления для правых и левых колес, пробуксовка ведущего колеса приведет к потере устойчивости положения автомобиля и отрицательно скажется на характеристиках разгона. В этом состоянии ЭБУ системы противоскольжения включает систему TRC для управления гидравлическим тормозом проскальзывающего ведущего колеса и передает в ECM запрос на регулирование мощности двигателя. Одновременно он осуществляет согласованное управление совместно с EPS таким образом, чтобы создать усиление крутящего момента рулевого управления, облегчающее выполнение маневров поворота и сохраняющее устойчивое положение автомобиля.

        A0116PUE02
        Текст на рисунке
        *a Направление усиления крутящего момента *b Момент рысканья при разгоне
        *c Скользкая поверхность *d Тяговое усилие
      3. Когда ЭБУ системы противоскольжения распознает тенденцию к заносу передних колес, он управляет VSC для уменьшения заноса. Одновременно он осуществляет согласованное управление совместно с EPS таким образом, чтобы создать усиление крутящего момента рулевого управления, облегчающее выполнение маневров поворота и сохраняющее устойчивое положение автомобиля. Усиление крутящего момента рулевого управления информирует водителя о заносе передних колес и предотвращает чрезмерный поворот рулевого колеса водителем. Для предотвращения чрезмерного поворота данная система повышает сопротивление усилию поворота, которое водитель прикладывает к рулевому колесу, если это усилие слишком велико.

        A0116V6E02
        Текст на рисунке
        *a Тенденция к заносу передних колес *b Направление усиления для информирования о заносе передних колес
        *c Направление усиления для предотвращения избыточного поворачивания *d Управляющий момент
        *e Тормозное усилие - -
      4. Когда ЭБУ системы противоскольжения распознает тенденцию к заносу задних колес, он управляет VSC для уменьшения заноса. Одновременно он координирует управление с EPS, обеспечивая усиление крутящего момента рулевого управления, чтобы облегчить выполнение маневров поворота в направлении устранения заноса заднего колеса.

        A0116CIE02
        Текст на рисунке
        *a Тенденция к заносу задних колес *b Направление усиления крутящего момента
        *c Управляющий момент *d Тормозное усилие
  3. ФУНКЦИИ


    1. Выключатель VSC OFF


      1. Работу функций VSC и TRC можно остановить выключателем VSC OFF. Когда автомобиль съезжает на обочину или движется по грунтовой дороге, функция регулировки мощности двигателя отключается, чтобы поддерживать крутящий момент.

      2. Выключатель VSC OFF позволяет выбрать один из трех режимов (нормальный режим, режим TRC-OFF и режим VSC-OFF). При кратковременном нажатии выключателя VSC OFF активируется режим TRC-OFF, и функция TRC отключается. Если выключатель VSC OFF удерживается нажатым не менее 3 с, активируется режим VSC-OFF, и отключаются функции TRC и VSC.

      3. Если в режиме TRC-OFF или VSC-OFF выключается зажигание, при следующем включении зажигания выбирается нормальный режим. Также система автоматически переходит в нормальный режим при увеличении скорости автомобиля.

        A0116VUE01
      4. Функции управления тормозами в каждом из режимов работают следующим образом.

        Режим Функция управления тормозами Контрольная лампа скольжения SLIP Контрольная лампа VSC OFF
        TRC VSC
        Нормальный режим - -
        Режим TRC-OFF X Лампа горит -
        Режим VSC-OFF X X* Лампа горит Лампа горит

        • ○: управление возможно

        • X: управление невозможно

        Tech Tips

        *: функция управления действует во время торможения или при сильном рыскании.

  4. КОНСТРУКЦИЯ


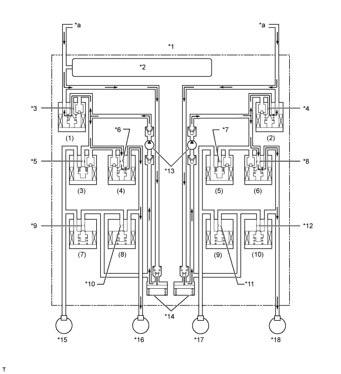
    1. Блок управления рабочими цилиндрами тормозов в сборе


      1. Блок управления рабочими цилиндрами тормозов состоит из модуля привода и ЭБУ системы противоскольжения.

      2. Блок управления рабочими цилиндрами тормозов регулирует гидравлическое давление тормозной системы в каждом рабочем тормозном цилиндре.

        A0116KRE02
        Текст на рисунке
        *1 ЭБУ системы противоскольжения *2 Модуль привода
        *a К рабочему тормозному цилиндру правого переднего колеса *b К рабочему тормозному цилиндру левого заднего колеса
        *c К рабочему тормозному цилиндру правого заднего колеса *d К рабочему тормозному цилиндру левого переднего колеса
        *e От главного цилиндра - -
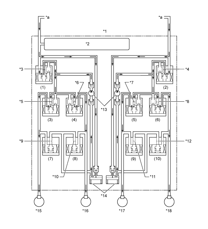
      3. Блок управления рабочими цилиндрами тормозов включен в следующий гидравлический контур:

        A0116KUE02
        Текст на рисунке
        *1 Блок управления рабочими цилиндрами тормозов в сборе *2 Датчик давления в главном цилиндре
        *3 Электромагнитный клапан отсечки главного цилиндра *4 Электромагнитный клапан удержания давления
        *5 Электромагнитный редукционный клапан *6 Насос
        *7 Бачок *8 Правый передний рабочий тормозной цилиндр
        *9 Левый задний рабочий тормозной цилиндр *10 Правый задний рабочий тормозной цилиндр
        *11 Левый передний рабочий тормозной цилиндр - -
        *a От главного цилиндра - -
    2. Датчик частоты вращения


      1. В системе используются активные датчики частоты вращения. Датчик частоты вращения содержит датчик Холла.

      2. Ротор датчика, сформированный из расположенных по кругу пар полюсов N и S, объединен с внутренним кольцом подшипника ступицы.

      3. В активном датчике частоты вращения используется элемент Холла, регистрирующий изменения магнитного поля в результате вращения ротора датчика. При этом датчик передает данные измерений в ЭБУ системы противоскольжения в виде цифровых импульсов.

      4. Скорость автомобиля определяется по частоте выходных импульсов. Поскольку активный датчик формирует цифровые импульсы, он может определять скорости автомобиля, близкие к 0 км/час.

        A0116S3E07
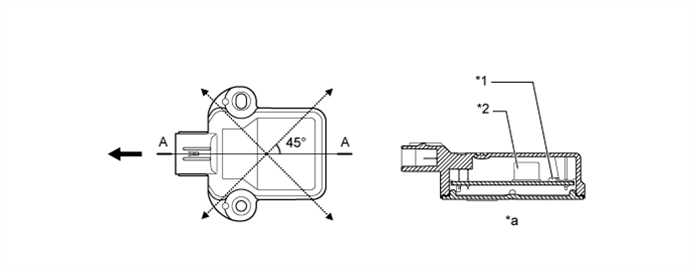
    3. Датчик рысканья


      1. В датчик ускорения встроен датчик рысканья.

      2. Датчик рысканья определяет ускорение по горизонтали в продольном и поперечном направлениях по сигналам от двух датчиков ускорения, которые установлены под углом 45° к продольной оси кузова автомобиля, и передает сигналы в ЭБУ системы противоскольжения.

        A0116GEE03
        Текст на рисунке
        *1 Датчик ускорения *2 Датчик рысканья
        *a Сечение A - A - -
        A0116LB Передняя сторона - -

        Note

        После замены датчика рысканья или ЭБУ системы противоскольжения необходимо инициализировать датчик рысканья. Порядок действий рассмотрен в Руководстве по ремонту.

    4. Датчик угла поворота рулевого колеса


      1. Датчик угла поворота рулевого колеса определяет направление и угол поворота рулевого колеса, и передает соответствующий сигнал в ЭБУ системы противоскольжения.

      2. Датчик угла поворота рулевого колеса состоит из двух магнитных элементов, которые регистрируют вращательное движение магнита, встроенного в измерительное зубчатое колесо. Таким образом, датчик воспринимает изменения, происходящие в магнитных элементах при вращении измерительного зубчатого колеса, и, в результате, определяет угол поворота рулевого колеса.

        A0116MUE02
        Текст на рисунке
        *1 Датчик угла поворота рулевого колеса *2 Измерительное зубчатое колесо
        *a Передняя сторона - -

        Note

        Не снимайте датчик угла поворота рулевого колеса с витого кабеля. В случае неисправности датчика угла поворота рулевого колеса замените витой кабель с датчиком угла поворота рулевого колеса.

  5. ПРИНЦИП РАБОТЫ


    1. АБС с EBD


      1. На основе сигналов, полученных от 4 датчиков частоты вращения, ЭБУ системы противоскольжения рассчитывает частоту вращения и замедление для каждого колеса, и оценивает вероятность заноса колес. В соответствии с вероятностью заноса ЭБУ системы противоскольжения регулирует давление жидкости в рабочих цилиндрах каждого из колес, управляя редукционными электромагнитными клапанами и клапанами удержания давления в следующих 3 режимах: режиме понижения, режиме удержания и режиме повышения давления.

        A0116KZE05
        Текст на рисунке
        *A Режим повышения давления *B Режим удержания давления
        *C Режим понижения давления - -
        *1 Клапан удержания давления *2 Редукционный клапан
        *3 Канал A *4 Канал B
        *a К рабочему тормозному цилиндру *b К бачку и насосу
        *c От рабочего тормозного цилиндра - -
        Не действует Обычное торможение - -
        Действует Режим повышения давления Режим удержания давления Режим понижения давления
        Клапан удержания давления (канал А) Выкл (открыт) Вкл (закрыт)
        Клапан удержания давления (канал B) Выкл (закрыт) Вкл (открыт)
        Давление в рабочем тормозном цилиндре Повышение Удержание Снижение
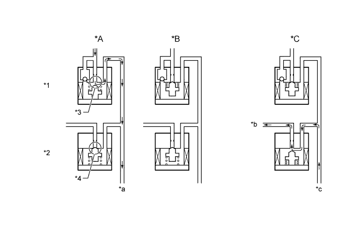
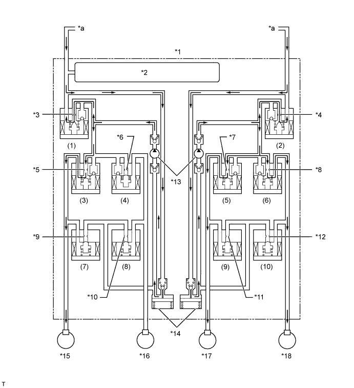
    2. Усилитель экстренного торможения


      1. В случае экстренного торможения ЭБУ системы противоскольжения оценивает намерение водителя, исходя из скорости повышения давления в главном цилиндре, определяемой по сигналу датчика давления в главном цилиндре. Если ЭБУ системы противоскольжения примет решение о необходимости дополнительного увеличения тормозного усилия, насос поднимает давление жидкости в блоке управления тормозными цилиндрами и создает дополнительное давление в рабочем тормозном цилиндре, превышающее давление в главном тормозном цилиндре.

        A0116O2E05
        A0116DIE02
        Обозначения на рисунке (принцип работы усилителя экстренного торможения):
        *1 Блок управления рабочими цилиндрами тормозов в сборе *2 Датчик давления в главном цилиндре
        *3 Канал (A) *4 Канал (B)
        *5 Канал (C) *6 Канал (D)
        *7 Канал (E) *8 Канал (F)
        *9 Канал (G) *10 Канал (H)
        *11 Канал (I) *12 Канал (J)
        *13 Насос *14 Бачок
        *15 Правый передний рабочий тормозной цилиндр *16 Левый задний рабочий тормозной цилиндр
        *17 Правый задний рабочий тормозной цилиндр *18 Левый передний рабочий тормозной цилиндр
        *a От главного цилиндра - -
        Параметр / Устройство Канал Не действует Действует
        Электромагнитный клапан отсечки главного цилиндра (1) (A) Выкл (открыт) Вкл*
        (2) (B) Выкл (открыт) Вкл*
        Электромагнитный клапан удержания давления (3) (C) Выкл (открыт)
        (4) (D) Выкл (открыт)
        (5) (E) Выкл (открыт)
        (6) (F) Выкл (открыт)
        Электромагнитный редукционный клапан (7) (G) Выкл (закрыт)
        (8) (H) Выкл (закрыт)
        (9) (I) Выкл (закрыт)
        (10) (J) Выкл (закрыт)
        Насос Выкл Вкл

        Tech Tips

        *: Электромагнитный клапан непрерывно регулирует давление в гидравлической системе между положениями «открыт» и «закрыт» в соответствии с рабочими условиями.

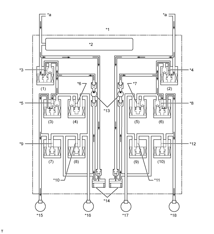
    3. TRC


      1. Давление жидкости, создаваемое насосом, регулируется требуемым образом с помощью электромагнитного клапана отсечки главного цилиндра. Таким образом, управление рабочими тормозными цилиндрами ведущих колес осуществляется в трех режимах: режимы снижения, удержания и увеличения давления. Это позволяет свести к минимуму проскальзывание ведущих колес. На рисунке ниже показан гидравлический контур для режима повышения давления во время действия TRC. Электромагнитный клапан удержания давления и электромагнитный редукционный клапан включаются/выключаются в соответствии со схемой работы АБС с EBD.

        A0116N2E01
        A0116NIE02
        Обозначения на рисунке (принцип работы TRC):
        *1 Блок управления рабочими цилиндрами тормозов в сборе *2 Датчик давления в главном цилиндре
        *3 Канал (A) *4 Канал (B)
        *5 Канал (C) *6 Канал (D)
        *7 Канал (E) *8 Канал (F)
        *9 Канал (G) *10 Канал (H)
        *11 Канал (I) *12 Канал (J)
        *13 Насос *14 Бачок
        *15 Правый передний рабочий тормозной цилиндр *16 Левый задний рабочий тормозной цилиндр
        *17 Правый задний рабочий тормозной цилиндр *18 Левый передний рабочий тормозной цилиндр
        *a От главного цилиндра - -
        Параметр / Устройство Канал Не действует Действует
        Режим повышения давления Режим удержания давления Режим понижения давления
        Электромагнитный клапан отсечки главного цилиндра (1) (A) Выкл (открыт) Вкл*
        (2) (B) Выкл (открыт) Вкл*
        Передний тормоз Электромагнитный клапан удержания давления (3) (C) Выкл (открыт) ON (ВКЛ) (закрыт)
        (6) (F) Выкл (открыт) ON (ВКЛ) (закрыт)
        Электромагнитный редукционный клапан (7) (G) Выкл (закрыт) Вкл (открыт)
        (10) (J) Выкл (закрыт) Вкл (открыт)
        Давление в рабочем тормозном цилиндре Правом - - Повышение Удержание Понижение
        Левый - - Повышение Удержание Понижение
        Задний тормоз Электромагнитный клапан удержания давления (4) (D) Выкл (закрыт) ON (ВКЛ) (закрыт)
        (5) (E) Выкл (закрыт) ON (ВКЛ) (закрыт)
        Электромагнитный редукционный клапан (8) (H) Выкл (закрыт)
        (9) (I) Выкл (закрыт)
        Давление в рабочем тормозном цилиндре Правом - - - - -
        Левом - - - - -
        Насос Выкл ON (ВКЛ)

        Tech Tips

        *: электромагнитный клапан непрерывно регулирует гидравлическое давление, периодически открываясь и закрываясь в соответствии с рабочими условиями.

    4. VSC


      1. Система VSC с помощью электромагнитных клапанов регулирует давление жидкости, создаваемое насосом, и подает его в рабочие тормозные цилиндры каждого из колес, в следующих 3 режимах: режиме понижения, режиме удержания и режиме повышения давления. Это позволяет свести к минимуму вероятность проскальзывания передних или задних колес.

        A0116UQE01
      2. В режиме противодействия заносу передних колес тормозное усилие подается на колеса, расположенные при повороте с внутренней стороны. Тем не менее, в некоторых случаях, обусловленных состоянием тормозной системы (включена или выключена) и состоянием автомобиля, тормозное усилие может не прикладываться к колесам, даже если для этого имеются необходимые основания. На рисунке ниже показан гидравлический контур в режиме повышения давления, в котором регулируется степень пробуксовки передних колес, когда автомобиль поворачивает вправо. В других режимах работы электромагнитный клапан удержания давления и электромагнитный редукционный клапан включаются/выключаются в соответствии со схемой работы АБС с EBD.

        A0116DKE02
        Обозначения на рисунке (принцип работы VSC [противодействие заносу передних колес]): )
        *1 Блок управления рабочими цилиндрами тормозов в сборе *2 Датчик давления в главном цилиндре
        *3 Канал (A) *4 Канал (B)
        *5 Канал (C) *6 Канал (D)
        *7 Канал (E) *8 Канал (F)
        *9 Канал (G) *10 Канал (H)
        *11 Канал (I) *12 Канал (J)
        *13 Насос *14 Бачок
        *15 Правый передний рабочий тормозной цилиндр *16 Левый задний рабочий тормозной цилиндр
        *17 Правый задний рабочий тормозной цилиндр *18 Левый передний рабочий тормозной цилиндр
        *a От главного цилиндра - -
        Параметр / Устройство Канал Не действует Действует
        Режим повышения давления Режим удержания давления Режим понижения давления
        Электромагнитный клапан отсечки главного цилиндра (1) (A) Выкл (открыт) Вкл*
        (2) (B) Выкл (открыт) Вкл*
        Передний тормоз Электромагнитный клапан удержания давления (3) (C) Выкл (открыт) ON (ВКЛ) (закрыт)
        (6) (F) Выкл (открыт) ON (ВКЛ) (закрыт)
        Электромагнитный редукционный клапан (7) (G) Выкл (закрыт) Вкл (открыт)
        (10) (J) Выкл (закрыт) Вкл (открыт)
        Давление в рабочем тормозном цилиндре Правом - - Повышение Удержание Понижение
        Левый - - Повышение Удержание Понижение
        Задний тормоз Электромагнитный клапан удержания давления (4) (D) Выкл (открыт) ON (ВКЛ) (закрыт)
        (5) (E) Выкл (открыт) ON (ВКЛ) (закрыт)
        Электромагнитный редукционный клапан (8) (H) Выкл (закрыт)
        (9) (I) Выкл (закрыт) Вкл (открыт)
        Давление в рабочем тормозном цилиндре Правом - - Повышение Удержание Понижение
        Левый - - - - -
        Насос Выкл ON (ВКЛ)

        Tech Tips

        *: электромагнитный клапан непрерывно регулирует гидравлическое давление, периодически открываясь и закрываясь в соответствии с рабочими условиями.

      3. В режиме противодействия заносу задних колес тормозное усилие подается на переднее и заднее колеса, расположенные при повороте с внешней стороны. Тем не менее, в некоторых случаях, обусловленных состоянием тормозной системы (включена или выключена) и состоянием автомобиля, тормозное усилие может не прикладываться к колесам, даже если для этого имеются необходимые основания. На рисунке ниже показан гидравлический контур в режиме повышения давления, в котором регулируется степень пробуксовки задних колес, когда автомобиль поворачивает вправо. В других режимах работы электромагнитный клапан удержания давления и электромагнитный редукционный клапан включаются/выключаются в соответствии со схемами работы АБС с EBD.

        A0116L2E02
        Обозначения на рисунке (принцип работы VSC [противодействие заносу задних колес]): )
        *1 Блок управления рабочими цилиндрами тормозов в сборе *2 Датчик давления в главном цилиндре
        *3 Канал (A) *4 Канал (B)
        *5 Канал (C) *6 Канал (D)
        *7 Канал (E) *8 Канал (F)
        *9 Канал (G) *10 Канал (H)
        *11 Канал (I) *12 Канал (J)
        *13 Насос *14 Бачок
        *15 Правый передний рабочий тормозной цилиндр *16 Левый задний рабочий тормозной цилиндр
        *17 Правый задний рабочий тормозной цилиндр *18 Левый передний рабочий тормозной цилиндр
        *a От главного цилиндра - -
        Параметр / Устройство Канал Не действует Действует
        Режим повышения давления Режим удержания давления Режим понижения давления
        Электромагнитный клапан отсечки главного цилиндра (1) (A) Выкл (открыт) Вкл*
        (2) (B) Выкл (открыт) Вкл*
        Передний тормоз Электромагнитный клапан удержания давления (3) (C) Выкл (открыт) ON (ВКЛ) (закрыт)
        (6) (F) Выкл (открыт) ON (ВКЛ) (закрыт)
        Электромагнитный редукционный клапан (7) (G) Выкл (закрыт)
        (10) (J) Выкл (закрыт) Вкл (открыт)
        Давление в рабочем тормозном цилиндре Правом - - - - -
        Левом - - Повышение Удержание Понижение
        Задний тормоз Электромагнитный клапан удержания давления (4) (D) Выкл (открыт) ON (ВКЛ) (закрыт)
        (5) (E) Выкл (открыт) ON (ВКЛ) (закрыт)
        Электромагнитный редукционный клапан (8) (H) Выкл (закрыт) Вкл (открыт)
        (9) (I) Выкл (закрыт)
        Давление в рабочем тормозном цилиндре Правом - - - - -
        Левом - - Повышение Удержание Понижение
        Насос Выкл ON (ВКЛ)

        Tech Tips

        *: электромагнитный клапан непрерывно регулирует гидравлическое давление, периодически открываясь и закрываясь в соответствии с рабочими условиями.

    5. VSC+ (согласованное управление с EPS)


      1. При согласованном (координированном) управлении с EPS электромагнитные клапаны действуют таким же образом, как при работе функций управления тормозами (АБС, TRC, VSC).

  6. Функция работы в аварийном режиме


    1. В случае неисправности системы АБС ЭБУ системы противоскольжения запрещает работу систем управления тормозами.

    2. В случае неисправности системы EBD, тормозная система работает столько, сколько возможно, даже если работа системы АБС запрещена. Если управление системой EBD становится невозможным, загорается контрольная лампа тормозной системы, чтобы проинформировать водителя об этом. В этом случае тормозная система работает так же, как в случае отсутствия систем управления тормозами.

    3. В случае неисправности в TRC и/или VSC ЭБУ системы противоскольжения запрещает работу TRC и VSC.

    4. В случае возникновения ошибки связи между ЭБУ системы противоскольжения и датчиком угла поворота рулевого колеса, датчиком рысканья или ECM, ЭБУ системы противоскольжения прекращает работу систем TRC и VSC..

    5. Когда ECM регистрирует DTC (диагностический код неисправности), он запрещает работу TRC и VSC.

  7. ДИАГНОСТИКА


    1. Когда ЭБУ системы противоскольжения обнаруживает неисправность в системе управления тормозами (АБС с EBD, усилителем экстренного торможения, TRC, VSC и VSC+), в зависимости от неисправной подсистемы загорается одна или несколько ламп из числа контрольной лампы ABS, контрольной лампы состояния тормозной системы, контрольной лампы VSC OFF и контрольной лампы скольжения SLIP, предупреждая водителя о неисправности.

    2. Одновременно с этим в памяти сохраняются DTC (диагностические коды неисправности).

    3. Система самодиагностики имеет функцию проверки сигналов датчиков (режим активной диагностики).

    4. Более подробную информацию о кодах DTC, сохраняемых в памяти ЭБУ системы противоскольжения, и кодах DTC, выдаваемых при проверке сигналов датчиков, см. в Руководстве по ремонту.