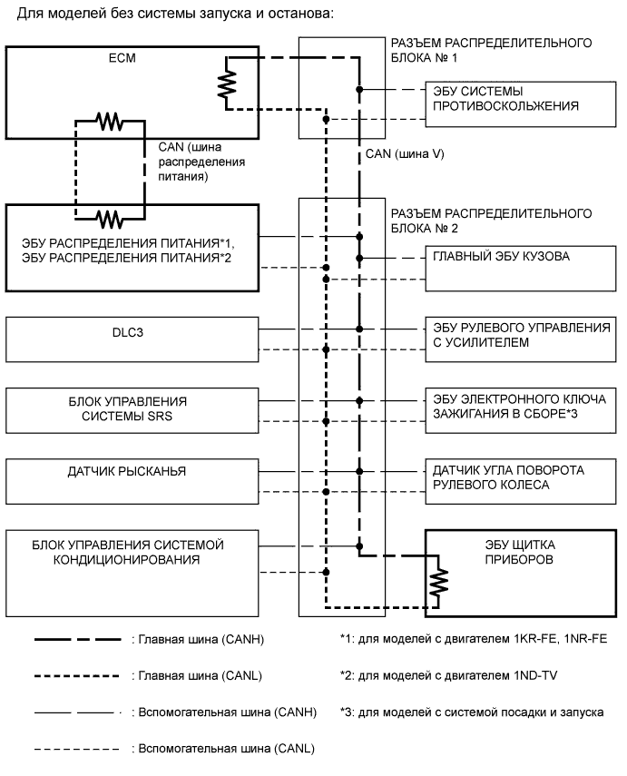
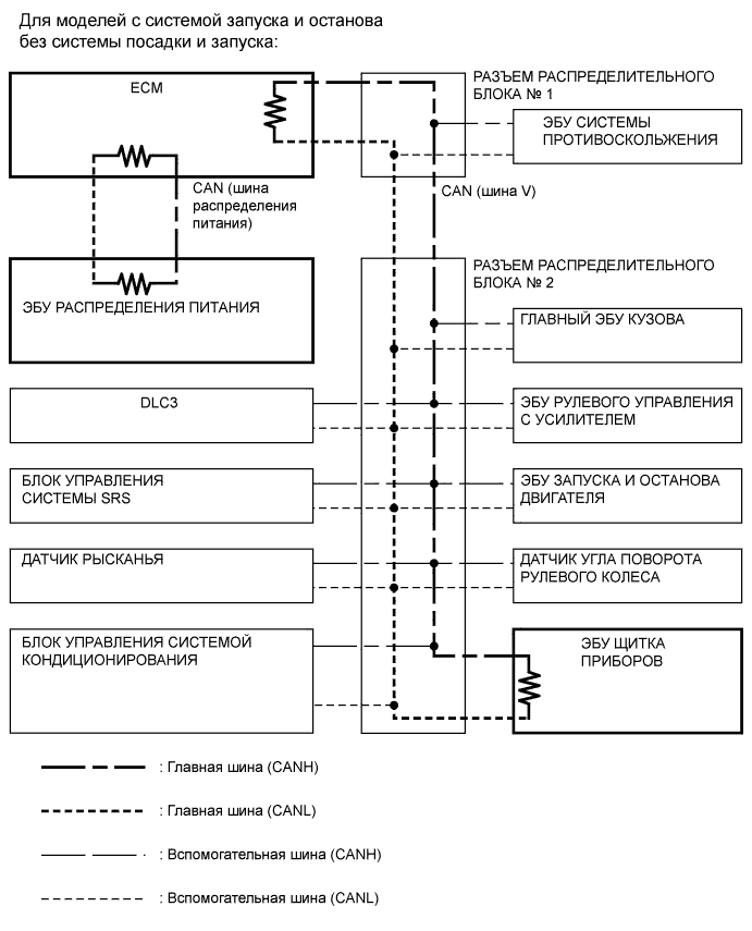
СИСТЕМА ПЕРЕДАЧИ ДАННЫХ CAN СХЕМА СИСТЕМЫ

A0116URE01
A0116MXE01
A0116HHE01