ЗАДНЯЯ ПОДВЕСКА ОБЩИЕ СВЕДЕНИЯ


  1. ОПИСАНИЕ


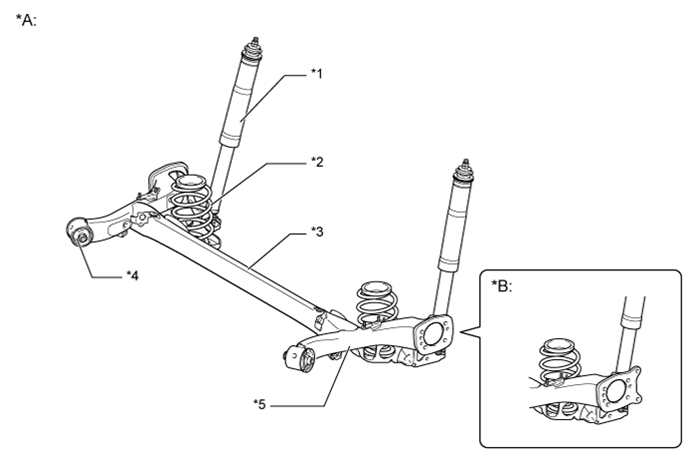
    1. Задняя подвеска представляет собой подвеску торсионного типа, в которой балка моста с U-образным сечением располагается посередине продольного рычага с задней стороны автомобиля.

    2. Чтобы реализовать функцию регулировку схождения, и тем самым обеспечить превосходную курсовую устойчивость и комфорт во время движения, опорная втулка кулака задней подвески устанавливается с наклоном.

    3. Оптимизированное расположение подвески позволило опустить и сделать ровным пол автомобиля, благодаря чему обеспечивается достаточное пространство в багажном отделении.

      A0116NJE03
      Текст на рисунке
      *A Для барабанных тормозов *B Для дисковых тормозов
      *1 Задний амортизатор в сборе *2 Задняя цилиндрическая винтовая пружина
      *3 Балка моста (балка заднего моста в сборе) *4 Опорная втулка кулака задней подвески
      *5 Продольный рычаг (балка заднего моста в сборе) - -
  2. ОСНОВНЫЕ ОСОБЕННОСТИ


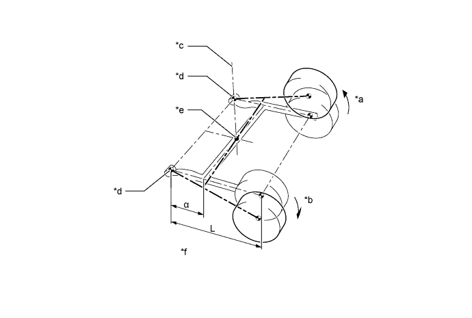
    1. Изменение развала и схождения


      1. В подвеске торсионного типа изменения угла развала и схождения при колебании колес в одинаковых и противоположных фазах различаются, что обеспечивает прекрасную курсовую устойчивость при движении по прямой и на поворотах.

      2. Случай покачивания колес в одинаковых фазах: Аналогично подвеске с полноразмерным продольным рычагом, центром перемещения является ось, соединяющая центры правой и левой втулок в продольных рычагах.

      3. Случай покачивания колес в противоположных фазах: В случае покачивания колес в противоположных фазах или если ход подвески различен для правых и левых колес, балка моста скручивается относительно центра жесткости на изгиб. При этом изменения развала колес в зависимости от хода подвески определяются соотношением расстояния между втулкой в продольном рычаге, центром оси и центром кручения ("α" на рисунке ниже) и расстояния между втулкой в продольном рычаге и центром оси ("L" на рисунке ниже). Соответственно, за счет оптимального расположения балки моста удалось оптимизировать изменения угла развала в зависимости от хода подвески, обеспечив превосходную маневренность.

        A0116E9E11
        Текст на рисунке
        *a Прямой ход *b Обратный ход
        *c Мгновенная ось вращения правой полуоси *d Центр втулки
        *e Центр кручения *f Величина изменения развала α/L
    2. Геометрия, препятствующая подъему задней части кузова


      1. В результате смещения центра тяжести под воздействием инерционных сил во время торможения задняя часть кузова приподнимается. Точка пересечения (OR) обеспечивает формирование тормозного усилия (BF), одна составляющая которого (BF1) действует в направлении точки пересечения (OR), а другая составляющая (BF2) – в направлении точки соприкосновения с поверхностью земли. Под воздействием силы (BF1) высота точки пересечения (OR) может измениться. Когда точка пересечения (OR) располагается высоко, эта сила действует в направлении (-▲W), противоположном направлению колебания нагрузки (W) и, таким образом, ограничивает подъем.

        A0116OVE01
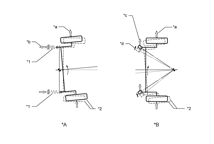
    3. Функция регулировки схождения


      1. Формирующиеся при повороте автомобиля продольные и поперечные силы вызывают деформацию втулок продольных рычагов. При повороте вправо правый продольный рычаг смещается вперед, а левый продольный рычаг – назад, вследствие чего левое колесо стремится к обратному схождению. В этом случае втулки, установленные на продольные рычаги, под влиянием боковых усилий, действующих на них во время поворота, обеспечивают смещение левого продольного рычага в направлении схождения.

        A0116CNE02
        Текст на рисунке
        *A Без функции регулировки схождения *B С функцией регулировки схождения
        *1 Втулка *2 Левое колесо
        *a Боковое усилие *b Продольное усилие
        *c Боковое усилие, действующее на втулку *d Смещение втулки