СИСТЕМА ПРИВОДНЫХ ВАЛОВ ОБЩИЕ СВЕДЕНИЯ


  1. ОПИСАНИЕ


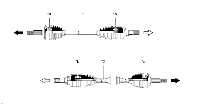
    1. На переднем приводном валу всех моделей со стороны дифференциала устанавливается ШРУС (шарнир равных угловых скоростей) трипод, а со стороны колеса – ШРУС Рцеппа.

    2. В автомобилях с двигателем 1KR-FE и бесступенчатой трансмиссией K41A, а также автомобилях с двигателем 1ND-TV используются невибрирующие ШРУС трипод, снижающие шум при движении автомобиля.

      A0116G4E01
      A0116DHE01
      A0116E0E01
      Обозначения на рисунке (для моделей с1NR-FE):
      *1 Левый передний приводной вал в сборе *2 Правый передний приводной вал в сборе
      *a ШРУС Рцеппа *b ШРУС трипод
      A0116LB Сторона колеса A0116RL Сторона дифференциала
      A0116S4E01