СИСТЕМА СЦЕПЛЕНИЯ ОБЩИЕ СВЕДЕНИЯ


  1. ОПИСАНИЕ


    1. В автомобиле используется сухая однодисковая система сцепления с гидравлическим приводом.

    2. На моделях с механическими трансмиссиями EE53 и EE63 вместо обычного рабочего цилиндра сцепления в системе сцепления применяется коаксиальный рабочий цилиндр (CSC).

    3. Система пуска муфты сцепления обеспечивает безопасность.

      A0116INE01
      Текст на рисунке
      *A Для моделей с двигателем 1KR-FE и механической трансмиссией EE53 *B Для моделей с двигателем 1NR-FE и механической трансмиссией EE63
  2. ТЕХНИЧЕСКИЕ ХАРАКТЕРИСТИКИ

    Для моделей с двигателем 1KR-FE и механической трансмиссией EE53
    Параметр Технические характеристики
    Сцепление Тип Сухое однодисковое сцепление
    Принцип работы Гидравлическая
    Кожух сцепления Тип Механизм разгрузки с диафрагменной пружиной
    Размеры 190 мм (7,48 дюйма)
    Установленная нагрузка 3400 Н
    Ведомый диск сцепления

    Размеры поверхности

    (наружный диаметр x внутренний диаметр)

    190 мм x 132 мм (7,48 дюйма x 5,20 дюйма)
    Главный цилиндр сцепления Тип Для моделей с левосторонним рулевым управлением: плунжерный / для моделей с правосторонним рулевым управлением: обыкновенный
    Диаметр цилиндра 15,87 мм (0,62 дюйма)
    Рабочий цилиндр сцепления Тип Коаксиальный рабочий цилиндр (CSC)
    Площадь цилиндра

    524 мм2(0,81 дюйма2)

    Педаль сцепления Обыкновенная
    Для моделей с двигателем 1NR-FE и механической трансмиссией EE63
    Параметр Технические характеристики
    Сцепление Тип Сухое однодисковое сцепление
    Принцип работы Гидравлическая
    Кожух сцепления Тип Механизм разгрузки с диафрагменной пружиной
    Размеры 212 мм (8,35 дюйма)
    Установленная нагрузка 4900 Н
    Ведомый диск сцепления

    Размеры поверхности

    (наружный диаметр x внутренний диаметр)

    212 мм x 140 мм (8,35 дюйма x 5,51 дюйма)
    Главный цилиндр сцепления Тип Для моделей с левосторонним рулевым управлением: плунжерный / для моделей с правосторонним рулевым управлением: обыкновенный
    Диаметр цилиндра 15,87 мм (0,62 дюйма)
    Рабочий цилиндр сцепления Тип Коаксиальный рабочий цилиндр (CSC)
    Площадь цилиндра

    524 мм2(0,81 дюйма2)

    Педаль сцепления Поворотная
  3. ОСНОВНЫЕ ОСОБЕННОСТИ


    1. Система сцепления типа CSC:


      1. В отличие от обычной системы сцепления в данной системе используется CSC, объединяющий в себе рабочий цилиндр и подшипник выключения сцепления. Данная конструкция обеспечивает непосредственное нажатие диафрагменной пружины кожуха сцепления, вследствие чего не требуются вилка выключения сцепления и опора вилки. За счет этого уменьшается масса, и обеспечивается превосходная чувствительность сцепления.

      2. Прокачной штуцер механизма выключения сцепления отделен от CSC в переднем картере трансмиссии в блоке с главной передачей и установлен на трансмиссии в блоке с главной передачей. Как следствие, обеспечивается возможность обслуживания.

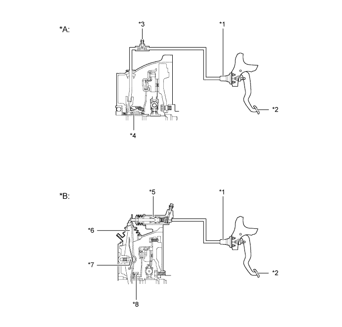
        A0116TKE06
        Текст на рисунке
        *A Система сцепления типа CSC: *B Обычная система сцепления
        *1 Главный цилиндр сцепления *2 Педаль сцепления
        *3 Прокачной штуцер механизма выключения сцепления *4 CSC (рабочий цилиндр сцепления с подшипником в сборе)
        *5 Рабочий цилиндр сцепления *6 Вилка выключения
        *7 Опора вилки *8 Подшипник выключения сцепления

        Note


        • CSC является неразборным.

        • Когда трансмиссия в блоке с главной передачей снимается с двигателя, поршень и уплотнение поршня смещаются в сторону двигателя, из-за чего уплотнение поршня может быть испорчено посторонним материалом на поверхности скольжения. Поэтому в случае снятия трансмиссии в блоке с главной передачей с двигателя должен устанавливаться новый CSC.

        • Болты, крепящие CSC к трансмиссии в блоке с главной передачей, являются уплотнительными. После выворачивания они должны заменяться новыми болтами.

        • Жидкость для сцепления необходимо проверять и заменять в соответствии с графиком проведения TO и руководством по эксплуатации.