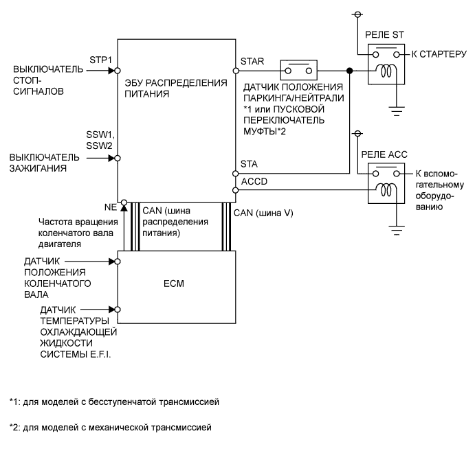
СИСТЕМА ЗАПУСКА СХЕМА СИСТЕМЫ

A0116U2E01