СИСТЕМА ВЫПУСКА ОТРАБОТАВШИХ ГАЗОВ ДЕТАЛЬНОЕ ОПИСАНИЕ


  1. CONSTRUCTION


    1. Exhaust Manifold


      1. A stainless steel exhaust manifold and exhaust manifold converter are used.

      2. The exhaust manifold converter consists of two oxidation catalytic converters.

        A0116CTE01
        Text in illustration
        *1 Exhaust Manifold *2 Exhaust Manifold Converter (Exhaust Manifold Converter Sub-assembly)
        *3 Oxidation Catalytic Converter - -
    2. Exhaust Pipe


      1. The construction of the muffler has been optimized to create a main muffler that is compact and lightweight.

      2. Ball joints are used to join the exhaust manifold converter sub-assembly to the exhaust pipe assembly tail. As a result, a simple construction and high reliability have been realized.

      3. In addition to implementation of the long tail pipe structure, the muffler has been placed in the middle of the exhaust system, reducing the muffler capacity while retaining the quietness.

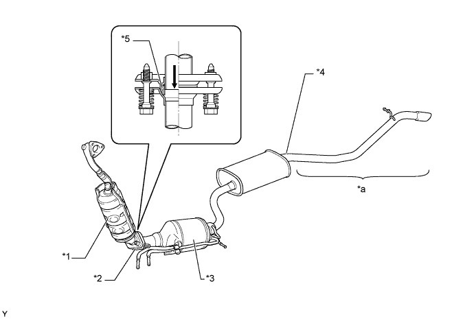
        A0116G3E01
        Text in Illustration
        *1 Exhaust Manifold Converter *2 Ball Joint
        *3 DPF Catalytic Converter *4 Exhaust Pipe Assembly Tail
        *5 Gasket - -
        *a Long Tail Pipe Structure - -
        A0116LB Exhaust Gas - -