СИСТЕМА ВЫПУСКА ОТРАБОТАВШИХ ГАЗОВ ДЕТАЛЬНОЕ ОПИСАНИЕ


  1. CONSTRUCTION


    1. Exhaust Manifold


      1. Stainless steel exhaust manifold with integrated ceramic type TWC (Three-Way Catalytic Converter) is used for warming up the TWC, reducing weight, and resisting rust.

      2. The cooling holes have been provided on the heat insulator to cool down the exhaust manifold surface temperature, improving the durability.

        A0116ONE01
        Text in Illustration
        *1 Heat Insulator (Exhaust Manifold Heat Insulator No. 1) *2 Air Fuel Ratio Sensor
        *3 Exhaust Manifold To Head Gasket *4 EGR Inlet Gasket
        *5 EGR Pipe *6 Heat Insulator
        *7 Cooling Hole - -
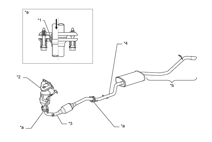
    2. Exhaust Pipe


      1. The exhaust pipe is made of stainless steel to reduce their weight and improve rust resistance.

      2. Ball joints are used to join the exhaust manifold to the front exhaust pipe assembly, and the front exhaust pipe assembly to the tailpipe. As a result, a simple construction and high reliability have been realized.

      3. In addition to implementation of the long tail pipe structure, the muffler has been placed in the middle of the exhaust system, reducing the muffler capacity while retaining the quietness.

        A0116DGE01
        Text in Illustration
        *1 Gasket *2 Exhaust Manifold
        *3 Front Exhaust Pipe Assembly *4 Exhaust Tail Pipe Assembly
        *a Ball Joint Portion *b Long Tail Pipe Structure
        A0116LB Exhaust Gas - -