СИСТЕМА СНИЖЕНИЯ ТОКСИЧНОСТИ ОТРАБОТАВШИХ ГАЗОВ ДЕТАЛЬНОЕ ОПИСАНИЕ


  1. НАЗНАЧЕНИЕ ОСНОВНЫХ УСТРОЙСТВ


    1. В следующей таблице перечислены основные узлы и детали системы снижения токсичности отработавших газов двигателя 1NR-FE.

      Устройство Функция
      TWC Трехкомпонентные каталитические нейтрализаторы (TWC) снижают токсичность отработавших газов путем окисления CO и CH, а также снижения содержания NOx, в отработавших газах.
      Кислородный датчик Сигнал датчика состава топливовоздушной смеси резко изменяется между уровнями обедненного и обогащенного состояний при стехиометрическом соотношении воздух-топливо.
      Датчик состава топливовоздушной смеси Определяет концентрацию оставшегося кислорода в отработавших газах. Его выходной сигнал пропорционален соотношению воздух-топливо двигателя.
      Датчик разрежения E.F.I. Содержит полупроводниковые элементы для определения давления во впускном коллекторе.
      ECM
      • Регулирует объем потребляемого топлива в основном по сигналу датчика состава топливовоздушной смеси с небольшими поправками по сигналу кислородного датчика. Эта система оптимизирует соотношение воздух-топливо.

      • Регулирует объем РОГ в соответствии с сигналами различных датчиков.

      Клапан РОГ Открывается и закрывается в соответствии с сигналами от ECM и регулирует расход отработавших газов в перепускном канале РОГ.
      Клапан принудительной вентиляции картера Открывает и закрывает клапан за счет разрежения, создаваемого во впускном коллекторе, и регулирует расход картерных газов.
      Электровакуумный клапан продувки Открывает и закрывает клапан в соответствии с сигналом от ECM и регулирует расход топливных испарений.
  2. УПРАВЛЕНИЕ В СИСТЕМЕ


    1. Управление рециркуляцией отработавших газов


      1. В данной системе небольшое количество инертного газа подается во впускной канал, что уменьшает максимальную температуру в камере сгорания двигателя.

      2. Определяя режим работы двигателя и фактическую степень открывания клапана РОГ, ECM управляет клапаном РОГ и электродвигателем привода дроссельной заслонки, и, таким образом, регулирует количество отработавших газов.

      3. Клапан РОГ регулирует расход отработавших газов через головку блока цилиндров в сборе и возвращает газы во впускной коллектор.

        A0116CVE01
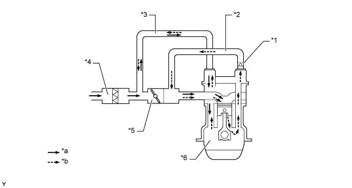
    2. Система вентиляции картерных газов


      1. За счет подачи картерных газов с большим содержанием CH на впуск воздуха и последующего их сжигания система уменьшает токсичность отработавших газов. Объем возвращаемых картерных газов регулируется в соответствии с режимом двигателя, что уменьшает количество уносимого моторного масла и частоту вращения коленчатого вала на холостом ходу.

      2. Через канал клапана PCV (система принудительной вентиляции картера) картерные газы возвращаются в зону после дроссельной заслонки в соответствии с разрежением во впускном коллекторе.

      3. При малой нагрузке канал между крышкой головки блока цилиндров и зоной перед дроссельной заслонкой повышает чистоту воздуха в картере за счет введения свежего воздуха, а при высокой нагрузке этот канал обеспечивает циркуляцию картерных газов вместе с каналом со стороны клапана PCV вследствие разрежения во впускном коллекторе.

      4. Маслоотделитель, расположенный в крышке головки блока цилиндров в сборе, позволяет сделать двигатель более компактным.

        A0116R9E01
        Обозначения на рисунке
        *1 Клапан принудительной вентиляции картера *2 Шланг вентиляции картера № 1
        *3 Шланг вентиляции картера № 2 *4 Корпус воздушного фильтра
        *5 Корпус дроссельной заслонки *6 Картер
        *a Наружный воздух *b Картерные газы
  3. КОНСТРУКЦИЯ


    1. TWC (трехкомпонентный каталитический нейтрализатор)


      1. В выпускном коллекторе и приемной трубе в сборе установлены TWC.

      2. Прогрев TWC обеспечивает выпускной коллектор со встроенным TWC.

      3. Этот TWC позволяет снижать токсичность отработавших газов за счет оптимизации плотности ячеек и толщины стенок.

        A0116I4E01
        Обозначения на рисунке
        *1 TWC - -
    2. Клапан РОГ


      1. Канал рециркуляции отработавших газов располагается в головке блока цилиндров, что обеспечивает компактность конструкции двигателя и улучшение эффективности охлаждения рециркулирующих отработавших газов.

      2. Клапан РОГ с шаговым электродвигателем точно регулирует расход рециркулирующих отработавших газов.

        A0116RYE01
        Обозначения на рисунке
        *1 Клапан РОГ *2 Труба РОГ
        *a От головки блока цилиндров *b К впускному коллектору
        *c Рециркулирующие отработавшие газы - -
    3. Датчик разрежения


      1. Датчик разрежения E.F.I. измеряет давление во впускном коллекторе в целях регулирования РОГ.

      2. Датчик разрежения E.F.I. содержит кремниевый кристалл, действие которого основано на изменении электрического сопротивления при подаче давления. Датчик преобразует давление в электрический сигнал, усиливает этот сигнал и передает в ECM.

        A0116GME01