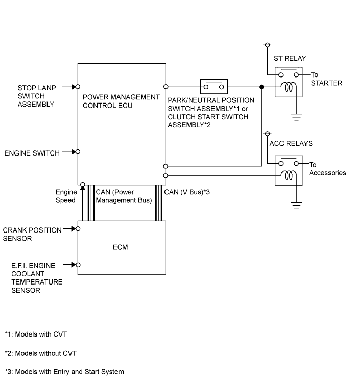
СИСТЕМА ЗАПУСКА СХЕМА СИСТЕМЫ

A0116HOE01