БЛОК ДВИГАТЕЛЯ ДЕТАЛЬНОЕ ОПИСАНИЕ


  1. КОНСТРУКЦИЯ


    1. Крышка головки блока цилиндров


      1. Для снижения массы крышка головки блока цилиндров изготавливается из пластмассы.

      2. Внутрь крышки головки блока цилиндров установлена маслоподводящая трубка. Это обеспечивает смазывание скользящих деталей роликовых рычагов привода клапанов и, тем самым, повышает надежность.

        A0116HWE01
        Обозначения на рисунке
        *1 Крышка головки блока цилиндров *2 Маслоподводящая трубка
    2. Головка блока цилиндров


      1. Конструкция головки блока цилиндров упрощена за счет разделения кожуха распредвала (шейки распредвала) и головки блока цилиндров.

      2. Головка блока цилиндров изготовлена из алюминия и снабжена шатровой камерой сгорания. Свеча зажигания располагается в центре камеры сгорания, в результате чего обеспечивается улучшение детонационной характеристики двигателя.

      3. Угол между впускными и выпускными клапанами уменьшен и составляет 23,3°. Благодаря этому головка блока цилиндров стала более компактной.

      4. Применение свечей зажигания с тонким электродом и диаметром резьбы 12 мм (0,47 дюйма) позволило увеличить диаметры впускных и выпускных клапанов. Как следствие, повышена эффективность системы впуска и выпуска.

      5. Для улучшения детонационной характеристики и повышения эффективности впуска используется камера сгорания с конической зоной завихрения. Кроме того, за счет этого улучшаются рабочие характеристики двигателя, и повышается экономия топлива.

        A0116P7E01
        Обозначения на рисунке
        *1 Кожух распредвала *2 Головка блока цилиндров
        *a 23,3° *b Коническая зона завихрения
      6. С целью снижения общей площади поверхности стенок впускных каналов используются объединенные впускные каналы с общей стенкой. Благодаря этому предотвращается прилипание топлива к стенкам впускных каналов, и, как следствие, снижается токсичность отработавших газов CH.

        A0116MGE02
        Обозначения на рисунке
        *a Объединенные каналы с общей стенкой *b Независимые каналы
    3. Блок цилиндров в сборе


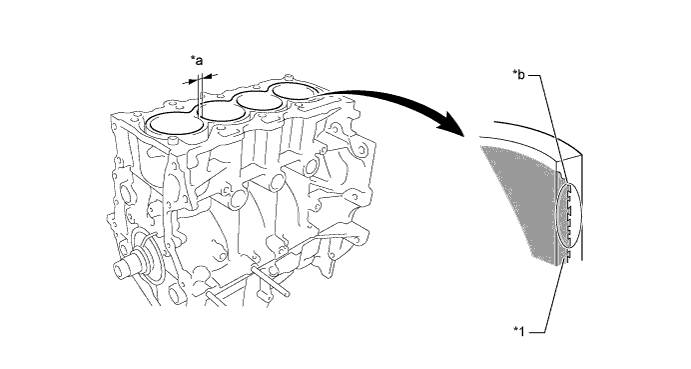
      1. Применен компактный облегченный алюминиевый блок цилиндров с расстоянием 7 мм (0,28 дюйма) между отверстиями цилиндров.

      2. Чтобы улучшить сцепление гильз с алюминиевым блоком цилиндров, применяются шероховатые гильзы, наружные поверхности которых имеют неровную структуру. Улучшенное сцепление обеспечивает повышение теплопередачи, в результате чего снижается общая температура, и ослабляется тепловая деформация отверстий цилиндров. Расточка такого блока цилиндров невозможна.

        A0116K8E02
        Обозначения на рисунке
        *1 Шероховатая гильза - -
        *a 7 мм (0,28 дюйма) *b Шероховатая наружная поверхность литой гильзы
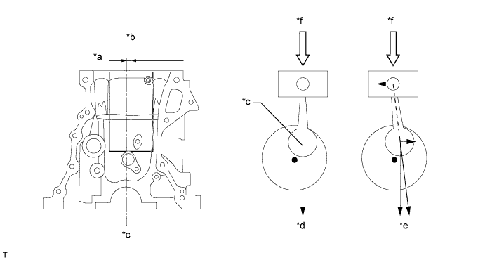
      3. Вследствие использования смещенного коленчатого вала центры отверстий цилиндров смещены на 8 мм (0,31 дюйма) в направлении выпуска по отношению к оси коленчатого вала. За счет этого уменьшается боковое усилие, действующее на стенки цилиндров при максимальном давлении сгорания. Как следствие, снижается расход топлива.

        A0116QFE02
        Обозначения на рисунке
        *a 8 мм (0,31 дюйма) *b Осевая линия отверстия
        *c Осевая линия коленчатого вала *d Смещенный коленчатый вал
        *e Несмещенный коленчатый вал *f Максимальное давление
      4. В водяной рубашке блока цилиндров используется распорная деталь водяной рубашки.

      5. Распорная деталь водяной рубашки блокирует поток охлаждающей жидкости в центре водяных рубашек, направляя жидкость выше и ниже отверстий цилиндров, и обеспечивает равномерное распределение температуры. Это позволяет снизить вязкость моторного масла, которое выполняет функцию смазки между стенками отверстий и поршнями, и, тем самым, уменьшить трение.

        A0116THE02
        Обозначения на рисунке
        *1 Распорная деталь водяной рубашки *2 Блок цилиндров в сборе
        *a Передняя часть двигателя - -
    4. Поршень


      1. Поршни изготавливаются из алюминиевого сплава, придающего им легкость и компактность.

      2. Головка блока цилиндров имеет коническую завихряющую форму, обеспечивающую эффективное сгорание топлива.

      3. Используются наполовину плавающие поршневые пальцы.

      4. Для снижения трения и уменьшения расхода топлива применяются поршневые кольца низкого напряжения.

      5. Для снижения трения и массы конструкции применяются узкие поршневые кольца.

      6. Компрессионное кольцо № 1 со скосом на внутренней поверхности обеспечивает снижение количества картерных газов.

      7. Поверхности маслосъемного кольца и компрессионного кольца № 1 имеют покрытие, нанесенное осаждением из паров, что улучшает их износостойкость.

      8. Для снижения потерь от трения юбка поршня имеет пластмассовое покрытие.

        A0116FAE02
        Обозначения на рисунке
        *1 Компрессионное кольцо № 1 *2 Компрессионное кольцо № 2
        *3 Маслосъемное кольцо - -
        *a Полимерное покрытие *b Коническая завихряющая форма
        *c Покрытие, нанесенное осаждением из паров - -
    5. Шатун и подшипник шатуна


      1. Для снижения массы шатуны изготавливаются из высокопрочной стали.

      2. Используемые для крепления удлиняющиеся при затяжке стягивающие болты дополнительно облегчают конструкцию

      3. Для уменьшения трения оптимизирована ширина подшипников шатунов.

      4. Благодаря микроканавкам на поверхности вкладыша подшипника шатуна достигается оптимальный масляный зазор. Как следствие, облегчается запуск холодного двигателя, и ослабляются вибрации двигателя.

        A0116V8E01
        Обозначения на рисунке
        *1 Удлиняющийся при затяжке стягивающий болт *2 Шатун
        *3 Подшипник шатуна - -
        *a Микроканавки - -
    6. Коленчатый вал и подшипник коленчатого вала


      1. Коленчатый вал имеет 5 коренных шеек и 4 противовесов.

      2. За счет повышения точности механической обработки коренных и шатунных шеек коленчатого вала минимизируется шероховатость поверхностей, и снижается трение.

        A0116QUE01
        Обозначения на рисунке
        *1 Смазочное отверстие *2 Противовес
        *3 Шейка № 1 *4 Шейка № 5
      3. Ширина подшипников коленчатого вала оптимизирована для снижения трения.

      4. Благодаря микроканавкам на поверхности вкладыша подшипника коленчатого вала достигается оптимальный масляный зазор. Как следствие, облегчается запуск холодного двигателя, и ослабляются вибрации двигателя.

      5. На каждом верхнем коренном подшипнике (подшипнике коленчатого вала) предусмотрена смазочная канавка. Смазочная канавка имеет большую глубину в центре и меньшую по краям, что уменьшает количество масла, вытекающего из подшипника коленчатого вала. В результате сокращаются размеры масляного насоса, и минимизируется трение.

        A0116GPE03
        Обозначения на рисунке
        *1

        Верхний подшипник коленчатого вала

        (подшипник коленчатого вала)

        *2

        Нижний подшипник коленчатого вала

        (подшипник коленчатого вала)

        *a Микроканавки *b Глубина смазочной канавки
        *c По центру *d Край
    7. Клапанный механизм


      1. За счет увеличения суммарной площади каналов повышена эффективность впуска и выпуска.

      2. В клапанном механизме используются роликовые рычаги привода клапанов со встроенными игольчатыми подшипниками. Это позволяет снизить трение, возникающее между кулачками и поверхностями роликовых рычагов привода, которые выталкивают клапаны вниз, и, тем самым, повысить экономию топлива.

      3. Благодаря применению гидравлических механизмов регулировки зазора в приводах клапанов постоянно поддерживается нулевой зазор за счет использования давления масла и упругой силы.

      4. Распредвалы впускных и выпускных клапанов приводятся в движение цепным приводом газораспределительного механизма.

      5. В данном двигателе используется двойная система VVT-i (электронная система изменения фаз газораспределения), которая управляет распредвалами впускных и выпускных клапанов, оптимизируя фазы газораспределения в соответствии с условиями вождения. Благодаря этому снижаются расход топлива и токсичность отработавших газов, а также улучшаются рабочие характеристики двигателя.

        A0116Q2E01
        Обозначения на рисунке
        *1 Контроллер VVT-i выпускных клапанов (зубчатое колесо распредвала выпускных клапанов в сборе) *2 Успокоитель цепи № 2
        *3 Контроллер VVT-i впускных клапанов (зубчатое колесо распредвала в сборе) *4 Натяжитель цепи
        *5 Башмак цепи *6 Успокоитель цепи № 1
        *7 Впускной клапан *8 Выпускной клапан
        *9 Клапан *10 Гидравлический механизм регулировки зазора в приводе клапана
        *11 Роликовый рычаг (коромысло) привода клапана *12 Распредвал выпускных клапанов (распредвал № 2)
        *13 Распредвал впускных клапанов (распредвал) - -
    8. Распредвал


      1. Чтобы обеспечить подачу моторного масла в двойную систему VVT-i, в распредвалах предусмотрены каналы для масла.

      2. Для изменения моментов открывания и закрывания впускных и выпускных клапанов перед каждым распредвалом установлен контроллер VVT-i.

      3. В задней части каждого распредвала впускных и выпускных клапанов имеется задающий ротор для датчика положения распредвала.

        A0116M8E01
        Обозначения на рисунке
        *1 Распредвал впускных клапанов (распредвал) *2

        Контроллер VVT-i впускных клапанов

        (зубчатое колесо распредвала в сборе)

        *3

        Контроллер VVT-i выпускных клапанов

        (зубчатое колесо распредвала выпускных клапанов в сборе)

        *4 Распредвал выпускных клапанов (распредвал № 2)
        *5 Задающий ротор *6 Канал для масла
    9. Контроллер VVT-i


      1. Каждый контроллер VVT-i состоит из корпуса, приводимого в движение цепным приводом газораспределительного механизма, и направляющего элемента, соединенного с распредвалом впускных или выпускных клапанов.

      2. Как со стороны впуска, так и со стороны выпуска используется 4-лопастный направляющий элемент.

      3. Давление масла, поступающего из канала опережения или канала запаздывания распредвалов впускных и выпускных клапанов, заставляет вращаться по окружности направляющий элемент зубчатого колеса распредвала в сборе, вследствие чего непрерывно изменяются фазы газораспределения впускных и выпускных клапанов.

      4. Когда двигатель останавливается, стопорный штифт фиксирует распредвал впускных клапанов в положении наибольшего запаздывания, а распредвал выпускных клапанов – в положении наибольшего опережения, гарантируя надлежащий запуск двигателя.

      5. Зубчатое колесо распредвала выпускных клапанов снабжено вспомогательной пружиной центробежного регулятора опережения. Когда двигатель останавливается, эта пружина создает крутящий момент в направлении опережения, тем самым обеспечивая вхождение в зацепление стопорного штифта.

        A0116OME01
        Обозначения на рисунке (контроллер VVT-i впускных клапанов):
        *1 Корпус *2 Направляющий элемент (закреплен на распредвале впускных клапанов)
        *3 Распредвал впускных клапанов (распредвал) *4 Стопорный штифт
        *a Давление масла *b Двигатель остановлен
        *c Двигатель работает - -
        A0116KSE02
        Обозначения на рисунке (контроллер VVT-i выпускных клапанов):
        *1 Корпус *2 Стопорный штифт
        *3 Звездочка *4 Распредвал выпускных клапанов (распредвал № 2)
        *5 Вспомогательная пружина центробежного регулятора опережения *6 Направляющий элемент (закреплен на распредвале выпускных клапанов)
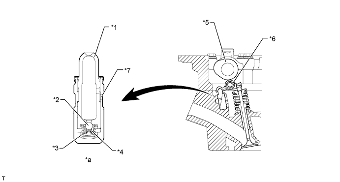
    10. Гидравлический механизм регулировки зазора в приводе клапана


      1. В центре вращения каждого роликового рычага привода клапана располагается гидравлический механизм регулировки зазора в приводе клапана. Гидравлический механизм регулировки зазора в приводе клапана состоит, прежде всего, из плунжера, пружины плунжера, запорного шарика и пружины запорного шарика.

      2. Гидравлический механизм регулировки зазора в приводе клапана приводится в действие моторным маслом, пружиной плунжера и пружиной запорного шарика. Давление масла и сила пружины, действующая на плунжер, прижимают роликовый рычаг привода клапана к кулачку, регулируя зазор в механизме привода клапанов. Это позволяет ослабить шум двигателя, создаваемый во время открывания и закрывания клапана.

        A0116UGE01
        Обозначения на рисунке
        *1 Плунжер *2 Запорный шарик
        *3 Пружина плунжера *4 Пружина запорного шарика
        *5 Кулачок *6 Роликовый рычаг (коромысло) привода клапана
        *7 Канал для масла - -
        *a Гидравлический механизм регулировки зазора в приводе клапана - -

        Tech Tips

        В связи с применением гидравлических механизмов регулировки зазора регулировать зазоры в приводе клапанов не требуется.

    11. Цепной привод газораспределительного механизма и натяжитель цепи


      1. Применение цепи привода газораспределительного механизма с шагом 8 мм (0,31 дюйма) позволило сделать двигатель более компактным.

      2. Для непрерывного поддержания требуемого натяжения цепи натяжитель цепи использует пружину и давление масла.

      3. При этом натяжитель цепи ослабляет шум, создаваемый цепным приводом газораспределительного механизма.

      4. Натяжитель цепи представляет собой невозвратный храповой механизм.

        A0116UAE01
        Обозначения на рисунке
        *1 Успокоитель цепи № 2 *2 Натяжитель цепи
        *3 Башмак натяжителя цепи *4 Ведущая звездочка цепи ГРМ на коленчатом валу
        *5 Успокоитель цепи № 1 *6 Цепной привод газораспределительного механизма
    12. Поликлиновой ремень


      1. Узлы вспомогательного оборудования приводятся в движение 2 поликлиновыми ремнями.

      2. Благодаря автоматическому регулятору натяжения не требуется регулировать натяжение ремня.

        A0116F8E01
        Обозначения на рисунке
        *1 Поликлиновой ремень вентилятора и генератора *2 Автоматический регулятор натяжения (натяжитель поликлинового ремня в сборе)
        *3 Поликлиновой ремень № 1 (между компрессором системы кондиционирования и шкивом коленчатого вала) *4 Шкив компрессора системы кондиционирования (для моделей с автоматическим кондиционером)
        *5 Шкив коленчатого вала *6 Шкив насоса системы охлаждения
        *7 Шкив генератора - -