БЛОК ДВИГАТЕЛЯ ДЕТАЛЬНОЕ ОПИСАНИЕ


  1. CONSTRUCTION


    1. Cylinder Head


      1. The cylinder head is made of aluminum alloy.

      2. The intake manifold is integrated the cylinder head to realize compact design.

      3. The injector is located near the center of the combustion chamber to promote the mixture of fuel and air.

      4. A water jacket consists of the 2-stage construction to realize excellent cooling performance.

        A0116RPE01
    2. Cylinder Block


      1. The cylinder block is made of aluminum die-cast.

      2. A compact block has been achieved by producing the thin cast-iron liners and cylinder block as a unit. Do not bore the block with this liner.

      3. The liners are the spiny-type, which have been manufactured so that their casting exterior forms a large irregular surface in order to enhance the adhesion between the liners and the aluminum cylinder block. The enhanced adhesion helps improve heat dissipation, resulting in a lower overall temperature and heat deformation of the cylinder bores.

      4. Cylinder block water jacket spacers are used in the water jackets of the cylinder block sub-assembly. They suppress the water flow in the center of the water jackets, guide the coolant above and below the cylinder bores, and ensure uniform temperature distribution. As a result, the viscosity of the engine oil that acts as a lubricant between the bore walls and the pistons can be lowered, thus reducing friction.

        A0116F1E01
    3. Oil Pan


      1. The oil pan is made of aluminum die-cast.

        A0116L3E01
    4. Piston


      1. The pistons are made of aluminum alloy.

      2. The combustion chamber is provided on the piston for direct injection.

      3. A cooling channel is provided to realize excellent piston cooling performance.

      4. A cast iron ring carrier is used to realize excellent wear resistance.

      5. The piston skirt is coated with resin to reduce friction.

      6. Full floating type piston pins are used.

        A0116JRE01
    5. Connecting Rod


      1. The connecting rods and caps are made of high strength steel for weight reduction.

        A0116FVE01
    6. Crankshaft


      1. The crankshaft has 5 journals and 4 balance weights.

      2. The crankshaft is made of forged steel.

        A0116KPE01
        Text in illustration
        *1 No.1 Journal *2 Balance Weight
        *3 Oil Hole *4 No.5 Journal
    7. Crankshaft Pulley


      1. The crankshaft pulley hub is made of cast-iron.

      2. The Ethylene Propylene Diene Rubber (EPDM) material is used to the torsional damper rubber to realize high durability and reliability.

        A0116F0E01
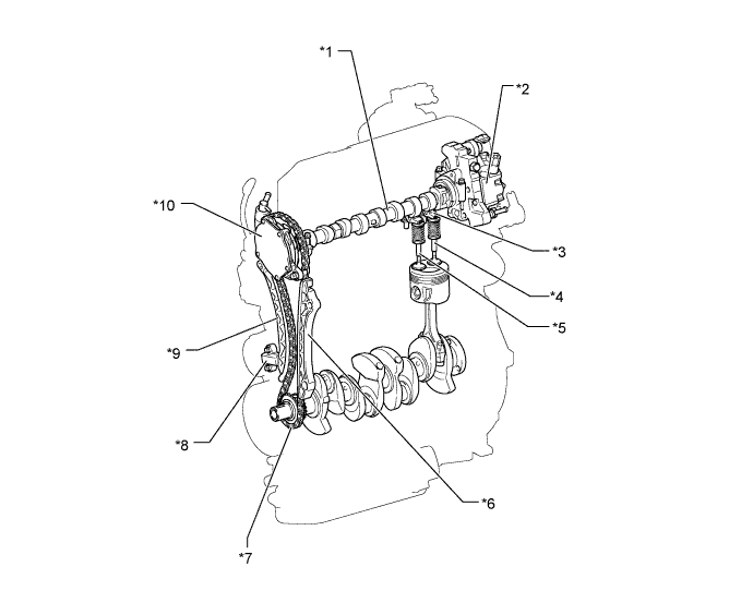
    8. Valve Mechanism


      1. The camshaft is driven by a timing chain. The camshaft drives the vacuum pump and supply pump in order to reduce the number of parts and realize a lightweight and compact design.

      2. The intake and exhaust valves are opened and closed via the rocker arms.

      3. The rocker arm consists of the rocker arm and roller.

        A0116UUE01
        Text in illustration
        *1 Camshaft *2 Supply Pump (Injection or Supply Pump Assembly)
        *3 Rocker Arm (No. 1 Valve Rocker Arm Sub-assembly) *4 Exhaust Valve
        *5 Intake Valve *6 Chain Vibration Damper (No. 1 Chain Vibration Damper)
        *7 Timing Chain (Chain Sub-assembly) *8 Chain Tensioner (No. 1 Chain Tensioner Assembly)
        *9 Chain Tensioner Slipper *10 Vacuum Pump (Vacuum Pump Assembly)
    9. Camshaft


      1. The camshaft is made of cast iron.

      2. The hollow type camshaft is used to realize lightweight.

      3. The cam nose is hardened by induction heating to realize excellent durability.

      4. A rib, by which the cam position sensor detects the camshaft position, is provided on the camshaft.

      5. Oil holes are provided in the camshaft in order to supply engine oil to the rocker arm.

        A0116HDE01
    10. Rocker Arm and Valve


      1. The rocker arm mechanism consists of the rocker arm, roller and adjusting screw.

      2. Narrow valve stems are used to realize lightweight.

        A0116O9E01
        Text in illustration
        *1 Adjusting Screw *2 Roller
        *3 Rocker Arm (No. 1 Valve Rocker Arm Sub-assembly) - -
    11. Timing Chain and Chain Tensioner


      1. A bushed chain with 9.525 mm (0.375 in.) pitch is used to realize lightweight and maintenance-free operation.

      2. An oil jet lubricates the timing chain.

      3. The chain tensioner uses a spring and oil pressure to maintain proper chain tension at all times.

      4. The chain tensioner suppresses noise generated by the chain.

        A0116RIE01
        Text in illustration
        *1 Timing Chain (Chain Sub-assembly) *2 Chain Vibration Damper
        *3 Chain Tensioner Slipper *4 Chain Tensioner (No. 1 Chain Tensioner Assembly)
        *5 Plunger *6 Main Spring