СИСТЕМА SFI ДЕТАЛЬНОЕ ОПИСАНИЕ


  1. НАЗНАЧЕНИЕ ОСНОВНЫХ УСТРОЙСТВ


    1. Таблица управления системой


      1. В следующей таблице перечислены основные узлы и детали системы управления двигателем 1NR-FE.

        Узлы и детали Описание Количество Функция
        ECM 32-разрядный главный процессор 1 Блок управления двигателем оптимальным образом управляет системами SFI, ESA и ETCS-i в соответствии с режимом работы двигателя и исходя из сигналов, поступающих от датчиков.
        Датчик положения коленчатого вала (зубчатое колесо) MRE (магнитный резистивный элемент) (36 - 2) 1 Этот датчик определяет частоту вращения коленчатого вала двигателя и выполняет идентификацию цилиндра.
        Датчик распредвала (зубчатое колесо) MRE (магнитный резистивный элемент) (3) 2 Этот датчик выполняет идентификацию цилиндра.
        Датчик детонации Со встроенным пьезоэлементом (плоский) 1 Этот датчик косвенно, по вибрации блока цилиндров, вызванной детонацией двигателя, регистрирует появление стука в двигателе.
        Датчик массового расхода воздуха С нагреваемым проволочным элементом 1 Внутри этого датчика есть проволочный элемент, который непосредственно определяет массу воздуха на впуске.
        Датчик разрежения E.F.I. С полупроводниковым кремниевым кристаллом 1 Этот датчик использует встроенные полупроводниковые элементы для определения давления во впускном коллекторе.
        Датчик положения дроссельной заслонки Бесконтактного типа 1 Этот датчик определяет угол поворота дроссельной заслонки.
        Кислородный датчик Чашечный с подогревателем 1 Этот датчик определяет концентрацию кислорода в отработавших газах, измеряя ЭДС на своих контактах.
        Датчик состава топливовоздушной смеси Планарный с подогревателем 1 Как и кислородный датчик, этот датчик определяет концентрацию кислорода в отработавших газах. Однако измерение концентрации кислорода в этом датчике осуществляется линейно.
        Датчик положения педали акселератора Бесконтактного типа 1 Этот датчик определяет усилие на педали акселератора.
        Топливная форсунка 8-струйная 4 Топливная форсунка представляет собой сопло с электромагнитным клапаном, через которое производится впрыск топлива в соответствии с сигналами от ECM.
        Датчик температуры охлаждающей жидкости E.F.I. Термисторный 1 Этот датчик с помощью внутреннего термистора измеряет температуру охлаждающей жидкости.
  2. УПРАВЛЕНИЕ В СИСТЕМЕ


    1. Таблица управления системой


      1. В состав системы управления двигателем 1NR-FE входят следующие системы.

        Устройства Назначение
        SFI (система последовательного распределенного впрыска топлива) Система SFI L-типа определяет объем воздуха на впуске посредством датчика массового расхода воздуха с проволочным элементом. Система впрыска топлива представляет собой последовательную распределенную систему впрыска.
        ESA (электронная система регулирования угла опережения зажигания) ECM выбирает оптимальный угол опережения зажигания в соответствии с сигналами, поступившими от датчиков, и передает сигнал зажигания (IGT) в усилитель зажигания. ECM корректирует угол опережения зажигания в зависимости от детонации двигателя.
        ETCS-i (интеллектуальная электронная система управления дроссельной заслонкой) Оптимальным образом регулирует угол поворота дроссельной заслонки в соответствии с усилием на педали акселератора, командой открывания дроссельной заслонки от ECM и состоянием двигателя и автомобиля.
        Двойная система VVT-i (электронная система изменения фаз газораспределения) Управляет распредвалами впускных и выпускных клапанов с целью оптимизации фаз газораспределения в соответствии с режимом работы двигателя.
        Система управления топливным насосом Управление топливным насосом осуществляется сигналами, передаваемыми ECM. При развертывании подушек безопасности SRS топливный насос отключается.
        Управление вентилятором системы охлаждения Управление вентилятором системы охлаждения осуществляется с помощью сигналов, которые передает ECM, исходя из сигнала датчика температуры охлаждающей жидкости (E.F.I.).
        Система управления подогревателями кислородных датчиков и датчиков состава топливовоздушной смеси Обеспечивает поддержание требуемых температур кислородных датчиков и датчиков состава топливовоздушной смеси, что позволяет повысить точность определения концентрации кислорода в отработавших газах.
        Система управления отключением кондиционера*1 Благодаря включению и выключению компрессора системы кондиционирования в зависимости от режима работы двигателя поддерживается управляемость автомобиля.

        Система управления стартером (функция полуавтоматического запуска двигателя)*2 (см. стр. Click here)

        Эта функция приводится в действие при нажатии выключателя зажигания и управляет стартером до запуска двигателя.

        Система управления впрыском на начальной стадии*3 (см. стр. Click here)

        ECM рассчитывает соответствующие параметры впрыска и зажигания на начальной стадии. Результаты вычислений используются ECM, когда двигатель останавливается под управлением системы запуска и останова.

        Управление зарядкой (см. стр. Click here)

        ЭБУ распределения питания снижает вырабатываемое напряжение при движении автомобиля с постоянной скоростью или на холостом ходу и повышает при замедлении автомобиля. Благодаря этому уменьшается нагрузка на двигатель, что способствует экономии топлива.
        Иммобилайзер двигателя Блокирует подачу топлива и зажигание при попытке запустить двигатель с использованием ненадлежащего ключа зажигания.

        • *1: для моделей с системой кондиционирования

        • *2: для моделей с системой посадки и запуска

        • *3: Для моделей с системой запуска и останова

    2. Двойная система VVT-i (электронная система изменения фаз газораспределения)


      1. Двойная система VVT-i предназначена для управления распредвалами впускных и выпускных клапанов в диапазонах 40° и 45° (угла поворота коленчатого вала), соответственно, с целью оптимизации фаз газораспределения согласно режиму работы двигателя. Система позволяет увеличить крутящий момент во всех диапазонах частоты вращения, повысить экономию топлива и уменьшить токсичность отработавших газов.

        A0116IIE02
        A0116LUE01
      2. Система VVT-i обеспечивает преимущества в различных режимах работы автомобиля, как показано в следующей таблице.

        Режим работы Цель Результат
        На холостом ходу A0116D5E01 Исключение перекрытия для снижения прорыва газов на впуск.
        • Стабилизация частоты вращения холостого хода

        • Снижение расхода топлива

        При малой нагрузке A0116UOE01 Исключение перекрытия для снижения прорыва газов на впуск. Обеспечение устойчивой работы двигателя
        При средней нагрузке A0116ULE01 Увеличение перекрытия для повышения внутренней рециркуляции отработавших газов с целью снижения насосных потерь.
        • Снижение расхода топлива

        • Снижение токсичности отработавших газов

        При низкой или средней частоте вращения и высокой нагрузке A0116P5E01 Смещение момента закрывания впускных клапанов в сторону опережения для увеличения коэффициента наполнения. Увеличение крутящего момента на низких и средних частотах вращения
        При высокой частоте вращения и высокой нагрузке A0116PNE01 Смещение момента закрывания впускных клапанов в сторону запаздывания для увеличения коэффициента наполнения Увеличение мощности
        При низкой температуре A0116DQE01 Исключение перекрытия для снижения прорыва газов на впуск и стабилизации частоты вращения на высоких оборотах холостого хода.
        • Стабилизация частоты вращения холостого хода

        • Снижение расхода топлива


        • При запуске двигателя

        • При останове двигателя

        A0116Q3E01 Исключение перекрытия для минимизации прорыва газов на впуск. Улучшенная пусковая характеристика
    3. Система управления топливным насосом


      1. В данной системе ECM регистрирует сигнал развертывания подушки безопасности, формируемый блоком управления системы SRS, и выключает размыкающее реле. Чтобы получить возможность снова запустить двигатель и возобновить подачу топлива после приведения в действие системы управления отсечкой топлива, необходимо включить питание, либо перевести замок зажигания из положения OFF (ВЫКЛ) в положение ON (ВКЛ).

    4. Управление вентилятором системы охлаждения


      1. Система управления вентилятором системы охлаждения оптимально регулирует частоту вращения вентилятора в соответствии с температурой охлаждающей жидкости двигателя, скоростью автомобиля, частотой вращения коленчатого вала двигателя и режимом работы системы кондиционирования.

  3. КОНСТРУКЦИЯ


    1. ECM


      1. ECM установлен в моторном отсеке. В результате жгут проводов стал короче, что позволило снизить массу конструкции.

        A0116SNE01
        Обозначения на рисунке
        *1 ECM - -
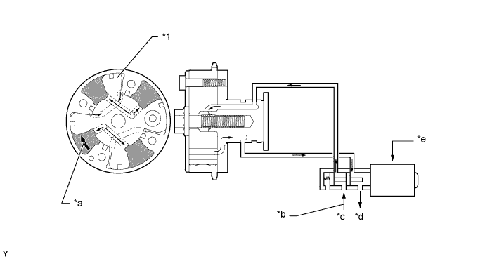
    2. Датчики положений коленчатого вала и распредвала


      1. В качестве датчиков положений коленчатого вала и распредвалов впускных и выпускных клапанов в системе управления двигателем используются датчики с магнитным резистивным элементом (MRE).

      2. Ведущая звездочка коленчатого вала имеет 34 зубца, причем 2 зубца отсутствуют. Благодаря такой конструкции датчик положения коленчатого вала формирует сигналы положения коленчатого вала (сигналы NE), в которых 33 импульса высокого или низкого уровня выдаются через каждые 10° оборота коленчатого вала, а 1 импульс – через каждые 30°. ECM использует сигнал NE для определения положения и частоты вращения коленчатого вала. Часть сигнала, соответствующая отсутствующим зубцам, используется для определения верхней мертвой точки.

      3. Для определения положения распредвала задающие роторы на впускном и выпускном распредвалах генерируют 3 импульса (3 состояния высокого уровня и 3 состояния низкого уровня) на каждые 2 оборота коленчатого вала.

        A0116QME01
        Обозначения на рисунке
        *1 Датчик положения коленчатого вала *2 Ведущая звездочка
        *3 Датчик положения распредвала выпускных клапанов *4 Датчик положения распредвала впускных клапанов
        *5 Задающий ротор - -
        A0116IME01
      4. Датчик типа MRE состоит из магнитного резистивного элемента, магнита и чувствительного элемента. Из-за особенностей профиля (выступающих и невыступающих частей) задающего ротора, вращающегося рядом с чувствительным элементом, изменяется направление вектора напряженности магнитного поля. В результате изменяется сопротивление магнитного резистивного элемента, и происходит переключение уровня выходного напряжения, подаваемого на ECM. На основе этого напряжения ECM определяет положение распредвала.

      5. Датчики типа MRE имеют следующие отличия от обычных индуктивных датчиков.

        Тип датчика MRE Индуктивный
        Выходной сигнал Цифровой выходной сигнал датчика выдается, начиная с малых частот вращения коленчатого вала двигателя. Аналоговый выходной сигнал изменяется в зависимости от частоты вращения коленчатого вала двигателя.
        Определений положений коленчатого вала и распредвала
        • Определение положения осуществляется в результате сопоставления временных характеристик сигналов NE с моментами переключения уровня выходного сигнала датчика, обусловленного наличием выступающих и невыступающих частей на задающем роторе.

        • Положение также может быть определено, исходя из числа сигналов NE, поступивших во время наличия высокого/низкого уровня.

        Определение положения осуществляется путем сравнения сигналов NE с сигналами, выдаваемыми в моменты прохождения выступающих частей задающего ротора.
        A0116BVE01
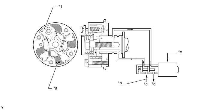
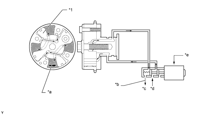
    3. Гидравлический клапан изменения фаз в сборе


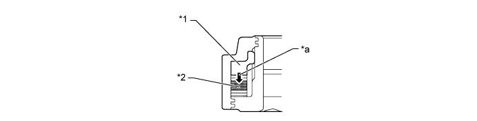
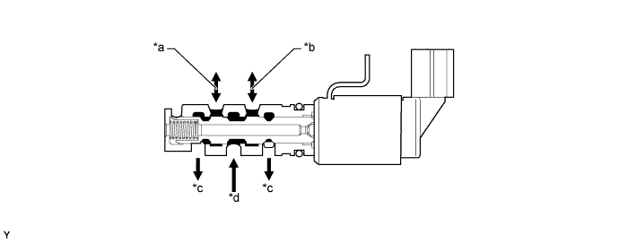
      1. Гидравлический клапан изменения фаз управляет золотниковым клапаном в соответствии с командами включения, поступающими из ECM. В результате на контроллер VVT-i со стороны опережения или запаздывания действует гидравлическое давление. Когда двигатель останавливается, гидравлический клапан изменения фаз на впуске смещается в положение запаздывания, а на выпуске – в положение опережения.

        A0116D3E01
        Обозначения на рисунке (гидравлический клапан изменения фаз на впуске):
        *1 Пружина *2 Втулка
        *3 Золотниковый клапан -
        *a

        К контроллеру VVT-i на впуске

        (в сторону опережения)

        *b

        К контроллеру VVT-i на впуске

        (в сторону запаздывания)

        *c Слив *d Давление масла
        A0116C8E01
        Обозначения на рисунке (гидравлический клапан изменения фаз на выпуске):
        *a

        К контроллеру VVT-i на выпуске

        (в сторону запаздывания)

        *b

        К контроллеру VVT-i на выпуске

        (в сторону опережения)

        *c Слив *d Давление масла
    4. Датчик детонации (плоский)


      1. В обычных датчиках детонации (резонансного типа) внутрь датчика встроена вибропластина. Резонансная частота ее колебаний совпадает с частотой детонации блока двигателя. Датчики этого типа способны регистрировать вибрации только вблизи частоты резонанса.

      2. Конструкция плоского датчика детонации (нерезонансного типа) позволяет определять вибрацию в широком диапазоне частот (6-15 кГц). Он имеет следующие особенности.

      3. Частота детонации двигателя слегка меняется в зависимости от частоты вращения коленчатого вала. Плоский датчик детонации способен регистрировать вибрацию даже при изменении частоты детонации. Таким образом, он является более чувствительным к вибрациям по сравнению с датчиками детонации обычной конструкции, что позволяет точнее регулировать угол опережения зажигания.

        A0116EHE02
      4. Плоский датчик детонации крепится к двигателю с помощью шпильки, вворачиваемой в блок цилиндров. Для этого в центре датчика есть отверстие под шпильку.

      5. В верхней части датчика размещается стальной груз. Между грузом и пьезоэлементом установлен изолятор.

      6. Кроме того, в датчике имеется резистор регистрации обрыва/короткого замыкания. Когда зажигание включено, резистор регистрации обрыва/короткого замыкания в датчике детонации и резистор в ECM поддерживают постоянное напряжение на контакте KNK1 двигателя. Интегральная микросхема (ИС) в ECM непрерывно контролирует напряжение на контакте KNK1 двигателя. Если между датчиком детонации и ECM возникает обрыв или короткое замыкание, напряжение на контакте KNK1 изменяется, и ECM регистрирует обрыв / короткое замыкание, сохраняя в памяти диагностический код неисправности (DTC).

        A0116OBE02
        Обозначения на рисунке
        *1 Стальной груз *2 Изолятор
        *3 Пьезоэлемент *4 Резистор регистрации обрыва
        *5 Вибропластина - -
        *a

        Плоский датчик детонации

        (нерезонансного типа)

        *b

        Обычный датчик детонации

        (резонансного типа)

        A0116O5E01
      7. Вибрации, вызванные детонацией, передаются на стальной груз. Груз, в свою очередь, посредством силы инерции надавливает на пьезоэлемент. В результате создается электродвижущая сила (ЭДС).

        A0116S9E02
        Обозначения на рисунке
        *1 Стальной груз *2 Пьезоэлемент
        *a Сила инерции - -
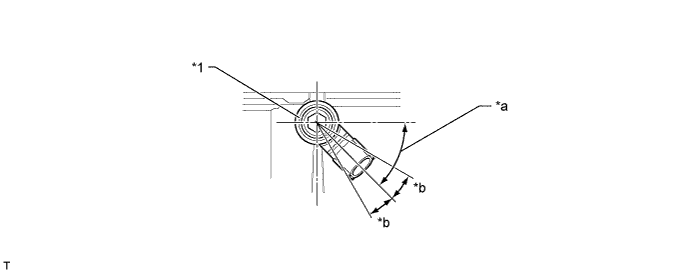
      8. Этот датчик детонации монтируется с соблюдением ориентации и углов установки, как показано на рисунке. Чтобы предотвратить накопление воды в разъеме, плоский датчик детонации следует устанавливать, как показано на рисунке.

        A0116ENE02
        Обозначения на рисунке
        *1 Датчик детонации - -
        *a Угол установки: 45° *b 15°
    5. Датчик массового расхода воздуха


      1. Компактный и легкий съемный датчик расхода воздуха обеспечивает прохождение части впускаемого воздуха через зону измерения. Благодаря тому, что масса и расход впускаемого воздуха измеряются непосредственно, повышается точность измерений, и снижается сопротивление воздушному потоку.

      2. В датчик расхода воздуха встроен датчик температуры воздуха на впуске.

        A0116GDE02
        Обозначения на рисунке
        *1 Нагреваемый проволочный элемент *2 Термочувствительный элемент
        *3 Датчик температуры воздуха на впуске - -
        *a Поток воздуха - -
    6. Датчик положения дроссельной заслонки


      1. Датчик положения дроссельной заслонки монтируется на корпусе дроссельной заслонки и определяет угол поворота заслонки. Датчик положения дроссельной заслонки преобразует плотность магнитного потока, изменяющуюся при вращении ярма магнита (ось которого совпадает с осью дроссельной заслонки) вокруг датчика Холла, в электрические сигналы для управления электродвигателем привода дроссельной заслонки.

        A0116T3E01
        Обозначения на рисунке
        *1 Электродвигатель привода дроссельной заслонки *2 Датчик положения дроссельной заслонки
        *3 Дроссельная заслонка *4 Возвратная пружина
        A0116EKE01
    7. Кислородный датчик и датчик состава топливовоздушной смеси


      1. Кислородный датчик и датчик состава топливовоздушной смеси различаются своими выходными характеристиками.

      2. Выходное напряжение кислородного датчика изменяется в зависимости от концентрации кислорода в отработавших газах. ECM использует это напряжение, чтобы установить, обогащена или обеднена фактическая топливовоздушная смесь по сравнению со стехиометрическим соотношением воздух-топливо.

      3. На датчик состава топливовоздушной смеси непрерывно подается напряжение, равное приблизительно 0,4 В. Датчик выдает ток, величина которого определяется концентрацией кислорода в отработавших газах. ECM преобразует изменения выходного тока в напряжение для того, чтобы определить текущее соотношение воздух-топливо. Результирующая характеристика датчика получается линейной.

        A0116FSE02
      4. В целом, конструкции кислородного датчика и датчика состава топливовоздушной смеси аналогичны. Тем не менее, эти датчики имеют разные типы: чашечный и планарный. Это обусловлено различием конструкций используемых в них подогревателей.

      5. В датчиках чашечного типа чувствительный элемент охватывает весь подогреватель.

      6. В датчиках планарного типа чувствительный элемент соединяется с подогревателем через окись алюминия – материал, характеризующийся превосходной теплопроводностью и электрическими изоляционными свойствами. В результате улучшается характеристика нагрева датчика.

        A0116N0E02
        Обозначения на рисунке
        *1 Слой диффузного сопротивления *2 Атмосфера
        *3 Подогреватель *4 Платиновый электрод
        *5 Окись алюминия *6 Чувствительный элемент (диоксид циркония)
        *a Датчик состава топливовоздушной смеси (планарного типа) *b Кислородный датчик (чашечного типа)
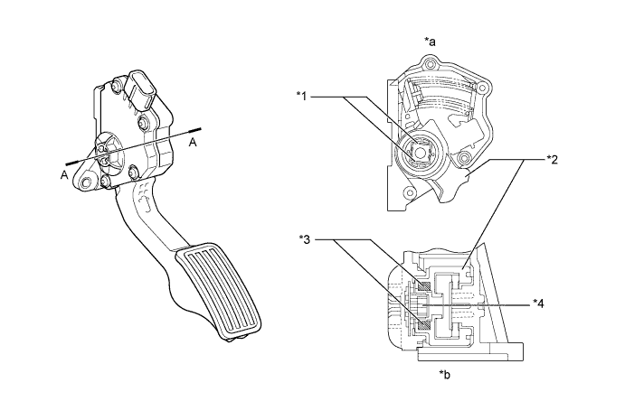
    8. Датчик положения педали акселератора в сборе


      1. В бесконтактном датчике положения педали акселератора используется элемент Холла.

      2. Ярмо магнита, смонтированное на рычаге педали акселератора, поворачивается вокруг датчика Холла согласно усилию, действующему на педаль акселератора. Датчик Холла преобразует возникающее в этот момент изменение магнитного потока в электрические сигналы, отражающие усилие на педали акселератора, и передает их в ECM.

      3. Датчик Холла имеет цепи основного и вспомогательного сигналов. Датчик преобразует угол поворота педали акселератора в 2 различающихся по характеристикам электрических сигнала и передает их в ECM.

        A0116NFE03
        Обозначения на рисунке
        *1 Ярмо магнита *2 Рычаг педали акселератора
        *3 Ползун *4 Датчик Холла
        *a Внутренняя конструкция *b Сечение A - A
        A0116R8E01
    9. Катушка зажигания в сборе


      1. Усилитель зажигания объединен с катушками зажигания, причем для каждого цилиндра предусмотрена независимая катушка. Благодаря этому повышается точность регулирования угла опережения зажигания, снижается падение высокого напряжения, и повышается надежность системы зажигания в целом вследствие отсутствия распределителя.

      2. Наконечники свечей зажигания, обеспечивающие контакт со свечами зажигания, объединены с катушками зажигания. Кроме того, для упрощения конструкции системы в катушки зажигания встроены усилители зажигания.

        A0116M6E01
        Обозначения на рисунке
        *1 Усилитель зажигания *2 Железный сердечник
        *3 Наконечник свечи зажигания *4 Вторичная катушка
        *5 Первичная катушка - -
    10. Свеча зажигания


      1. Используются удлиненные свечи зажигания с тонкими электродами и иридиевым покрытием на концах. Свечи зажигания этого типа дают возможность увеличить толщину зоны головки блока цилиндров, куда входят свечи зажигания. Таким образом, может быть расширена водяная рубашка вблизи камеры сгорания, от которой зависит эффективность охлаждения.

      2. Благодаря иридиевому покрытию на концах свечей зажигания обеспечивается улучшение характеристики зажигания при сохранении такой же износостойкости, какой характеризуются свечи зажигания с платиновым покрытием на концах.

        A0116QDE01
        Обозначения на рисунке
        *1 Иридиевый наконечник *2 Платиновый наконечник
        *3 Удлинение *4 Водяная рубашка
  4. ПРИНЦИП РАБОТЫ


    1. Двойная система VVT-i (электронная система изменения фаз газораспределения)


      1. На основе частоты вращения коленчатого вала, массы воздуха на впуске, положения дроссельной заслонки и температуры охлаждающей жидкости ECM может вычислить оптимальные (требуемые) фазы газораспределения для любого режима движения. На основе вычисленных фаз газораспределения ECM управляет работой гидравлических клапанов изменения фаз. Кроме того, ECM определяет фактические фазы газораспределения, используя сигналы датчиков положений распредвала и коленчатого вала как сигналы обратной связи, что позволяет точно устанавливать требуемые фазы газораспределения.

        A0116OKE01
      2. Когда гидравлический клапан изменения фаз посредством сигнала опережения, поступающего от ECM, устанавливается, как показано на рисунке ниже, результирующее давление масла подается в полость направляющего элемента со стороны опережения, вызывая вращение распредвала в направлении опережения.

        A0116NDE02
        Обозначения на рисунке (со стороны впуска):
        *1 Направляющий элемент - -
        *a Направление вращения *b Давление масла
        *c Впуск *d Слив
        *e ECM - -
        A0116H0E02
        Обозначения на рисунке (со стороны выпуска):
        *1 Направляющий элемент - -
        *a Направление вращения *b Давление масла
        *c Слив *d Впуск
        *e ECM - -
      3. Когда гидравлический клапан изменения фаз посредством сигнала запаздывания, поступающего от ECM, устанавливается, как показано на рисунке ниже, результирующее давление масла подается в полость направляющего элемента со стороны запаздывания, вызывая вращение распредвала в направлении запаздывания.

        A0116NKE02
        Обозначения на рисунке (со стороны впуска):
        *1 Направляющий элемент - -
        *a Направление вращения *b Давление масла
        *c Слив *d Впуск
        *e ECM - -
        A0116K9E02
        Обозначения на рисунке (со стороны выпуска):
        *1 Направляющий элемент - -
        *a Направление вращения *b Давление масла
        *c Впуск *d Слив
        *e ECM - -
      4. После достижения требуемого состояния фазы газораспределения сохраняются за счет удержания гидравлического клапана изменения фаз в нейтральном положении до изменения условий движения. В результате обеспечивается необходимая регулировка фаз газораспределения, и предотвращается вытекание моторного масла, когда это не требуется.

    2. Система управления топливным насосом


      1. Когда ECM регистрирует сигнал развертывания подушки безопасности, переданный блоком управления системы SRS, он выключает размыкающее реле.

      2. Чтобы получить возможность снова запустить двигатель и возобновить подачу топлива после приведения в действие системы управления отсечкой топлива, необходимо перевести замок зажигания из положения OFF (ВЫКЛ) в положение ON (ВКЛ).

        A0116CCE01
    3. Управление вентилятором системы охлаждения


      1. ECM осуществляет двухуровневое управление частотой вращения вентилятора системы охлаждения в соответствии с сигналом запроса включения вентилятора системы охлаждения (низкий или высокий уровень) от блока управления системой кондиционирования в сборе и температурой охлаждающей жидкости двигателя. Сигнал запроса включения вентилятора системы охлаждения формируется блоком управления системы кондиционирования в сборе главным образом на основании давления хладагента и состояния выключателя системы кондиционирования.

      2. Режим низкой скорости устанавливается путем подачи тока через резистор, который обеспечивает снижение частоты вращения вентилятора системы охлаждения.

        A0116HQE01
        Температура охлаждающей жидкости Сигнал запроса включения вентилятора системы охлаждения Частота вращения вентилятора системы охлаждения
        Низкая OFF (ВЫКЛ) OFF (ВЫКЛ)
        Низкая Низкая
        Высокая Высокая
        Высокая OFF (ВЫКЛ) Высокая
        Низкая Высокая
        Высокая Высокая
  5. Функция работы в аварийном режиме


    1. При обнаружении неисправности ECM останавливает двигатель или начинает осуществлять управление в соответствии с данными, сохраненными в памяти ранее. Более подробную информацию см. в руководстве по ремонту.

  6. ДИАГНОСТИКА


    1. Когда ECM обнаруживает неисправность, он производит диагностику соответствующего узла и сохраняет в памяти результаты. Более подробную информацию см. в руководстве по ремонту.