СИСТЕМА SFI ДЕТАЛЬНОЕ ОПИСАНИЕ


  1. FUNCTION OF MAIN COMPONENTS


    1. System Control Table


      1. The main components of the 1KR-FE engine control system are as follows:

        Components Outline Quantity Function
        ECM 32-bit CPU (Fujitsu TEN) 1 The ECM optimally controls the EFI, ESA, and ETCS-i to suit the operating conditions of the engine in accordance with the signals provided by the sensors.
        Heated Oxygen Sensor Cup Type with Heater 1 This sensor detects the oxygen concentration in the exhaust emission by measuring the electromotive force which is generated in the sensor itself.
        Air Fuel Ratio Sensor Planar Type with Heater 1 As with the oxygen sensor, this sensor detects the oxygen concentration in the exhaust gas. However, it detects the oxygen concentration in the exhaust gas linearly.
        E.F.I. Vacuum Sensor Assembly Semiconductor Silicon Chip Type 1 This sensor uses built-in semiconductors to detect the intake manifold pressure.
        Intake Air Temperature Sensor Thermistor Type 1 This sensor is built into the E.F.I. vacuum sensor assembly.
        This sensor detects the intake air temperature by means of an internal thermistor.
        Crank Position Sensor (Rotor Teeth) Pickup Coil Type (36-6) 1 This sensor detects the engine speed and performs the cylinder identification.
        Camshaft Position Sensor (Rotor Teeth) Pickup Coil Type (3) 1 This sensor performs the cylinder identification.
        E.F.I. Engine Coolant Temperature Sensor Thermistor Type 1 This sensor detects the water temperature by means of an internal thermistor.
        Knock Control Sensor Non-resonant Flat Type 1 This sensor detects an occurrence of the engine knocking indirectly from the vibration of the cylinder block caused by the occurrence of engine knocking.
        Accelerator Pedal Sensor Assembly Non-contact Type 1 This sensor detects the amount of pedal effort applied to the accelerator pedal.
        Throttle Position Sensor Non-contact Type 1 This sensor detects the throttle valve opening angle.
        Fuel Injector Assembly 4-Hole Type 1 The injector is an electromagnetically-operated nozzle which injects fuel in accordance with the signals from the ECM.
  2. SYSTEM CONTROL


    1. System Control Table


      1. The engine control system of the 1KR-FE engine has the following systems.

        System Outline
        SFI (Sequential Multiport Fuel Injection) The D-type SFI system calculates the intake air volume based on the intake manifold pressure signal received from the E.F.I. vacuum sensor assembly and the engine speed.
        An independent injection system in which fuel is injected once into each cylinder for each two revolution of the crankshaft is used.

        • Fuel injection takes two forms:

        • Synchronous injection, which always takes place with the same timing in accordance with the basic injection duration and an additional correction based on the signals provided by the sensors. Non-synchronous injection, which takes place at the time an injection request based on the signals provided by the sensors is detected, regardless of the crankshaft position.

        ESA (Electronic Spark Advance) Ignition timing is determined by the ECM based on signals from various sensors. The ECM corrects ignition timing in response to engine knocking.
        This system selects the optimal ignition timing in accordance with the signals received from the sensors and sends the (IGT) ignition signal to the igniter.
        ETCS-i (Electronic Throttle Control System-intelligent) Optimally controls the throttle valve opening in accordance with the amount of accelerator pedal effort, the throttle valve opening control request from the ECM, and the condition of the engine and the vehicle.
        VVT-i (Variable Valve Timing-intelligent) Controls the intake camshaft to an optimal valve timing in accordance with the engine condition.
        Air Conditioning Cut-off Control*1 By turning the cooler compressor assembly ON or OFF in accordance with the engine condition, drivability is maintained.
        Cooling Fan Control Cooling fan operation is controlled by signals from the ECM based on the E.F.I. engine coolant temperature sensor signal.
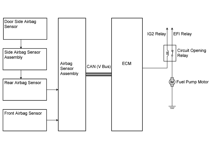
        Fuel Pump Control Fuel pump operation is controlled by signals from the ECM.
        A fuel cut control is used to stop the fuel pump when the airbag is deployed during front or side collision.
        Engine Mounting Control*2 When the engine speed and the vehicle speed are low, this control utilizes vacuum to soften the engine mounting characteristics in order to restrain the engine vibration.
        Engine Immobiliser Prohibits fuel delivery and ignition if an attempt is made to start the engine with an invalid key.
        Brake Override System Restricts the driving torque when the brake pedal is depressed while the accelerator pedal is depressed (For the Activation Conditions and Inspection Method, refer to the repair manual).

        • *1: Models with Air Conditioning

        • *2: Models with CVT

    2. VVT-i (Variable Valve Timing-intelligent) System


      1. The VVT-i system is designed to control the intake camshaft within a range of 45° (of Crankshaft Angle) to provide valve timing that is optimally suited to the engine condition. This improves torque in all the speed ranges as well as increasing fuel economy, and reducing exhaust emissions.

        A0116KCE02
        A0116DCE01
      2. The VVT-i system delivers excellent benefit vehicle states as shown in the table below.

        Operation State Objective Effect
        During Idling A0116RJE01 Decreasing overlap to reduce blow back to the intake side.
        • Stabilized idling rpm

        • Better fuel economy

        At Light Load A0116MJE01 Decreasing overlap to reduce blow back to the intake side. Ensured engine stability
        At Medium Load A0116VJE01 Increasing overlap to increase internal EGR to reduce pumping loss.
        • Better fuel economy

        • Improved emission control

        In Low to Medium Speed Range with Heavy Load A0116QOE01 Advancing the intake valve close timing for volumetric efficiency improvement. Improved torque in low to medium speed range
        In High Speed Range with Heavy Load A0116RQE01 Retarding the intake valve close timing for volumetric efficiency improvement. Improved output
        At Low Temperatures A0116FEE01 Eliminating overlap to reduce blow back to the intake side leads to the lean burning condition, and stabilizes the idling speed at fast idle.
        • Stabilized fast idle rpm

        • Better fuel economy


        • Upon Starting

        • Stopping the Engine

        A0116MDE01 Eliminate overlap to reduce blow back to the intake side. Improved startability
    3. Fuel Pump Control


      1. In this system, the airbag deployment signal from the airbag assembly is detected by the ECM, and it turns OFF the circuit opening relay. After the fuel cut control has been activated, turning the power source from OFF to ON or selecting the engine switch from OFF to ON mode cancels the fuel cut control, and the engine can be restarted.

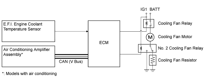
    4. Cooling Fan Control System


      1. A cooling fan control system controlled to achieve an optimal fan speed in accordance with the engine coolant temperature, vehicle speed, engine speed and air conditioning operating conditions.

    5. Engine Mounting Control


      1. When the engine speed and the vehicle speed are low, this engine mounting utilizes the vacuum from the intake air surge tank to move the diaphragm inside the mount, which switches the passage for the fluid sealed in the fluid chambers. By softening the damping characteristics of the mounting in this manner, the mounting restrains the engine vibration.

        A0116P2E03
  3. CONSTRUCTION


    1. ECM


      1. The ECM has been fitted on the side of the fun shroud. This contributes to the compact engine compartment.

        A0116SNE01
        Text in Illustration
        *1 ECM - -
    2. Heated Oxygen Sensor and Air Fuel Ratio Sensor


      1. The heated oxygen sensor and the air fuel ratio sensor differ in output characteristics.

      2. The output voltage of the heated oxygen sensor changes in accordance with the oxygen concentration in the exhaust gas. The ECM uses this output voltage to determine whether the present air-fuel ratio is richer or leaner than the stoichiometric air-fuel ratio.

      3. Approximately 0.4V is constantly applied to the air fuel ratio sensor, which outputs an amperage that varies in accordance with the oxygen concentration in the exhaust gas. The ECM converts the changes in the output amperage into voltage in order to linearly detect the present air-fuel ratio.

        A0116IXE02
      4. The basic construction of the heated oxygen sensor and the air fuel ratio sensor is the same. However, they are divided into the cup type and the planar type, according to the different types of heater construction that are used.

      5. The cup type sensor contains a sensor element that surrounds a heater.

      6. The planar type sensor uses alumina, which excels in heat conductivity and insulation, to integrate a sensor element with a heater, thus improving the warm up performance of the sensor.

        A0116R3E02
        Text in Illustration
        *1 Air Fuel Ratio Sensor (Planar Type) *2 Heated Oxygen Sensor (Cup Type)
        *3 Diffusion Resistance Layer *4 Atmosphere
        *5 Heater *6 Platinum Electrode
        *7 Alumina *8 Sensor Element (Zirconia)
    3. E.F.I. Vacuum Sensor Assembly


      1. The E.F.I. vacuum sensor assembly has a built-in intake air temperature sensor.

      2. The E.F.I. vacuum sensor assembly consists of a silicon chip which utilizes the characteristic of a silicon chip that changes its electrical resistance when pressure is applied to it. The sensor converts the pressure into an electrical signal, and sends it to the ECM in an amplified form.

      3. The intake air temperature sensor detects the intake air temperature in the intake air surge tank via a thermistor.

        A0116FDE02
    4. Crank and Camshaft Position Sensors


      1. A pickup coil type crank position sensor is used. The timing rotor of the crankshaft has 30 teeth, and there are three portions where 2 teeth are missing. The crank position sensor outputs the crankshaft rotation signals every 10°, and the missing teeth are used to determine the top-dead-center.

        A0116UVE02
      2. Pickup coil type camshaft position sensor is used. To detect the camshaft position, a timing rotor on the intake camshaft is used to generate 3 pulses for every 2 revolutions of the crankshaft.

        A0116HTE02
    5. Knock control sensor (Flat Type)


      1. In a conventional knock control sensor (resonant type), a vibration plate is built into the sensor. This plate has the same resonance point as the knocking frequency of the engine block. This sensor can only detect vibration in this frequency band.

      2. A flat type knock control sensor (non-resonant type) has the ability to detect vibration in a wider frequency band (from about 6 kHz to 15 kHz). It has the following features:

      3. The engine knocking frequency will vary slightly depending on the engine speed. The flat type knock control sensor can detect vibration even when the engine knocking frequency changes. Due to the use of the flat type knock control sensor, the vibration detection ability is increased compared to a conventional type knock control sensor, and more precise ignition timing control is possible.

        A0116EHE10
      4. A flat type knock control sensor is installed to an engine by placing it over the stud bolt installed on the cylinder block sub-assembly. For this reason, a hole for the stud bolt exists in the center of the sensor.

      5. In the sensor, a steel weight is located in the upper portion. An insulator is located between the weight and a piezoelectric element.

      6. An open/short circuit detection resistor is integrated in the sensor. When the ignition is ON, the open/short circuit detection resistor in the knock control sensor and the resistor in the ECM keep the voltage at terminal KNK1 constant. An IC (Integrated Circuit) in the ECM constantly monitors the voltage of terminal KNK1. If the open/short circuit occurs between the knock control sensor and the ECM, the voltage of terminal KNK1 will change and the ECM will detect the open/short circuit and store a DTC (Diagnostic Trouble Code).

        A0116MYE02
      7. Vibrations caused by knocking are transmitted to the steel weight. The inertia of this weight applies pressure to the piezoelectric element. This action generates electromotive force.

        A0116PIE04
        Text in Illustration
        *1 Steel Weight *2 Piezoelectric Element
        A0116LB Inertia - -
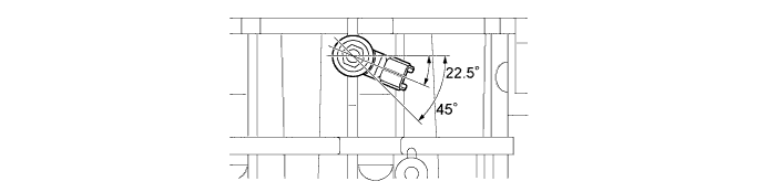
      8. This knock control sensor is mounted in the specific directions and angles as illustrated. To prevent the water accumulation in the connecter, make sure to install the flat type knock control sensor in the position as shown in the following illustration.

        A0116V1E01
    6. Throttle Position Sensor


      1. The throttle position sensor is mounted on the throttle body to detect the opening angle of the throttle valve. The throttle position sensor converts the magnetic flux density that changes when the magnetic yoke (located on the same axis as the throttle shaft) rotates around the Hall IC into electric signals to operate the throttle control motor.

        A0116GVE02
    7. Accelerator Pedal Sensor Assembly (Models with CVT)


      1. The non-contact type accelerator pedal sensor uses a Hall IC.

      2. The magnetic yoke that is mounted at the base of the accelerator pedal arm moves around the Hall IC in accordance with the amount of effort that is applied to the accelerator pedal. The Hall IC converts the changes in the magnetic flux that occur at that time into electrical signals, and outputs them in the form of accelerator pedal effort to the ECM.

      3. The Hall IC contains circuits for the main and sub signals. It converts the accelerator pedal depressed angles into electric signals with two differing characteristics and outputs them to the ECM.

      4. When the depressing force applied to the accelerator pedal is greater than a predetermined amount, the ECM detects a "kick down ON" from the VPA signal provided by the accelerator pedal sensor.

        A0116J3E02
    8. Accelerator Pedal Sensor Assembly (Models without CVT)


      1. The non-contact type accelerator pedal sensor assembly uses a Hall IC.

      2. The magnetic yoke that is mounted at the accelerator pedal arm rotates around the Hall IC in accordance with the amount of effort that is applied to the accelerator pedal. The Hall IC converts the changes in the magnetic flux that occur at that time into electrical signals, and outputs them as accelerator pedal effort to the ECM.

      3. The Hall IC contains circuits for the main and sub signals. It converts the accelerator pedal depressed angles into electric signals with two differing characteristics and outputs them to the ECM.

        A0116CQE04
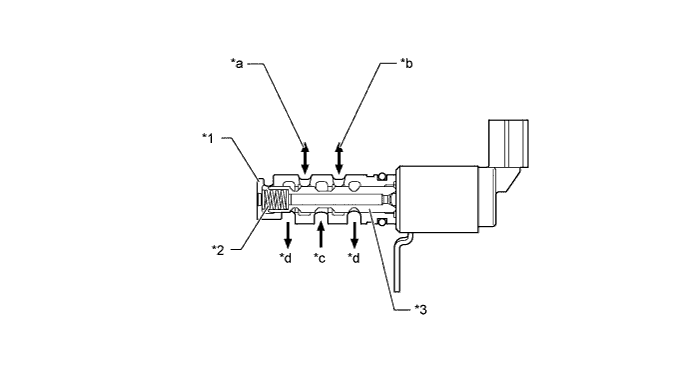
    9. Camshaft Timing Oil Control Valve Assembly


      1. This camshaft timing oil control valve assembly controls the spool valve using duty-cycle control from the ECM. This allows hydraulic pressure to be applied to the VVT-i controller advance or retard side. When the engine is stopped, the camshaft timing oil control valve assembly is in the most retarded position.

        A0116E2E02
        Text in Illustration
        *1 Sleeve *2 Spring
        *3 Spool Valve - -
        *a To VVT-i Controller (Advance Side) *b To VVT-i Controller (Retard Side)
        *c Oil Pressure *d Drain
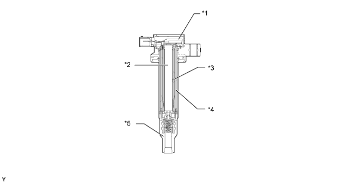
    10. Ignition Coil with Igniter


      1. An igniter is integrated with the ignition coils, which are provided independently in each cylinder. This improves ignition timing accuracy, reduces high-voltage loss and enhances the overall reliability of the ignition system by eliminating the distributor.

      2. The spark plug caps, which provide contact to spark plugs, are integrated with an ignition coil. Also, an igniter is enclosed to simplify the system.

        A0116G2E02
        Text in Illustration (Ignition Coil with Igniter Cross Section)
        *1 Igniter *2 Iron Core
        *3 Secondary Coil *4 Primary Coil
        *5 Spark Plug Cap - -
    11. Spark Plug


      1. Long-reach type spark plugs are used. This type of spark plugs allows the area of the cylinder head to receive the spark plugs to be made thick. Thus, the water jacket can be extended near the combustion chamber, which contributes to cooling performance.

        A0116OUE03
        Text in Illustration
        *1 Water Jacket - -
        *a Long-reach Type *b Conventional Type
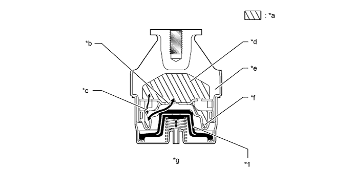
    12. Engine Mounting Insulator Sub-assembly RH


      1. This engine mounting consists primarily of the rubber portion, No. 1 fluid chamber, No. 2 fluid chamber and diaphragm. Fluid is sealed in the No. 1 and No. 2 fluid chambers.

        A0116FLE02
        Text in Illustration
        *1 Diaphragm - -
        *a Fluid *b No. 2 Fluid Passage
        *c No. 1 Fluid Passage *d No. 1 Fluid Chamber
        *e Rubber *f No. 2 Fluid Chamber
        *g Vacuum Intake - -
  4. OPERATION


    1. VVT-i (Variable Valve Timing-intelligent) System


      1. Using the engine speed signal, vehicle speed signal, and the signals from E.F.I. vacuum sensor assembly, throttle position sensor and E.F.I. engine coolant temperature sensor, the ECM can calculate optimal valve timing for each driving condition and controls the camshaft timing oil control valve assembly. In addition, the ECM uses signals from the camshaft position sensor and the crank position sensor to detect the actual valve timing, thus providing feedback control to achieve the target valve timing.

        A0116TNE03
      2. When the camshaft timing oil control valve assembly is operated as illustrated below by the advance signal from the ECM, the resultant oil pressure is applied to the timing advance side vane chamber to rotate the camshaft in the timing advance direction.

        A0116TUE01
      3. When the camshaft timing oil control valve assembly is operated as illustrated below by the retard signal from the ECM, the resultant oil pressure is applied to the timing retard side vane chamber to rotate the camshaft in the timing retard direction.

        A0116HPE01
      4. After reaching the target timing, the valve timing is held by keeping the camshaft timing oil control valve assembly in the neutral position unless the traveling state changes. This adjusts the valve timing at the desired target position and prevents the engine oil from running out when it is unnecessary.

    2. Fuel Pump Control


      1. When the ECM detects the airbag deployment signal from the airbag sensor assembly, the ECM will turn the circuit opening relay off. After the fuel cut control has been activated, turning the power source from OFF to the IG-ON position cancels the fuel cut control, and the engine can be restarted.

        A0116E4E02
    3. Cooling Fan Control


      1. According to the cooling fan drive request signal (low or high) from the air conditioning amplifier assembly and the engine coolant temperature, the ECM regulates the cooling fan speed over two levels. A cooling fan drive request signal is determined by the air conditioning amplifier assembly depending on mainly the refrigerant pressure and the A/C switch status.

      2. The Low speed operation is accomplished by applying the current through a resistor, which reduces the speed of the cooling fan.

        A0116SIE02
        Engine Coolant Temperature Cooling Fan Drive Request Signal Cooling Fan Operation
        Low OFF OFF
        Low Low
        High High
        High OFF High
        Low High
        High High
    4. Engine Mounting Control


      1. For models with CVT, an electrical hydraulic type engine mounting is used for the engine mounting insulator sub-assembly RH in order to reduce vibration and noise.

      2. This engine mounting obtains a vacuum from the intake air surge tank via the VSV. It utilizes the vacuum to pull the diaphragm down in order to open or close the passages that connect the No. 1 and No. 2 fluid chambers.

      3. The No. 1 and No. 2 fluid chambers use two fluid passages: the No. 1 fluid passage that is always connected regardless of whether the diaphragm is open or closed; and the No. 2 fluid passage that is connected only when the diaphragm is open. The fluid flows back and forth between the No. 1 and No. 2 fluid chambers through these two passages in order to restrain the vibration.

      4. When the ECM determines that the engine speed and the vehicle speed are low, it controls the introduction of vacuum from the intake air surge tank to the engine mounting by turning the VSV ON or OFF.

      5. When the engine speed and the vehicle speed are in a low range, the engine mounting is softened by turning on the VSV, reducing the engine vibrations.

        A0116T7E01
      6. When the ECM determines that both the engine speed and the vehicle speed exceed their standard values, it cuts off the vacuum that is taken into the engine mounting by turning the VSV off. At this time, the No. 2 fluid passage remains closed because the diaphragm inside the engine mounting does not operate, and the fluid will flow in and out of the No. 1 and No. 2 fluid chambers through only the No. 1 fluid passage that is small in area compared to the No. 2 fluid passage. As a result, the fluid resistance inside the engine mounting increases, thus, the engine mounting characteristics become stiffer than when the VSV is ON.

        A0116SPE03
      7. When the ECM determines that both the engine speed and the vehicle speed fall below their standard values, it introduces a vacuum into the engine mounting by turning the VSV on. At this time, the No. 2 fluid passage opens because the diaphragm inside the engine mounting is pulled down, and the fluid will flow in and out of the No. 1 and No. 2 fluid chambers through the No. 2 fluid passage that is large in area compared to the No. 1 fluid passage. As a result, the fluid resistance is suppressed, thus, the engine mounting characteristics soften.

        A0116MBE01
  5. FAIL-SAFE


    1. When the ECM detects a malfunction, the ECM stops or controls the engine according to the data already stored in the memory. For details, refer to the Repair Manual.

  6. DIAGNOSIS


    1. When the ECM detects a malfunction, the ECM diagnoses and memorizes the failed section. For details, refer to the Repair Manual.