ТОПЛИВНАЯ СИСТЕМА ДЕТАЛЬНОЕ ОПИСАНИЕ


  1. КОНСТРУКЦИЯ


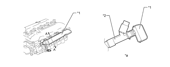
    1. Топливная рампа


      1. Топливная рампа изготавливается из штампованной стали.

      2. Пульсации, возникающие при подаче топлива, поглощаются за счет изменений объема, возникающих при изгибании топливной рампы в сборе. Поэтому больше не используется отдельный демпфер пульсаций, что снижает размеры и массу системы.

        A0116NWE01
        Обозначения на рисунке
        *1 Топливная рампа *2 Топливная форсунка
        *a Сечение A - A - -
    2. Топливная форсунка


      1. Сопло форсунки удлинено. В результате уменьшилось расстояние от форсунки до впускного клапана, благодаря чему предотвращается прилипание топлива к стенкам впускного клапана и снижается токсичность отработавших газов.

        A0116N9E02
        Обозначения на рисунке
        *a Вид A - -
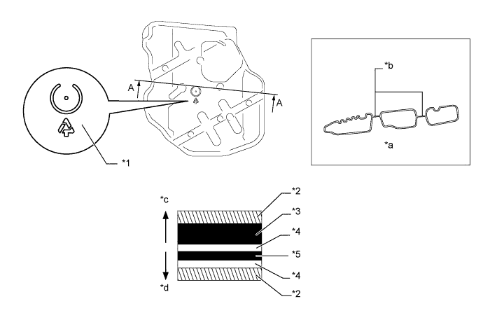
    3. Топливный бак в сборе


      1. Топливный бак изготавливается из многослойного пластика. Он состоит из 6 слоев, сформированных с помощью 4 типов материалов.

      2. Топливный бак в сборе установлен по центру автомобиля (в области ног задних пассажиров), что уменьшает общую длину автомобиля. Кроме того, узлы модуля топливного насоса разделены на основной и вспомогательный модули, в результате чего высота топливного бака в сборе уменьшена до 110 мм (4,3 дюйма), обеспечивая пространство для ног задних пассажиров.

      3. Передняя и задняя поверхности топливного бака в сборе частично соединены, что повышает жесткость топливного бака в сборе.

      4. В нижней части топливного бака имеется дренажная метка. При разборке (сдаче в лом) автомобиля необходимо слить топливо, просверлив отверстия в местах, отмеченных метками для слива.

        A0116HYE01
        Обозначения на рисунке
        *1 Дренажная метка *2 HDPE (полиэтилен высокой плотности)
        *3 Измельченный материал *4 Герметик
        *5 EVOH (сополимер этилена и винилового спирта) - -
        *a Сечение A - A *b Соединены
        *c Наружная поверхность топливного бака *d Внутренняя поверхность топливного бака
      5. Для соединения основного и вспомогательного модулей топливного бака в сборе используется эксцентриковый зажим типа "camlock". Применение эксцентрикового зажима "camlock" вместо обычного крепления снижает высоту в месте соединения модулей; в результате уменьшается общая высота топливного бака в сборе.

        A0116DFE01
        Обозначения на рисунке
        *1 Модуль *2 Топливный бак в сборе
        *a iQ *b Обычная модель
        *c Высота в месте соединения - -
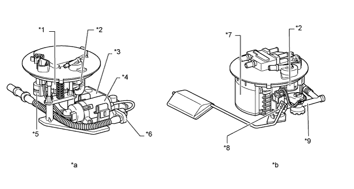
    4. Модуль топливного насоса


      1. Наряду с использованием топливного насоса с поперечным расположением и тонкого топливного фильтра узлы объединены в виде основного и вспомогательного модулей. Основной модуль включает топливный насос, топливный фильтр, всасывающий фильтр, эжектор и регулятор давления топлива, а вспомогательный модуль состоит из датчика уровня топлива, адсорбера и трубки низкого давления. Это разделение способствует уменьшению высоты топливного насоса, что приводит к снижению общей высоты топливного бака.

        A0116PZE01
        Обозначения на рисунке
        *1 Топливный фильтр *2 Клапан отсечки подачи топлива
        *3 Фильтр топливного насоса *4 Топливный насос
        *5 Регулятор давления топлива в сборе *6 Насос-эжектор
        *7 Адсорбер *8 Датчик уровня топлива в сборе
        *9 Трубка низкого давления - -
        *a Основной модуль *b Вспомогательный модуль
    5. Адсорбер


      1. Для повышения эффективности использования пространства в моторном отсеке вспомогательный модуль содержит встроенный адсорбер.

      2. Для поглощения паров топлива теперь используется не метод U-образного потока, а метод W-образного потока. В результате, несмотря на меньшую высоту, достигнуты характеристики поглощения, эквивалентные методу U-образного потока. Кроме того, уменьшена высота адсорбера, что обусловило снижение общей высоты топливного бака в сборе.

        A0116N8E01
        Обозначения на рисунке
        *1 Адсорбер - -
        *a Основной модуль *b Вспомогательный модуль
        *c Пары топлива *d К вспомогательному модулю
        *e От основного модуля *f Атмосфера
        *g К VSV (для EVAP) *h iQ
        *i Обычные модели *j Поглощение
        *k Продувка *l Атмосферный воздух
    6. Насос-эжектор


      1. Так как топливный бак в сборе имеет малую высоту, площадь его дна увеличена по сравнению с другими автомобилями с передним приводом, чтобы бак имел надлежащую емкость. На повороте центробежная сила приводит к наклону уровня, что может вызывать прерывание подачи топлива. Чтобы не допустить этого, топливный бак в сборе снабжен эжектором.

      2. Часть топлива, перекачиваемого топливным насосом, подается в эжектор, который всасывает топливо за счет отрицательного давления, создаваемого при прохождении топлива через отверстие. В результате топливо перемещается из вспомогательного топлива в основной, и не допускается прерывание подачи топлива рядом с основным модулем, даже когда уровень топлива неравномерен.

        A0116M9E01
        Обозначения на рисунке
        *1 Топливный фильтр *2 Топливный насос
        *3 Насос-эжектор *4 Топливный бак в сборе
        *5 Отверстие - -
        *a К двигателю *b Топливо из вспомогательного модуля
        *c От топливного насоса *d Из вспомогательного модуля
        *e В основной модуль - -