ТОПЛИВНАЯ СИСТЕМА ОБЩИЕ СВЕДЕНИЯ


  1. ОПИСАНИЕ


    1. Для удобства технического обслуживания топливопровод соединяется с топливным шлангом посредством быстрых разъемов.

    2. Применяется топливная рампа, способная подавлять пульсации.

    3. Топливный бак изготавливается из многослойного пластика.

    4. Топливный бак снабжен насосом-эжектором.

    5. В топливной системе используется компактный топливный насос со встроенными топливным фильтром.

    6. Система управления отсечкой топлива отключает топливный насос при развертывании подушки безопасности после фронтального, бокового или заднего бокового столкновения.

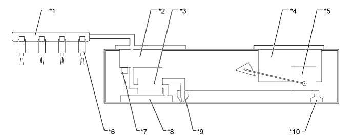
    7. Для снижения объема топливных испарений в топливной системе не используется сливной трубопровод. Как показано ниже, топливо возвращается в топливный бак в сборе посредством регулятора давления топлива, установленного на основном модуле. Под постоянным давлением подается лишь то количество топлива, которое соответствует потребляемому двигателем. Поэтому топливо, нагреваемое при прохождении через моторный отсек, не возвращается в топливный бак, и подавляется образование паров в топливном баке.

      A0116JJE01
      Обозначения на рисунке
      *1 Топливная рампа *2 Топливный фильтр
      *3 Топливный насос *4 Адсорбер
      *5 Датчик уровня топлива *6 Топливная форсунка
      *7 Регулятор давления топлива *8 Фильтр топливного насоса
      *9 Насос-эжектор *10 Трубка низкого давления