MANUAL TRANSAXLE SYSTEM DETAILS


  1. FUNCTION


    1. Gear Shift Indicator System


      1. In the gear shift indicator system, the ECM calculates to determine a gear position for good environmental performance from vehicle conditions, and requests the meter ECU to indicate "upshifting/downshifting". Then, the gear shift indicator in the combination meter assembly shows the driver to shift recommendation.

      2. The ECM determines the actual gear position based on the signals from the speed sensor and crank position sensor, and the target gear position based on the signals from the accelerator pedal position sensor and speed sensor.

      3. By driving in accordance with the shift change recommendations that are indicated by the gear shift indicator, the driver can enhance environmental performance, improving fuel economy and reducing exhaust gas output with in limits of engine performance.

        A0116KTE01
        Control of Gear Shift Indicator System
        Control Outline
        System Start Checks the bulb of the indicator lights from the time the ignition switch is turned ON until the engine is started.
        Shifting Recommendation Control Calculates an environmentally favorable shift position based on the driving conditions of the vehicle, and gives shifting recommendation.
        Shift Control in Uphill Traveling Prevents unnecessary shifting instruction by estimating the gradient of the road based on the driving conditions. Provides shift position instructions that enable the vehicle to attain the proper drive force.
        Delta Throttle Accelerate Control Determines a deceleration request when the driver releases the accelerator pedal suddenly. Thus, it will not provide a shift-up instruction. However, it will provide a shift-up recommendation to protect the engine if the engine speed is high.
      4. The gear shift indicator system will not effect control while the vehicle is being driven in reverse.

      5. The gear shift indicator system will not effect control while the vehicle is stopped or the clutch is not being engaged while shifting.

      6. Upon receiving a shift instruction request from the ECM, the meter ECU will illuminate the indicator light.

      7. The two indicator lights illuminate simultaneously during a bulb check.

        A0116CRE01
  2. CONSTRUCTION


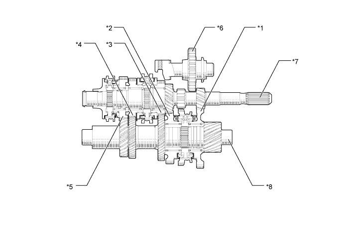
    1. Transmission Gear


      1. The newest method of tooth profile analysis is used for the gears to optimize the tooth profile, which results in a noise reduction.

        A0116U3E01
        Text in Illustration
        *1 1st Gear *2 2nd Gear
        *3 3rd Gear *4 4th Gear
        *5 5th Gear *6 Reverse Idler Gear
        *7 Input Shaft *8 Output Shaft
    2. Synchromesh Mechanism


      1. The transmission synchromesh mechanism consists of a transmission hub sleeve, synchronizer ring, transmission clutch hub and synchromesh shifting key.

      2. For the transmission hub sleeve for all gears, the spline chamfer angle has been made narrower and the spline tooth thickness has been made thinner. This reduces the engagement force and the distance over which a push-through force is generated during shift changes and gives a smooth shift feeling.

        A0116SYE01
      3. A 2 step chamfer structure is used for the No. 2 transmission hub sleeve for the 3rd and 4th gears.

      4. In the 2 step chamfer structure, synchronizing teeth and engaging teeth are provided in the spline of the transmission hub sleeve, which allows the engaging teeth to be located closer to the gear piece than the synchronizing teeth during synchronization action. This shortens the distance that the sleeve has to move after the synchronization has been completed until the engagement with the gear piece begins, and reduces shocks that are generated when the synchronization with the gear piece is lost.

        A0116ERE01
      5. The ball and spring in the synchromesh shifting key have been combined into one unit, thus ensuring the stable position of the synchromesh shifting and improving shift feeling.

        A0116PXE02
        Text in Illustration
        *1 Transmission Clutch Hub *2 Synchromesh Shifting Key
        *3 Ball *4 Spring
    3. Shift Mechanism


      1. EE53 manual transaxle adopts a remote-controlled shift mechanism to reduce shift knob vibration.

      2. The shift mechanism consists of a shift outer lever, a select outer lever, a shift and select lever shaft, 3 shift forks, a reverse shift arm bracket assembly and a reverse shift fork.

      3. The distances between the shift and select lever shaft and each shift fork shaft (see *1 in the illustration below), and the distance between the shift fork and the shift fork shaft (see *2 in the illustration below) have been shortened. This reduces sliding resistance, thereby improving shift feeling.

      4. The shape of the shift fork has been made symmetrical to improve shift feeling.

      5. The select mechanism is separated from the shift mechanism in which a mass damper is installed, thus improving the select feeling.

      6. A plastic pad is attached to the contact surface between the shift fork and the transmission hub sleeve to reduce the sliding resistance.

        A0116F3E01
        Shift Fork Shaft and Shift Fork Operation
        Gear 1st and 2nd 3rd and 4th 5th Reverse
        Shift Fork Shaft No. 1 No. 2 No. 3 No. 4
        Shift Fork No. 1 No. 2 No. 3 Reverse
    4. Oil Separator


      1. The oil separator is fitted around the output shaft gear to prevent the gear from directly stirring up the oil in the sump. This reduces the agitation resistance, increases the torque transmission efficiency and improves fuel economy.

      2. The oil separator is fitted on the side of the front differential ring gear so that the tank construction is provided and oil that has been used for lubrication is stored temporarily between the oil separator and the manual transmission case. Therefore, only the amount of oil required for lubrication can be separated and the amount of oil that has to be agitated is reduced. This reduces the agitation resistance, increases the torque transmission efficiency and improves fuel economy.

        A0116QXE02
    5. Bearing


      1. Low-friction bearings are used for the front output shaft bearing, rear output shaft bearing, front differential case front tapered roller bearing and front differential case rear tapered roller bearing to improve the torque transmission efficiency, which results in an improvement in fuel economy.

        A0116PYE01
        Text in Illustration
        *1 Output Shaft *2 Front Output Shaft Bearing
        *3 Rear Output Shaft Bearing *4 Front Differential Case Front Tapered Roller Bearing
        *5 Front Differential Case Rear Tapered Roller Bearing *6 Front Differential Ring Gear
        *7 Front Transaxle (MTM) Case *8 Manual Transmission Case
    6. Shift Control Mechanism


      1. Along with the optimization of the shift mechanism in the transaxle, the operating direction of the shift lever assembly has been changed as below.

      2. A plastic material is used for the fulcrum portion of the shift lever for weight reduction.

      3. A pull collar type shift lever assembly, which is equipped with an inhibit mechanism, is used.

        A0116CBE01
  3. OPERATION


    1. Inhibit Mechanism


      1. A stopper cover is provided at the 1st-2nd side, so that the pull collar must be pulled upward in order to shift into reverse. This reduces the amount of shift effort and ensures a precise shifting operation.

        A0116SFE01