FUEL SYSTEM DETAILS


  1. CONSTRUCTION


    1. Supply Pump


      1. The supply pump consists of an inner cam (eccentric cam), an outer cam (polygon ring), 3 plungers, a metering unit and a gear pump. Each plunger is placed outside of the outer cam.

      2. Gear pump pumps fuel to 3 plungers.

      3. Metering unit controls volume of fuel drawn into plungers.

      4. Inner cam drives outer cam.

      5. Outer cam drives 3 plungers.

      6. Plunger pressurizes fuel.

        A0116R0E01
        Text in illustration
        *1 Metering Unit *2 Plunger
        *3 Inner Cam *4 Outer Cam
        *5 Gear Pump - -
    2. Common-rail


      1. By storing fuel at a high pressure (30 to 160 MPa), the pump driving torque during the pumping of the fuel under high load condition has been restrained, thus reducing the vibration and noise of the fuel injection volume.

      2. The fuel pressure sensor outputs the fuel pressure signal to the ECM.

      3. The fuel pressure regulator is adjusting the fuel pressure in the common-rail in order to realize the optimum combustion and the reduction of combustion noise.

        A0116QVE01
    3. Injector


      1. A piezo type injector is used to precisely control the fuel injection volume and timing.

      2. This injector mainly consists of the piezo actuator, nozzle needle, valve bolt, amplifier piston and valve piston.

      3. An injector compensation value and Data Matrix Code (DMC) containing encoded characteristics of the injector are printed on each injector.

      4. The injector compensation value and DMC contains various pieces of information regarding the injector, such as model code, and injector, such as model code, and injection volume correction.

        A0116CWE01

        Tech Tips


        • If an injector or the ECM is replaced, the injector compensation value can be entered in the ECM via the intelligent tester.


          • When an injector is replaced, enter the injector compensation value of the replaced injector only.


          • When the ECM is replaced, enter the injector compensation value of all injectors. The proper compensation will be made so that the injection volume precision prior to the replacement will remain unchanged.

        • The DMC, which requires a special scan tool, is not used at Toyota dealers.

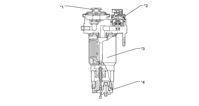
    4. Fuel Filter


      1. A fuel filter assembly, in which the priming pump, fuel heater and fuel sedimenter level warning switch are integrated, is used.

        A0116KKE01
        Text in illustration
        *1 Priming Pump *2 Fuel Heater
        *3 Fuel Filter Assembly *4 Fuel Sedimenter Level Warning Switch
        A0116D2E01
    5. Fuel Sedimenter Level Warning Switch


      1. When the water in the sedimenter section reaches a certain amount, the fuel sedimenter level warning switch comes on, and the warning light in the combination meter illuminates.

  2. OPERATION


    1. Supply Pump


      1. Due to the rotation of the inner cam (eccentric cam), the outer cam pushes plunger "A" upward as illustrated below. The force of the spring pulls plunger "C". As a result, plunger "C" draws fuel in, and plunger "A" pumps fuel at the same time.

        A0116NEE01
    2. Injector: Needle Opening (During Injection)


      1. The actuator is activated.

      2. Valve bolt opens (moves downwards) due to actuator lift.

      3. Pressure of nozzle needle tip decreases.

      4. Nozzle needle opens (moves upwards).

    3. Injector: Needle Closing (While Stopped)


      1. The actuator is deactivated.

      2. Valve bolt closes (moves upwards) due to the valve spring.

      3. Pressure of nozzle needle tip increases.

      4. Nozzle needle closes (moves downwards).

        A0116R1E01