ENTRY AND START SYSTEM PARTS LOCATION

A00OXNHE01
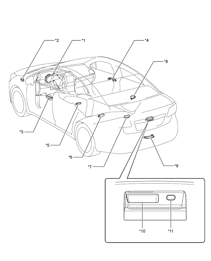
Text in Illustration (Entry Function Configuration on Sedan Models)
*1 Combination Meter Assembly *2 Wireless Door Lock Buzzer
*3

Front Door Handle Assembly Outside LH

- Touch Sensor

- Lock Sensor

- Door Electrical Key Oscillator

*4

Front Door Handle Assembly Outside RH

- Touch Sensor

- Lock Sensor

- Door Electrical Key Oscillator

*5 Indoor Electrical Key Oscillator *6 No. 2 Indoor Electrical Key Oscillator
*7 No. 3 Indoor Electrical Key Oscillator *8 Door Control Receiver
*9 Outside Luggage Compartment Electrical Key Antenna *10 Luggage Compartment Door Opener Switch
*11 Luggage Compartment Door Lock Switch - -
A00OXYTE01
Text in Illustration (Entry Function Configuration on Sedan Models)
*1 Certification ECU *2 Main Body ECU (Instrument Panel Junction Block Assembly)
*3

Front Door with Motor Lock Assembly LH

- Door Lock Motor

- Door Lock Position Switch

*4 Front Door Courtesy Light Switch Assembly LH
*5

Rear Door with Motor Lock Assembly LH

- Door Lock Motor

- Door Lock Position Switch

*6 Rear Door Courtesy Light Switch Assembly LH
*7

Front Door with Motor Lock Assembly RH

- Door Lock Motor

- Door Lock Position Switch

*8 Front Door Courtesy Light Switch Assembly RH
*9

Rear Door with Motor Lock Assembly RH

- Door Lock Motor

- Door Lock Position Switch

*10 Rear Door Courtesy Light Switch Assembly RH
*11

Luggage Compartment Door Lock Assembly

- Door Lock Motor

- Luggage Compartment Door Courtesy Light Switch

- -
*a Refer to the Service Bulletin for the installation of the part. - -
A00OXIEE01
Text in Illustration (Entry Function Configuration on Wagon Models)
*1 Combination Meter Assembly *2 Wireless Door Lock Buzzer
*3

Front Door Handle Assembly Outside LH

- Touch Sensor

- Lock Sensor

- Door Electrical Key Oscillator

*4

Front Door Handle Assembly Outside RH

- Touch Sensor

- Lock Sensor

- Door Electrical Key Oscillator

*5 Indoor Electrical Key Oscillator *6 No. 2 Indoor Electrical Key Oscillator
*7 No. 3 Indoor Electrical Key Oscillator *8 Door Control Receiver
*9 Outside Luggage Compartment Electrical Key Antenna *10 Back Door Opener Switch
*11 Back Door Lock Switch - -
A00OY7PE01
Text in Illustration (Entry Function Configuration on Wagon Models)
*1 Certification ECU *2 Main Body ECU (Instrument Panel Junction Block Assembly)
*3

Front Door with Motor Lock Assembly LH

- Door Lock Motor

- Door Lock Position Switch

*4 Front Door Courtesy Light Switch Assembly LH
*5

Rear Door with Motor Lock Assembly LH

- Door Lock Motor

- Door Lock Position Switch

*6 Rear Door Courtesy Light Switch Assembly LH
*7

Front Door with Motor Lock Assembly RH

- Door Lock Motor

- Door Lock Position Switch

*8 Front Door Courtesy Light Switch Assembly RH
*9

Rear Door with Motor Lock Assembly RH

- Door Lock Motor

- Door Lock Position Switch

*10 Rear Door Courtesy Light Switch Assembly RH
*11

Back Door Lock Assembly

- Door Lock Motor

- Back Door Courtesy Light Switch

- -
*a Refer to the Service Bulletin for the installation of the part. - -
A00OY6LE01
Text in Illustration (Start Function Configuration)
*A Models with Automatic Transaxle *B Models with Manual Transaxle
*1 ID Code Box *2 Certification ECU
*3 Combination Meter Assembly *4 Stop Light Switch Assembly
*5 Clutch Start Switch Assembly *6 Steering Lock Actuator Assembly
*7

Engine Switch

- Transponder Key Amplifier

*8 Power Management Control ECU
*9 Shift Lock Control ECU Sub-assembly *10 Indoor Electrical Key Oscillator
*11 Security Indicator Light - -
*a Refer to the Service Bulletin for the installation of the part. - -
A00OXOWE01
Text in Illustration (Start Function Configuration on Sedan Models)
*A Models with Automatic Transaxle - -
*1 ECM *2 Park/Neutral Position Switch Assembly
*3 Door Control Receiver *4 No. 2 Indoor Electrical Key Oscillator
A00OY55E01
Text in Illustration (Start Function Configuration on Wagon Models)
*A Models with Automatic Transaxle - -
*1 ECM *2 Park/Neutral Position Switch Assembly
*3 Door Control Receiver *4 No. 2 Indoor Electrical Key Oscillator
*5 No. 3 Indoor Electrical Key Oscillator - -