СИСТЕМА СМАЗКИ ОБЩИЕ СВЕДЕНИЯ

  1. OUTLINE

    1. The lubrication circuit is fully pressurized and the oil passes through an oil filter.

    2. The trochoid gear type oil pump assembly is chain-driven by the crankshaft.

    3. This engine has an oil return system in which the oil is force-fed to the upper cylinder head and returns to the oil pan through the oil return hole in the cylinder head.

    4. This engine uses the Dual Variable Valve Timing-intelligent (Dual VVT-i) system. This system is operated by the engine oil.

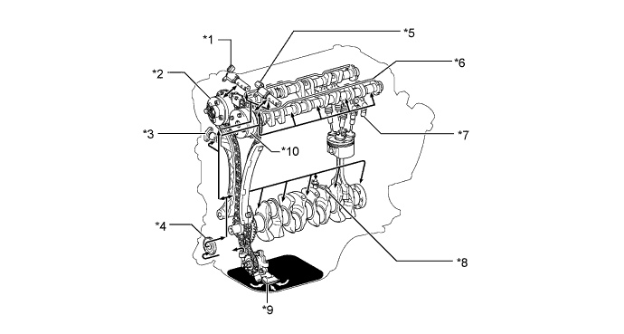
      A0076D0E01
      Text in Illustration
      *1 Camshaft Timing Oil Control Valve Assembly (Exhaust) *2 Camshaft Timing Gear Assembly (Exhaust VVT-i Controller)
      *3 No. 1 Chain Tensioner Assembly *4 Oil Filter
      *5 Camshaft Timing Oil Control Valve Assembly (Intake) *6 Oil Delivery Pipe
      *7 Valve Lash Adjuster Assembly *8 No. 1 Sub-assembly Oil Nozzle
      *9 Oil Pump Assembly *10 Camshaft Timing Gear Assembly (Intake VVT-i Controller)