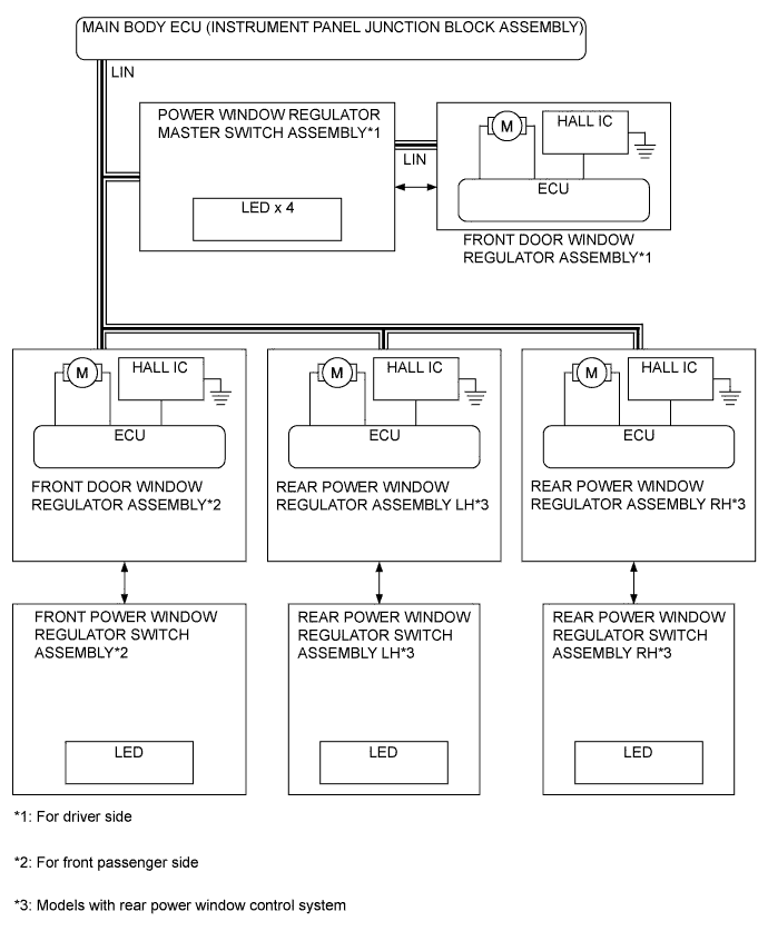
POWER WINDOW CONTROL SYSTEM SYSTEM DIAGRAM

A005WPVE01