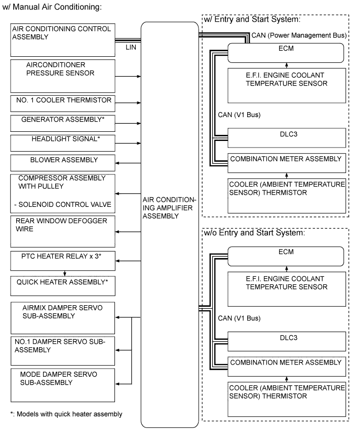
AIR CONDITIONING SYSTEM SYSTEM DIAGRAM

A00OWKVE01
A00OWH2E01