LIGHTING SYSTEM PARTS LOCATION

A010FR3E01
Text in Illustration (Models with Intelligent AFS and Automatic Headlight Beam Level Control System)
*1 ECM *2 Skid Control ECU
*3 Headlight Leveling Motor RH *4 Headlight Leveling Motor LH
*5 Headlight Swivel Motor RH *6 Headlight Swivel Motor LH
*7 Rear Height Control Sensor Sub-assembly *8 Back-up Light Switch*a
*9 Park/Neutral Position Switch Assembly*a *10 Park/Neutral Position Switch Assembly*b
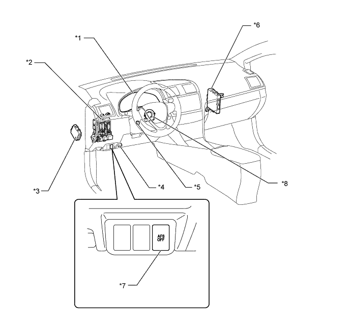
A010FDKE02
Text in Illustration (Models with Intelligent AFS and Automatic Headlight Beam Level Control System)
*1 Combination Meter Assembly *2 Main Body ECU (Instrument Panel Junction Block Assembly)
*3 Headlight Swivel ECU Assembly *4 DLC3
*5 Steering Angle Sensor *6 Power Management Control ECU
*7 Headlight Swivel Main Switch *8 Steering Angle Sensor
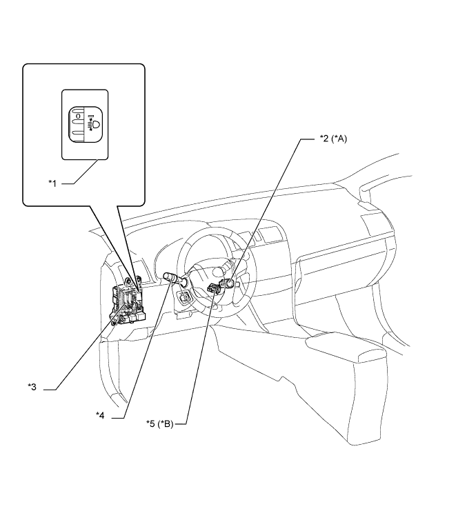
A010FAGE01
Text in Illustration (Models with Daytime Running Light System, Automatic Light Control System, and Manual Headlight Beam Level Control System)
*A Models with Entry and Start System *B Models without Entry and Start System
*1 Headlight Leveling Switch *2 Engine Switch
*3 Main Body ECU (Instrument Panel Junction Block Assembly) *4

Headlight Dimmer Switch Assembly

- Light Control Switch

*5 Ignition Switch - -
A010FM4E01
Text in Illustration (Models with Daytime Running Light System, Automatic Light Control System, and Manual Headlight Beam Level Control System)
*1 Rain Sensor *2

Headlight Unit

- Low Beam Headlight

- High Beam Headlight

*3 ECM *4 Electric Parking Brake ECU
*5

Rear Combination Light Assembly

- Taillight

*6 License Plate Light Assembly
A010FI2E01
Text in Illustration (Models with Emergency Brake Signal)
*1 Front Speed Sensor RH *2 Front Speed Sensor LH
*3 Rear Speed Sensor RH *4 Rear Speed Sensor LH
*5 Skid Control ECU - -
A010FRDE01
Text in Illustration (Models with Emergency Brake Signal)
*1 Center Stop Light Assembly *2

Rear Combination Light Assembly

- Stop Light

A010FUZE01
Text in Illustration (Models with Emergency Brake Signal)
*1 Hazard Warning Signal Switch Assembly *2 Stop Light Switch Assembly