METER / GAUGE SYSTEM SYSTEM DIAGRAM

A0076UEE01
A0076PDE01
A0076HWE01
A0076MGE01
A0076SEE01
ECU Input Signal Output Signal
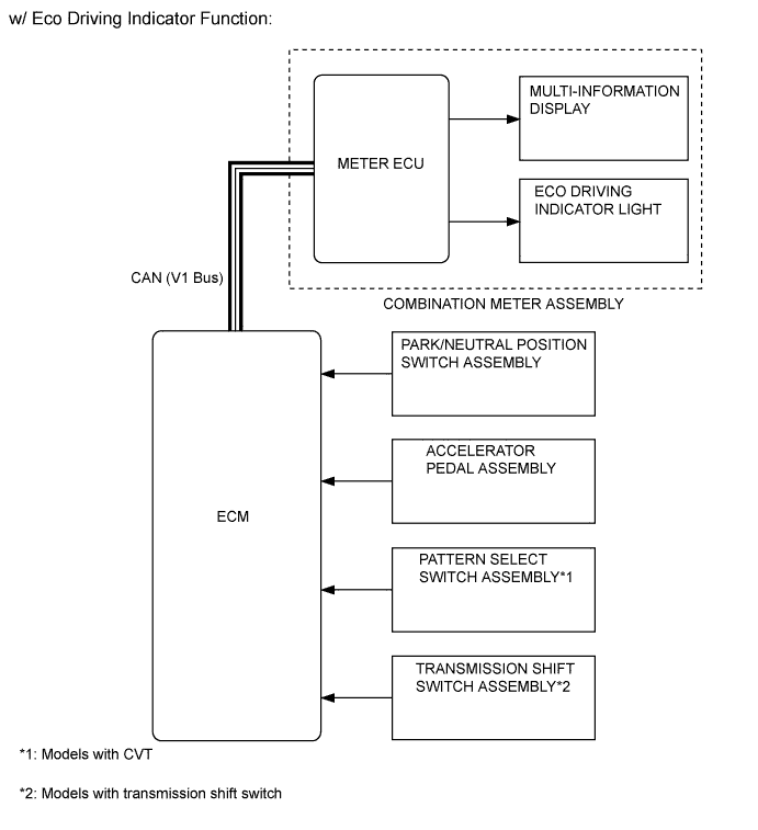
ECM
  • Engine speed signal

  • Shift position signal*1

  • S mode or M mode signal*2

  • Fuel injection volume signal

  • Gear shift indicator signal*3

  • Warning light control signal

  • Engine coolant temperature signal

  • Current range position signal

  • Buzzer sounding request signal

  • Warning message display request signal

  • Diagnosis

Vehicle Speed
Center Airbag Sensor Assembly
  • Warning light illumination request signal

  • Diagnosis

Vehicle Speed
Main Body ECU
  • Lighting status signal

  • Door courtesy light switch signals

  • Warning message display request signal

  • Buzzer sounding request signal

  • Driver seat belt buckle switch signal

  • Diagnosis

Vehicle Speed
Skid Control ECU
  • Warning message display request signal

  • Warning light illumination request signal

  • Indicator light illumination request signal

  • Diagnosis

-
Electric Parking Brake ECU
  • Warning message display request signal

  • Warning light illumination request signal

  • Buzzer sounding request signal

  • Diagnosis

-
Headlight Swivel ECU Assembly*4 Intelligent AFS off signal -
Certification ECU*5
  • Warning message display request

  • Buzzer sounding request

  • Engine immobiliser certification signal

  • Emergency request signal

Vehicle Speed
Power Steering ECU Assembly Warning display control -
Power Management Control ECU Start function message request signal of entry and start system Vehicle Speed