LIGHTING SYSTEM PARTS LOCATION

A00OWOAE01
Text in Illustration
*1 Ash Tray Light *2 No. 1 Interior Illumination Light Assembly LH*a
*3 No. 1 Interior Illumination Light Assembly RH*a *4 Engine Switch Illumination Light*b
*5 Key Illumination Light*c - -
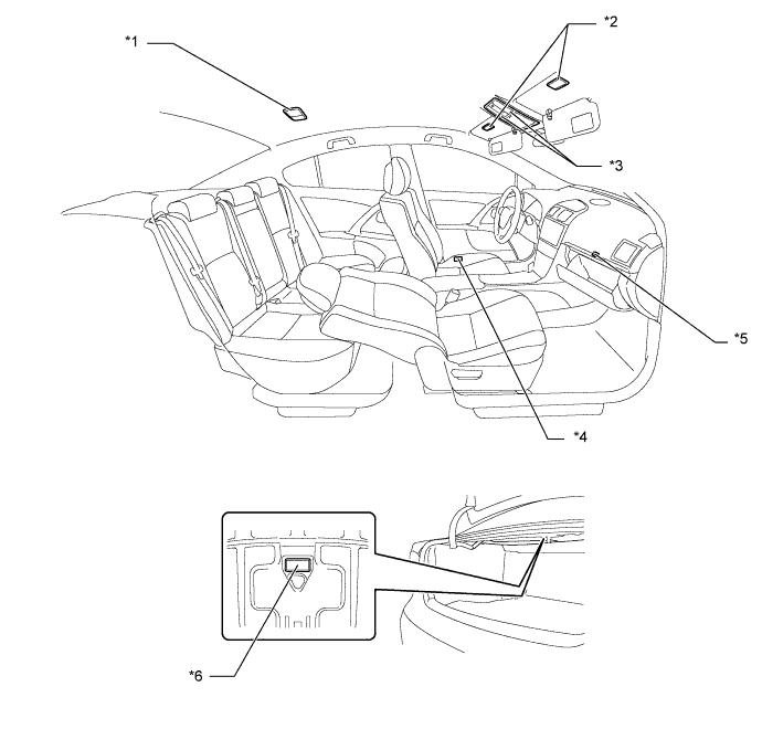
A00OWURE01
Text in Illustration (for LHD Sedan Models)
*1 Room Light *2 Vanity Light
*3 Map Light *4 Door Courtesy Light
*5 Glove Box Light *6 Luggage Compartment Light
A00OWGSE01
Text in Illustration (for LHD Wagon Models)
*1 Room Light *2 Vanity Light
*3 Map Light *4 Luggage Compartment Light
*5 Door Courtesy Light *6 Glove Box Light