WIRELESS DOOR LOCK CONTROL SYSTEM DETAILS

  1. FUNCTION OF MAIN COMPONENTS

    1. The main components in the wireless door lock control system have the following functions:

      Component Function
      Door Courtesy Light Switch Assembly Detects whether the doors are open or closed and sends this information to the main body ECU.
      Door Lock Assembly Door Lock Motor Drives the motor in response to signals from the main body ECU and locks or unlocks the doors.
      Door Lock Position Switch Detects whether the doors are locked or unlocked and sends this information to the main body ECU.
      Double Lock Motor*1 Drives the motor by signals from the double lock door control relay and activates or cancels the double locking system.
      Double Lock Position Switch*1 Detects the operating conditions of the double lock motor and sends this information to the double lock door control relay assembly.
      Luggage Compartment Door Lock Assembly*2 Door Lock Motor Drives the motor in response to signals from the main body ECU and locks or unlocks the luggage compartment door.
      Luggage Compartment Door Courtesy Light Switch Detects whether the luggage compartment door is open or closed and sends this information to the main body ECU.
      Back Door Lock Assembly*3 Door Lock Motor Drives the motor in response to signals from the main body ECU and locks or unlocks the back door.
      Back Door Courtesy Light Switch Detects whether the back door is open or closed and sends this information to the main body ECU.
      Double Lock Door Control Relay Assembly*1 Drives the double lock motor by means of the signals from the main body ECU, position switch and so on.
      Door Control Receiver Receives a lock or unlock signal from the transmitter and sends this information to the main body ECU.
      Main Body ECU
      • Drives all door lock motors in response to signals from each.

      • Sends an operation request signal to the double lock door control relay assembly in response to each signal.

      • *1: Models with double locking system

      • *2: Sedan models

      • *3: Wagon models

  2. FUNCTION

    1. The wireless door lock control system has the following functions:

      Function Outline Customized Body Electronics System
      All Doors Lock Pressing the "lock" button of the transmitter locks all doors. Standard (Not Customizable)
      All Doors Unlock Pressing the "unlock" button of the transmitter unlocks all doors. Standard (Not Customizable)
      Automatic Lock Function If none of the doors are opened for 30 seconds after being unlocked by the wireless door lock control, all the doors are locked again automatically. Standard*1
      Answer Back The hazard light flashes once when locking, and flashes twice when unlocking, to inform that the operation has been completed. Standard*1
      Luggage Compartment Door Unlock*2 Pressing the "luggage compartment door open" button of the transmitter unlocks the luggage compartment door. Standard (Not Customizable)
      Back Door Unlock*3 Pressing the "back door open" button of the transmitter unlocks the back door. Standard (Not Customizable)

      Tech Tips

      *1: Customize parameters can be configured by means of the customized body electronics system. For details, refer to the AVENSIS Repair Manual.

      *2: Sedan models

      *3: Wagon models

  3. CONSTRUCTION

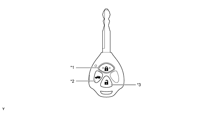
    1. Transmitter

      1. The transmitter for the wireless door lock control has a "lock" button, "unlock" button, and "luggage compartment door open"*1 or "back door open"*2 button.

        • *1: Sedan models

        • *2: Wagon models

        A0039VUE01
        Text in Illustration
        *1 Lock Button *2 Luggage Compartment Door*a or Back Door*b Open Button
        *3 Unlock Button - -
        • *a: Sedan models

        • *b: Wagon models

  4. DIAGNOSIS

    1. If there is a malfunction in the system, the main body ECU stores the Diagnostic Trouble Codes (DTCs) in its memory. For details, refer to the AVENSIS Repair Manual.