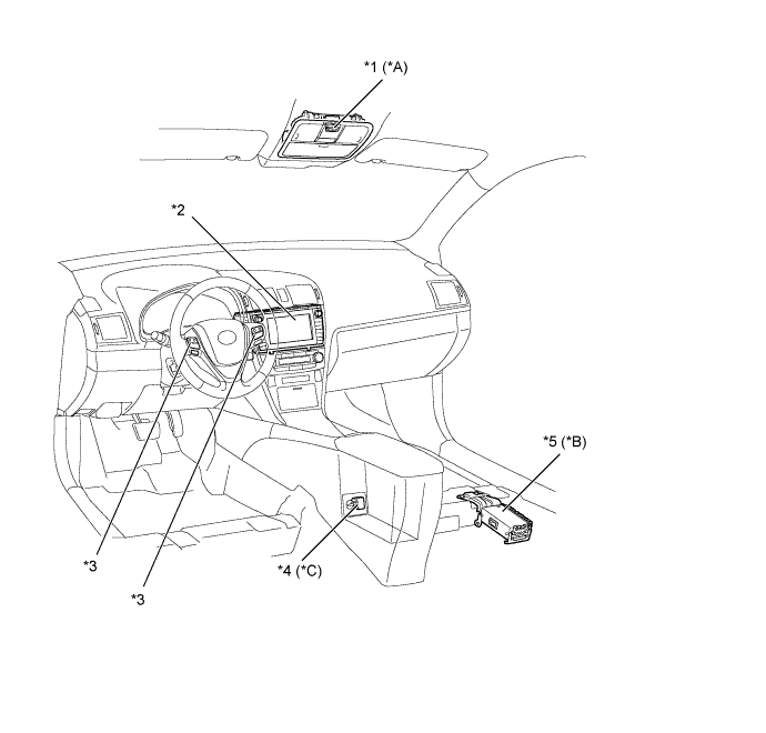
| *A | Models with Bluetooth Hands-free System | *B | Models with 11-speaker System |
| *C | Models without SD Navigation Receiver Assembly | - | - |
| *1 | Overhead Console - Microphone Assembly |
*2 | Audio Head Unit |
| *3 | Steering Pad Switch | *4 | Stereo Jack Adapter Assembly |
| *5 | Stereo Component Amplifier Assembly | - | - |
| *A | Models with 11-speaker System | - | - |
| *1 | Rear Tweeter LH | *2 | Rear Speaker LH |
| *3 | Rear Tweeter RH | *4 | Rear Speaker RH |
| *5 | Print Antenna | *6 | Amplifier Antenna Assembly |
| *7 | Roof Antenna Pole Sub-assembly | - | - |
| *1 | Center Speaker | *2 | Front Woofer RH |
| *3 | Front Squawker RH | *4 | Front Tweeter RH |
| *5 | Front Tweeter LH | *6 | Front Squawker LH |
| *7 | Front Woofer LH | - | - |
| *1 | Front Speaker RH | *2 | Front Tweeter RH |
| *3 | Front Tweeter LH | *4 | Front Speaker LH |