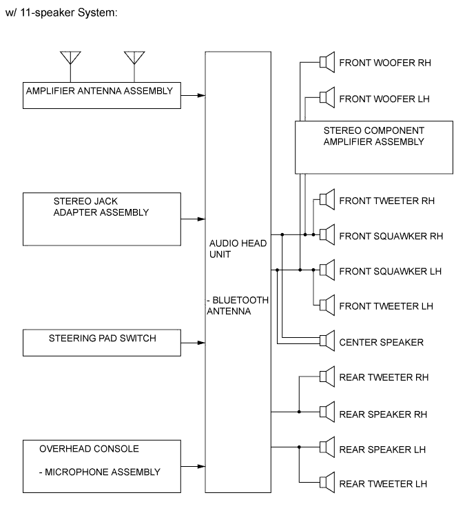
AUDIO AND VISUAL SYSTEM SYSTEM DIAGRAM

A00DVCJE01
A00DV4XE01