| *1 | Headlight Swivel Motor RH*a | *2 | Headlight Leveling Motor RH*a |
| *3 | Power Window Regulator Master Switch Assembly | *4 | Front Power Window ECU*b |
| *5 | Rain Sensor*c | *6 | Rear Power Window ECU RH*d |
| *7 | Sliding Roof Control ECU*e | *8 | Headlight Swivel Motor LH*a |
| *9 | Headlight Leveling Motor LH*a | *10 | Front Power Window ECU*f |
| *11 | Rear Power Window ECU LH*d | - | - |
*a: Models with intelligent AFS
*b: Provided in the driver side on RHD models and provided in the front passenger side on LHD models
*c: Models with raindrop sensing function
*d: Models with rear power window control system
*e: Models with roof sunshade system
*f: Provided in the front passenger side on RHD models and provided in the driver side on LHD models
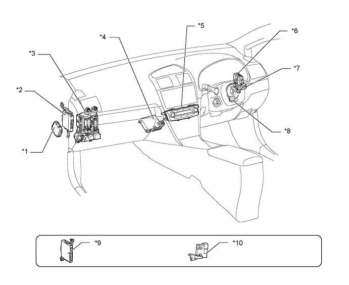
| *1 | Headlight Swivel ECU Assembly*a | *2 | Power Management Control ECU |
| *3 | Main Body ECU (Instrument Panel Junction Block Assembly) | *4 | Air Conditioning Amplifier Assembly |
| *5 | Air Conditioning Control Assembly | *6 | Windshield Wiper Relay Assembly*b |
| *7 | Double Lock Door Control Relay Assembly*c | *8 | Steering Lock ECU*d |
| *9 | Certification ECU*d | *10 | ID Code Box*d |
*a: Models with intelligent AFS
*b: Models with raindrop sensing function
*c: Models with double locking system
*d: Models with entry and start system