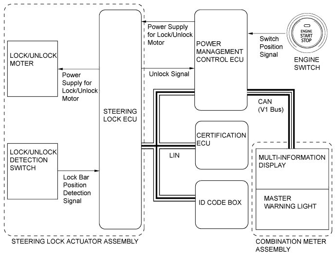
STEERING LOCK SYSTEM SYSTEM DIAGRAM

A0039RDE01