LUBRICATION SYSTEM GENERAL

  1. OUTLINE

    1. The lubrication circuit is fully pressurized and the oil passes through an oil filter.

    2. The trochoid gear type oil pump assembly is chain-driven by the crankshaft.

    3. This engine has an oil return system in which the oil is force-fed to the upper cylinder head and returns to the oil pan through the oil return hole in the cylinder head.

    4. This engine uses the Dual Variable Valve Timing-intelligent (Dual VVT-i) system. This system is operated by the engine oil.

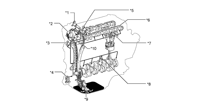
      A0076D0E01
      Text in Illustration
      *1 Camshaft Timing Oil Control Valve Assembly (Exhaust) *2 Camshaft Timing Gear Assembly (Exhaust VVT-i Controller)
      *3 No. 1 Chain Tensioner Assembly *4 Oil Filter
      *5 Camshaft Timing Oil Control Valve Assembly (Intake) *6 Oil Delivery Pipe
      *7 Valve Lash Adjuster Assembly *8 No. 1 Sub-assembly Oil Nozzle
      *9 Oil Pump Assembly *10 Camshaft Timing Gear Assembly (Intake VVT-i Controller)