| *1 | Front Speed Sensor RH | *2 | Throttle Body - Throttle Control Motor - Throttle Position Sensor |
| *3 | Rear Speed Sensor RH | *4 | Park/Neutral Position Switch Assembly*a |
| *5 | ECM | *6 | Front Speed Sensor LH |
| *7 | Skid Control ECU | *8 | Electric Parking Brake ECU*b |
| *9 | Rear Speed Sensor LH | - | - |
*a: Models with CVT
*b: Models with manual transaxle
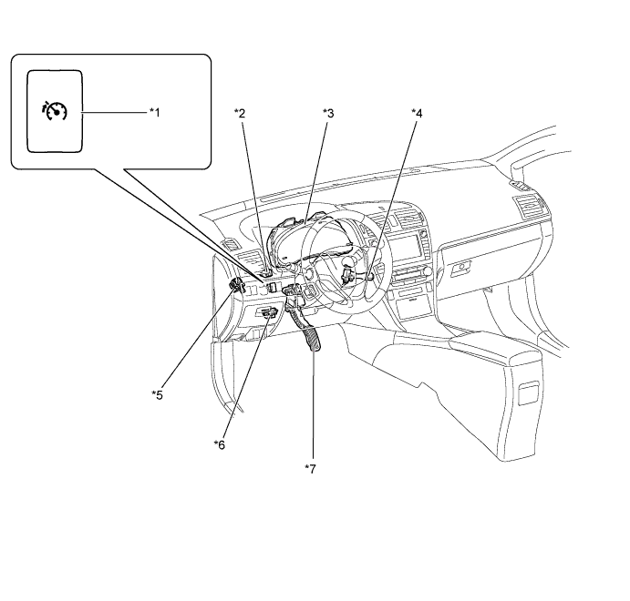
| *1 | Speed Limiter Main Switch*a | *2 | Stop Light Switch Assembly |
| *3 | Combination Meter Assembly | *4 | Cruise Control Switch |
| *5 | Clutch (Brake) Pedal Stroke Sensor Assembly*b | *6 | DLC3 |
| *7 | Accelerator Pedal Assembly - Position Sensor |
- | - |
*a: Models with speed limiter control
*b: Models with manual transaxle