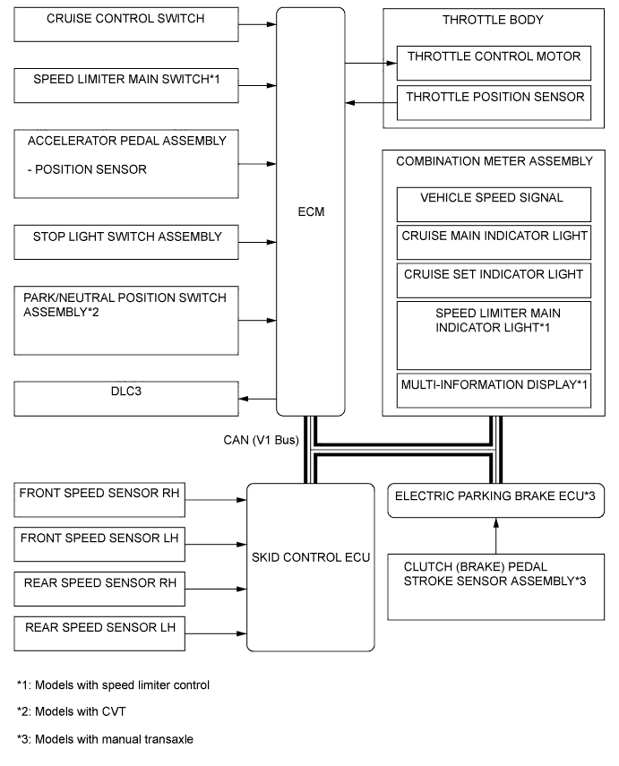
CRUISE CONTROL SYSTEM SYSTEM DIAGRAM

A0076OOE01