ECD SYSTEM DETAILS


  1. FUNCTION OF MAIN COMPONENTS


    1. The main components of the 1KD-FTV engine control system are as follows:

      Components Outline Quantity Function
      Engine ECU 32-bit CPU 1 The engine ECU effects overall control of the engine control system to suit the operating conditions of the engine in accordance with the signals provided by the sensors.
      EDU DC/DC Converter 1 The EDU is used to drive the injector at high speeds. The EDU has realized high-speed driving under high fuel pressure conditions through the use of a DC/DC converter that provides a high voltage, quick-charging system.
      Turbo Pressure Sensor Semiconductor Silicon Chip Type 1 This sensor uses built-in semiconductors to detect the intake manifold pressure.
      Atmospheric Pressure Sensor Semiconductor Silicon Chip Type 1 This sensor, which is built into the engine ECU, uses semiconductors to detect the atmospheric pressure.
      Fuel Pressure Sensor Semiconductor Strain Gauge Type 1 This sensor uses built-in semiconductors to detect the internal pressure of the common-rail.
      Crankshaft Position Sensor Pick-up Coil Type (Rotor Teeth/36-2) 1 This sensor detects the engine speed and performs the cylinder identification.
      Camshaft Position Sensor Pick-up Coil Type (Rotor Teeth/5) 1 This sensor performs the cylinder identification.
      Air Flow Meter Hot-wire Type 1 This sensor uses a built-in hot-wire to directly detect the intake air mass and flow rate.
      Atmospheric Temperature Sensor Thermistor Type 1
      • This sensor, which is provided at the air cleaner outlet, detects the intake air temperature by means of an internal thermistor.

      • This sensor is built into the air flow meter.

      Water Temperature Sensor Thermistor Type 1 This sensor detects the water temperature by means of an internal thermistor.
      Intake Air Temperature Sensor Thermistor Type 1 This sensor detects the intake air temperature after the intercooler.
      Fuel Temperature Sensor Thermistor Type 1 This sensor detects the fuel temperature in the supply pump by means of an internal thermistor.
      Throttle Position Sensor Non-contact Type 1 This sensor detects the throttle valve opening angle.
      Nozzle Vane Position Sensor Non-contact Type 1 This sensor detects the nozzle vane position.
      Accelerator Pedal Position Sensor Contact Type 1 This sensor detects the amount of pedal effort applied to the accelerator pedal.
      EGR Valve Position Sensor Contact Type 1 This sensor detects the actual amount of the EGR valve opening.
      SCV (Suction Control Valve) Linear Solenoid Valve 1 The SCV position is controlled by the signals from the engine ECU, and a fuel volume that suits the SCV position is drawn into the pumping portion (plunger portion).
      Injector 8-hole Type 4 The injector contains a solenoid valve that opens and closes to increase or decrease the pressure in the control chamber. This causes the nozzle needle to open and close the valve, which results in fuel injection.
  2. SYSTEM CONTROL


    1. The engine control system of the 1KD-FTV engine has the following system.

      System Outline New Model Previous Model
      1KD-FTV 2KD-FTV
      Fuel Injection Volume Control Based on the signals received from the sensors, the engine ECU determines the fuel injection volume in accordance with the engine condition.
      Fuel Injection Timing Control Based on the signals received from the sensors, the engine ECU determines the fuel injection timing in accordance with the engine condition.
      Fuel Pressure Control Based on the signals received from the sensors, the engine ECU controls fuel pressure using the SCV (Suction Control Valve) and pressure discharge valve according to the engine condition. -
      Based on the signals received from the sensors, the engine ECU controls fuel pressure using the SCV according to the engine condition. -
      Pilot Injection Control Based on the signals received from the sensors, the engine ECU determines pilot injection volume/timing, and interval (between pilot injection and main injection) in accordance with the engine condition.
      During Starting Control To facilitate startability, the engine ECU optimally controls the injection volume and injection timing during starting.
      Idle Speed Control The engine ECU determines the idle speed in accordance with the engine condition, and controls the fuel injection volume in order to maintain the target idle speed.
      Glow Plug Control Controls the length of time when the current is applied to the glow plugs, in accordance with the water temperature.
      Throttle Control Based on the signals received from the various sensors, the engine ECU determines throttle valve position in accordance with the engine condition. -
      Fully close the throttle valve in order to reduce the vibration when the engine is stopped.
      Swirl Control Based on the signals received from the sensors, the engine ECU controls the vacuum that is directed to the actuator via the VSV, in order to open and close the valve. -
      Turbocharger Control Based on the signals received from the sensors, the engine ECU controls the actuator in accordance with the engine condition. -
      EGR Control Based on the signals received from the sensors, the engine ECU determines the EGR volume via EGR valve and throttle valve in accordance with the engine condition.
      Charging Control*1 During the engine starting, the engine ECU stops the voltage generation in the alternator. After the engine has started, the engine ECU controls the charging voltage of the alternator in accordance with battery temperature. -
      Oil Maintenance Management System*2 This system indirectly determines the deterioration of the engine oil based on the information provided by the engine ECU. When the engine ECU determines engine oil and oil filter deterioration, the engine oil change reminder light turns ON to inform the driver.
      Exhaust Gas Control System Based on the signals received from the sensors, the engine ECU controls the exhaust control valve in accordance with the engine condition. -
      Diagnosis When the engine ECU detects a malfunction, the engine ECU diagnoses and memorizes the failed section.
      Fail-safe When the engine ECU detects a malfunction, the engine ECU stops or controls the engine according to the data already stored in the memory.

      • *1: Models with 2 Batteries

      • *2: for Europe

  3. FUNCTION


    1. Fuel Injection Volume Control


      1. The engine ECU calculates two types of values: the basic injection volume and the maximum injection volume. Then, the engine ECU compares the basic and maximum injection volumes, and determines a smaller calculated value to be the final injection volume.

        A01KA71E01
        A01KAHXE01
        A01KA5SE01
    2. Fuel Injection Timing Control


      1. Fuel injection timing is controlled as shown below.

        A01KACUE01
    3. Idle Speed Control


      1. Fuel injection timing is controlled as shown below.

        A01KA63E01
    4. During Starting Control (Injection Volume Control)


      1. The starting injection volume is determined by adjusting the basic injection volume in accordance with the starter ON signals (ON time), water temperature sensor signals and engine speed signal. When the engine is cold, the water temperature will be lower and the injection volume will be greater.

        A01KAFKE01
    5. During Starting Control (Injection Timing Control)


      1. To determine the starting injection timing, the target injection timing is corrected in accordance with the starter signals, water temperature, and engine speed. When the water temperature is low, if the engine speed is high, the injection timing is advanced.

        A01KAA4E01
    6. Pilot Injection Control


      1. Pilot injection is a method that provides auxiliary fuel injection before the main injection takes place. The purpose of pilot injection is to gently start the combustion of the fuel of the main injection in order to reduce combustion noise.

        State Pilot Injection Ordinarily Injection
        Fuel Injection A01KA9EE01 A01KAB8
        Combustion Pressure A01KAG4 A01KABF
      2. During pilot injection, the pilot injection volume, timing, and interval (between pilot injection and main injection) are controlled as shown below.

        A01KABRE01
    7. Fuel Pressure Control


      1. Engine ECU calculates the target injection pressure (25-180 MPa) based on the engine conditions which are the signals from the accelerator pedal position sensor and the crankshaft position sensor. To control fuel pressure, signals sent to SCV (Suction Control Valve) of the supply pump regulate the suction volume and signals sent to pressure discharge valve of the common-rail regulate the discharge volume, so that the pressure detected by the fuel pressure sensor matches the target injection pressure.

        A01KAEPE01
    8. Oil Maintenance Management System (for Europe)


      1. An oil maintenance management system is used. This system determines the deterioration condition of the engine oil and illuminates an engine oil change reminder light to inform the driver when the engine oil and oil filter must be changed. Accordingly, the maintenance intervals (30,000 km maximum) that correspond to the actual deterioration conditions of the engine oil have been realized.

      2. Pressing the engine oil change reminder light reset switch in the combination meter for a minimum of 0.8 seconds turns OFF the engine oil change reminder light and resets the cumulative soot value and the cumulative driven distance.

        A01KAG1E01

        Tech Tips

        The monitor ECU is provided with a function to flash the engine oil change reminder light if an open circuit occurs in the transmission line to the engine ECU. For details, refer to the Repair Manual.

    9. Throttle Control


      1. The opening of the throttle valve is controlled by the engine ECU in accordance with engine conditions. As a result, the noise that is generated during idling and deceleration, as well as the noise and vibration that are generated when the engine is stopped, have been reduced.

        A01KA86E01
    10. Swirl Control


      1. The engine ECU determines the swirl control valve position (open or closed) based on the engine conditions (engine speed and accelerator pedal position). Then, it switches the vacuum that is applied to the actuator diaphragm via the VSV, in order to open and close the swirl control valve.

      2. In the low engine speed range, the engine ECU closes the swirl control valve to strengthen the swirl in the combustion chamber, thus promoting the mixture of fuel and air and stabilizing combustion. When the engine speed increases to the medium or high-speed range, the engine ECU fully opens the swirl control valve. On a cold engine, the engine ECU fully closes the swirl control valve to reduce the amount of white smoke emissions.

        A01KAAWE01
    11. Turbocharger Control


      1. The engine ECU controls the nozzle vane position using the turbo motor driver, in order to obtain the calculated target turbo pressure appropriate to the engine operating condition.

      2. The engine ECU calculates the optimal nozzle vane position in accordance with the driving conditions (engine speed, injection volume, atmospheric pressure, water temperature, etc.), and sends a target nozzle vane position signal to the turbo motor driver. The turbo motor driver controls the nozzle vane position in accordance with this signal and the actual nozzle vane position signal provided by the nozzle vane position sensor.

        A01KA66E01
  4. CONSTRUCTION


    1. Air Flow Meter


      1. The air flow meter of diesel engine uses precise fuel injection volume control and EGR control to realize clean emission.

      2. The plug-in type air flow meter is used, and this allows a portion of the intake air to flow through the detection area. By directly measuring the mass and the flow rate of the intake air, the detection precision is ensured and the intake air resistance is reduced.

      3. The air flow meter has a built-in atmospheric temperature sensor.

        A01KA5ME01
        Text in Illustration
        *1 Temperature Sensing Element *2 Hot-Wire Element
        *3 Atmospheric Temperature Sensor - -
        A01KAGS Air Flow - -
    2. Fuel Pressure Sensor


      1. The fuel pressure sensor, which is mounted on the common-rail, outputs a signal that represents the fuel pressure in the common-rail to the engine ECU in order to constantly regulate the fuel at an optimal pressure.

      2. The fuel pressure sensor contains two circuits (main and sub), which enable the engine ECU to constantly compare the values detected by the two circuits. As a result, highly precise values can be detected, which also enable a higher level of fail-safe control.

        A01KA9ZE01
        Text in Illustration
        *1 Terminal *2 Capacitor
        *3 Sensor Module *4 Pressure Detecting Portion
        A01KA5VE01
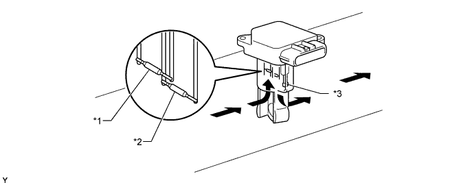
    3. Turbo Pressure Sensor


      1. The turbo pressure sensor consists of a semiconductor which utilizes the characteristic of a silicon chip that changes its electrical resistance when pressure is applied to it. The sensor converts the intake air pressure into an electrical signal, and sends it to the engine ECU in an amplified form.

        A01KA9UE01
        Text in Illustration
        *1 Sensor Unit - -
        A01KA7KE01
    4. Crankshaft Position Sensor and Camshaft Position Sensor


      1. The timing rotor of the crankshaft consists of 34 teeth, with 2 teeth missing. The crankshaft position sensor outputs the crankshaft rotation signals every 10°, and the missing teeth are used to determine the top-dead-center.

      2. To detect the camshaft position, a protrusion that is provided on the timing pulley is used to generate 5 pulses for every 2 revolutions of the crankshaft.

        A01KADZE01
        Text in Illustration
        *1 Crankshaft Position Sensor *2 Camshaft Position Sensor
        *a 34 Pulse/360° CA *b 5 Pulse/720° CA
        A01KAEGE01
    5. Accelerator Pedal Position Sensor


      1. The accelerator pedal position sensor converts the acceleration pedal depressing angles into electrical signals with two differing characteristics and outputs them to the engine ECU. One is the VPA1 signal that linearly outputs the voltage along the entire range of the accelerator pedal depressed angle. The other is the VPA2 signal that outputs an offset voltage.

        A01KAAFE01
        Text in Illustration
        *1 Accelerator Pedal Position Sensor - -
        A01KA69E01
    6. Throttle Position Sensor


      1. The throttle position sensor is mounted on the throttle body, to detect the opening angle of the throttle valve. The throttle position sensor converts the magnetic flux density that changes when the magnetic yoke (located on the same axis as that of the throttle valve shaft) rotates around the hall IC into electric signals to operate the throttle control motor.

        A01KA61E01
        Text in Illustration
        *1 Hall IC *2 Magnetic Yoke
        *3 Throttle Valve - -
        A01KAH1E01
    7. Nozzle Vane Position Sensor


      1. The nozzle vane position sensor consists of a Hall IC and a magnetic yoke that rotates in unison with the movement of the linkage that actuates the nozzle vane. The nozzle vane position sensor converts the changes in the magnetic flux that are caused by the rotation of the DC motor (hence, the rotation of the magnetic yoke) into electric signals, and outputs them to the turbo motor driver. The turbo motor driver determines the actual nozzle vane position from the electric signals in order to calculate the target nozzle vane position.

        A01KAFPE01
        Text in Illustration
        *1 Hall IC *2 Magnetic Yoke
        *3 Sensor Vane - -
        *a Full Close *b Full Open
        A01KAGME01
  5. OPERATION


    1. Oil Maintenance Management System (for Europe)


      1. This system determines the deterioration of the engine oil in accordance with the soot volume in the engine oil.

      2. The engine ECU calculates the soot volume in the engine oil in accordance with the engine speed, injection timing, injection volume, and intake air mass. The engine ECU converts the soot volume into pulse signals and transmits the signals to the monitor ECU. The monitor ECU counts the pulse signals as the soot volume, and illuminates the engine oil change reminder light when the cumulative value reaches a prescribed value.

      3. Thus, this system informs the driver that the engine oil and oil filter must be changed.

      4. In addition to controlling the illumination of the engine oil change reminder light by counting the soot volume, the monitor ECU illuminates the engine oil change reminder light when the vehicle's driven distance reaches 30,000 km. Thus, this function enhances the reliability of the system.

        A01KAI3E01
        A01KAC4E01

        Tech Tips

        This system does not determine the deterioration of the engine oil based on the elapsed time. Even if the engine oil change reminder light does not illuminate, the engine oil and oil filter should be changed at 2-year intervals at the maximum.

  6. FAIL-SAFE


    1. Fail-safe Operation


      1. When a malfunction is detected by any of the sensors, there is a possibility of an engine or other malfunction occurring if the engine ECU were to continue to control the engine control system in the normal way. To prevent such a problem, the fail-safe function of the engine ECU either relies on the data stored in memory to allow the engine control system to continue operating, or stops the engine if a hazard is anticipated. For details, refer to the Repair Manual.

  7. DIAGNOSIS


    1. The diagnosis system of the 1KD-FTV engine uses the EURO-OBD (EURO On-Board Diagnosis).

    2. When the engine ECU detects a malfunction, the engine ECU makes a diagnosis and memorizes the failed section. Furthermore, the check engine warning light in the combination meter illuminates or blinks to inform the driver.

    3. The engine ECU also stores the DTCs (Diagnostic Trouble Codes) of the malfunctions. The DTCs can be read by connecting the SST (09843-18040) to the TC and CG terminals of the DLC3, and observing the blinking of the check engine warning light (2-digit code), or by connecting the intelligent tester to the DLC3 (5-digit code).

    4. By using the intelligent tester, the ECU data can be read out. Moreover, the ACTIVE TEST can be used to drive the actuator by means of the intelligent tester.

    5. The engine ECU can output freeze-frame data to the intelligent tester. This data is stored in the engine ECU at the very moment when the engine ECU detects its last data of malfunction.

    6. To clear the DTC that is stored in the engine ECU, use the intelligent tester, and disconnect the battery terminal or remove the EFI fuse for 1 minute or longer.

    7. For details, refer to the Repair Manual.