WHEN REMOVING,INSTALLING,REPAIRING OR REPLACING PARTS WHEEL ALIGNMENT STANDARD

The necessary procedures (adjustment, calibration, initialization, or registration) that must be performed after completing the front wheel alignment procedure are shown below.

Necessary Procedure After Parts Removed/Installed/Replaced
Replacement Part or Procedure Necessary Procedures Effects/Inoperative when not Performed
Suspension, tires, etc.
  • Ultrasonic sensor detection angle

  • Ultrasonic sensor detection angle registration

Parking support brake system

  • Parking assist ECU initialization

  • Adjust steering angle

  • Rear television camera view adjustment (for Rear camera detection system)

Panoramic view monitor system
Rear television camera assembly optical axis (Back camera position setting) Parking assist monitor system

    w/o Air Suspension System:

  • Replacement of the rear height control sensor sub-assembly LH, removal and reinstallation of the rear height control sensor sub-assembly LH, replacement of the suspension, etc. have been performed.

Perform headlight ECU sub-assembly LH initialization Automatic headlight beam level control system
Parts between the steering wheel and tires have been removed/installed, replaced or adjusted Perform Actuator Angle Neutral Point Calibration and Initialization
  • Variable gear ratio steering system

  • Steering wheel off-center

  • DTCs are output

The necessary procedures (adjustment, calibration, initialization, or registration) that must be performed after completing the rear wheel alignment procedure are shown below.

Necessary Procedure After Parts Removed/Installed/Replaced
Replacement Part or Procedure Necessary Procedures Effects/Inoperative when not Performed
Suspension, tires, etc.
  • Ultrasonic sensor detection angle

  • Ultrasonic sensor detection angle registration

Parking support brake system

  • Parking assist ECU initialization

  • Adjust steering angle

  • Rear television camera view adjustment (for Rear camera detection system)

Panoramic view monitor system
Rear television camera assembly optical axis (Back camera position setting) Parking assist monitor system

    w/o Air Suspension System:

  • Replacement of the rear height control sensor sub-assembly LH, removal and reinstallation of the rear height control sensor sub-assembly LH, replacement of the suspension, etc. have been performed.

Perform headlight ECU sub-assembly LH initialization Automatic headlight beam level control system
Parts between the steering wheel and tires have been removed/installed, replaced or adjusted Perform Actuator Angle Neutral Point Calibration and Initialization
  • Variable gear ratio steering system

  • Steering wheel off-center

  • DTCs are output


  1. MEASURE VEHICLE HEIGHT (for 2WD)

    Note


    • Before inspecting the wheel alignment, adjust the vehicle height to the specified value.

    • Be sure to perform measurement on a level surface.

    • If it is necessary to go under the vehicle for measurement, confirm that the parking brake is applied and the vehicle is secured with chocks.

    • Inspect while the vehicle is unloaded.

    • The standard value shown here is a value that is used for performing a wheel alignment and does not indicate the height of an actual vehicle.


    1. Bounce the vehicle up and down at the corners to stabilize the suspension.

    2. Measure the vehicle height.

      B0054VQN01

        Measurement Points:

      • A: Ground clearance of front wheel center


      • B: Ground clearance of front center position of front No. 2 suspension lower arm assembly front bush installation bolt


      • C: Ground clearance of rear wheel center


      • D: Ground clearance of pin hole center of the rear suspension arm attachment sub-assembly

    3. INSPECT CAMBER, CASTER AND STEERING AXIS INCLINATION (FRONT WHEEL ALIGNMENT, for 2WD)

      Note

      Inspect while the vehicle is unloaded.


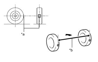
      1. B0054UEC16
    4. *a Turning Radius Gauge
      *b Camber-caster-kingpin Gauge

Install a camber-caster-kingpin gauge and place the front wheels on the center of a turning radius gauge.

  • Inspect the camber, caster and steering axis inclination.

  • INSPECT TOE-IN (FRONT WHEEL ALIGNMENT, for 2WD)

    Note

    Inspect while the vehicle is unloaded.


    1. Bounce the vehicle up and down at the corners to stabilize the suspension.

    2. Release the parking brake and move the shift lever to N.

    3. Push the vehicle straight ahead approximately 5 m (16.4 ft.). (Step C)

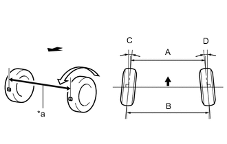
    4. B0054X7C01
  • *a Tread Center Mark
    *b Dimension B
    B0054VU Front of the Vehicle
  • Put tread center marks on the rearmost points of the front wheels and measure the distance between the marks (dimension B).

  • Slowly push the vehicle straight ahead to cause the front wheels to rotate 180°. Use the front tire valve as a reference point.

    Tech Tips

    Do not allow the wheels to rotate more than 180°. If the wheels rotate more than 180°, perform the procedure from step C again.

  • B0054UBC01
    *a Dimension A
    B0054VU Front of the Vehicle

    Measure the distance between the tread center marks on the front of the wheels (dimension A).

    Tech Tips

    Measure "B - A" only when "C + D" cannot be measured.

    If the toe-in is not within the specified range, adjust it at the steering rack ends.

  • INSPECT WHEEL ANGLE (FRONT WHEEL ALIGNMENT, for 2WD)


    1. B0054X3C03
  • *a Inside
    *b Outside
    B0054VU Front of the Vehicle

    Put tread center marks on the rearmost points of a turning radius gauge.

  • Turn the steering wheel fully to the left and right and measure the turning angle.

    Note

    Inspect while the vehicle is unloaded.


  • MEASURE VEHICLE HEIGHT (for AWD)

    Note


    • Before inspecting the wheel alignment, adjust the vehicle height to the specified value.

    • Be sure to perform measurement on a level surface.

    • If it is necessary to go under the vehicle for measurement, confirm that the parking brake is applied and the vehicle is secured with chocks.

    • Inspect while the vehicle is unloaded.

    • The standard value shown here is a value that is used for performing a wheel alignment and does not indicate the height of an actual vehicle.


    1. Bounce the vehicle up and down at the corners to stabilize the suspension.

    2. Measure the vehicle height.

      B0054VQN01

        Measurement Points:

      • A: Ground clearance of front wheel center


      • B: Ground clearance of front center position of front No. 2 suspension lower arm assembly front bush installation bolt


      • C: Ground clearance of rear wheel center


      • D: Ground clearance of pin hole center of the rear suspension arm attachment sub-assembly

  • INSPECT CAMBER, CASTER AND STEERING AXIS INCLINATION (FRONT WHEEL ALIGNMENT, for AWD)

    Note

    Inspect while the vehicle is unloaded.


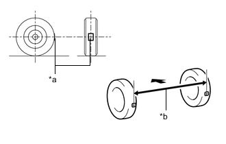
    1. B0054UEC16
  • *a Turning Radius Gauge
    *b Camber-caster-kingpin Gauge

    Install a camber-caster-kingpin gauge and place the front wheels on the center of a turning radius gauge.

  • Inspect the camber, caster and steering axis inclination.

  • INSPECT TOE-IN (FRONT WHEEL ALIGNMENT, for AWD)

    Note

    Inspect while the vehicle is unloaded.


    1. Bounce the vehicle up and down at the corners to stabilize the suspension.

    2. Release the parking brake and move the shift lever to N.

    3. Push the vehicle straight ahead approximately 5 m (16.4 ft.). (Step C)

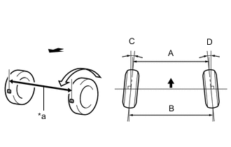
    4. B0054X7C01
  • *a Tread Center Mark
    *b Dimension B
    B0054VU Front of the Vehicle

    Put tread center marks on the rearmost points of the front wheels and measure the distance between the marks (dimension B).

  • Slowly push the vehicle straight ahead to cause the front wheels to rotate 180°. Use the front tire valve as a reference point.

    Tech Tips

    Do not allow the wheels to rotate more than 180°. If the wheels rotate more than 180°, perform the procedure from step C again.

  • B0054UBC01
    *a Dimension A
    B0054VU Front of the Vehicle

    Measure the distance between the tread center marks on the front of the wheels (dimension A).

    Tech Tips

    Measure "B - A" only when "C + D" cannot be measured.

    If the toe-in is not within the specified range, adjust it at the steering rack ends.

  • INSPECT WHEEL ANGLE (FRONT WHEEL ALIGNMENT, for AWD)


    1. B0054X3C03
  • *a Inside
    *b Outside
    B0054VU Front of the Vehicle

    Put tread center marks on the rearmost points of a turning radius gauge.

  • Turn the steering wheel fully to the left and right and measure the turning angle.

    Note

    Inspect while the vehicle is unloaded.


  • INSPECT CAMBER (REAR WHEEL ALIGNMENT)

    Note

    Inspect while the vehicle is unloaded.


    1. B0054WGC10
  • *a Camber-caster-kingpin Gauge

    Install a camber-caster-kingpin gauge.

  • w/ Air suspension:

    Inspect the camber.

    Tech Tips

    Camber is not adjustable. If the measurement is not within the specified range, inspect the suspension parts for damage and/or wear, and replace them if necessary.

  • w/o Air suspension:

    Inspect the camber.

  • Tech Tips

    Camber is not adjustable. If the measurement is not within the specified range, inspect the suspension parts for damage and/or wear, and replace them if necessary.

  • INSPECT TOE-IN (REAR WHEEL ALIGNMENT)

    Note

    Inspect while the vehicle is unloaded.


    1. Bounce the vehicle up and down at the corners to stabilize the suspension.

    2. Release the parking brake and move the shift lever to N.

    3. Push the vehicle straight ahead approximately 5.0 m (16.4 ft.). (Step A)

    4. B0054X7C02
  • *a Tread Center Mark
    *b Dimension B
    B0054VU Front of the Vehicle

    Put tread center marks on the rearmost points of the rear wheels and measure the distance between the marks (dimension B).

  • Slowly push the vehicle straight ahead to cause the rear wheels to rotate 180°. Use the rear tire valve as a reference point.

    Tech Tips

    Do not allow the wheels to rotate more than 180°. If the wheels rotate more than 180°, perform the procedure from step A again.

  • B0054UBC02
    *a Dimension A
    B0054VU Front of the Vehicle

    Measure the distance between the tread center marks on the front of the rear wheels (dimension A).

    Tech Tips

    Measure "B - A" only when "C + D" cannot be measured.

    If the toe-in is not within the specified range, adjust it at the toe control link sub-assembly.