ROCKER OUTER PANEL CUT AND JOIN REPLACEMENT SECTIONS (LARGE AREAS)

A01R1N0

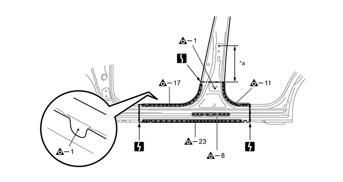
  1. REMOVAL

    Symbol Meaning
    A01R1KN Remove Weld Points
    A01R1MP Cut and Join Location
    A01R1MG Cut Location for Supply Parts
    A01R1NBC01
    *a 340 mm (13.39 in.) - -
    A01R1SR

    1. When replace only the outer panel, please cut off a necessary range depending on a damage range.


      1. Carefully cut the outer panel so not to damage the reinforcement.

      2. Make sure that butt welding does not heat-affect the reinforcement when welding the outer panel.

  2. INSTALLATION

    Symbol Meaning
    A01R1OT Plug Weld
    A01R1LT Butt Weld

    1. Inspect the fitting of the related parts around the new parts before welding. This affects the appearance of the finish.

    2. Temporarily install the new parts and measure each part of the new parts in accordance with the body dimension diagram. (See the body dimensions)

      A01R1KJC01
      *1 CENTER BODY PILLAR OUTER - -
    3. After applying the top coat, apply anti-rust agent to the internal panel portion of the closed section structural weld points.