ROOF PANEL(for Glass Roof) ASSEMBLY REPLACEMENT

A01R31J

  1. REMOVAL

    Symbol Meaning
    B0055SH Remove Weld Points
    A01R347
    B00560X
  2. INSTALLATION

    Symbol Meaning
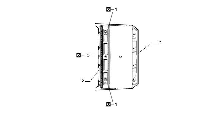
    B0055YM Spot Weld
    B0055QO Plug Weld
    B0055SK Body Sealer

    1. Inspect the fitting of the related parts around the new parts before welding. This affects the appearance of the finish.

    2. Temporarily install the new parts and measure each part of the new parts in accordance with the body dimension diagram. (See the body dimensions)

    3. Before temporarily installing the new parts, apply body sealer to the roof panel reinforcement.

      Tech Tips

      Apply enough body sealer to the panels.

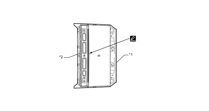
      A01R2VEC02
      *1 ROOF PANEL *2 ROOF PANEL REINFORCEMENT
    4. Before temporarily installing the new parts, weld the roof panel and roof panel reinforcement with the standard number of welding points.

      A01R35EC02
      *1 ROOF PANEL *2 ROOF PANEL REINFORCEMENT
    5. Before temporarily installing the new parts, apply body sealer to the windshield header panel and back door opening frame.

      Tech Tips

      Apply enough body sealer to the panels.

      A01R2U2C02
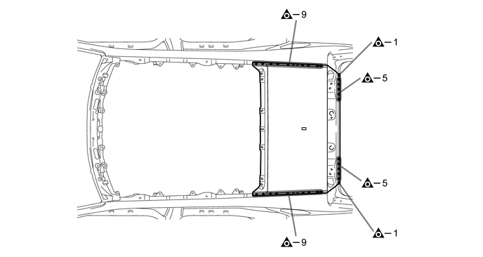
      *1 BACK DOOR OPENING FRAME - -
    6. Weld the roof panel to the vehicle side.

      A01R31GC02
      *1 ROOF PANEL - -
      B0055V9
    7. After welding, apply body sealer to the corresponding parts. (See the painting / coating)

    8. After applying the top coat, apply anti-rust agent to the internal panel portion of the closed section structural weld points.