ROCKER REAR PANEL CUT AND JOIN REPLACEMENT SECTIONS

B00554E


  1. REMOVAL

    Symbol meaning
    B00550I Remove Weld Points
    B00555W Remove Weld Points
    B00554K Cut and Join Location
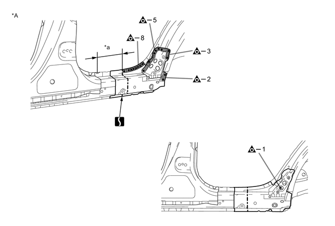
    B005550C04
    *A w/o Rear No. 2 Seat - -
    *a 190 mm (7.48 in.) - -
    B00552Z Laser Screw Welding - -
    B00554PC03
    *A w/o Rear No. 2 Seat - -
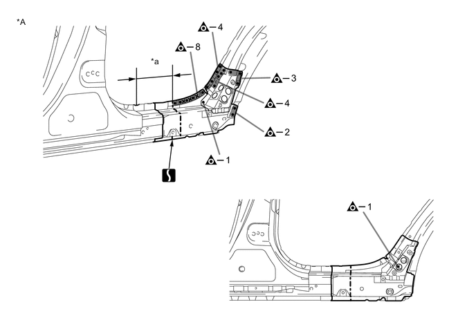
    B005594C03
    *A w/ Rear No. 2 Seat - -
    *a 190 mm (7.48 in.) - -
    B00552Z Laser Screw Welding - -
    B00551QC03
    *A w/ Rear No. 2 Seat - -
  2. INSTALLATION

    Symbol meaning
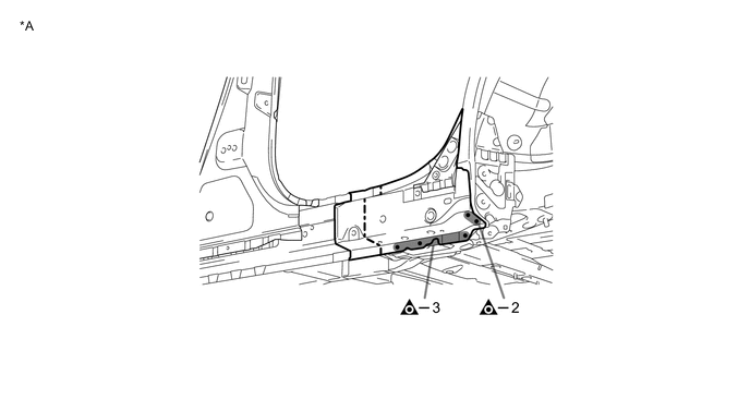
    B005570 Plug Weld
    B005527 Plug Weld
    B00554K Cut and Join Location
    B005529 Butt Weld

    1. Inspect the fitting of the related parts around the new parts before welding. This affects the appearance of the finish.

    2. Temporarily install the new parts and measure each part of the new parts in accordance with the body dimension diagram. (See the body dimensions)

    3. If the entire supply part is not needed, remove the part of the supply part that is needed.

      B00558PC04
      *A w/o Rear No. 2 Seat - -
      *1 ROCKER REINFORCE SUB-ASSEMBLY OUTER - -
      *a 145 mm (5.71 in.) - -
    4. Weld the rocker reinforce sub-assembly outer to the vehicle side.

      B00556AC04
      *A w/o Rear No. 2 Seat - -
      *1 ROCKER REINFORCE SUB-ASSEMBLY OUTER - -
      B00552Z Laser Screw Welding - -
      B00559TC03
      *A w/o Rear No. 2 Seat - -
    5. If the entire supply part is not needed, remove the part of the supply part that is needed.

      B00556LC03
      *A w/ Rear No. 2 Seat - -
      *1 ROCKER REINFORCE SUB-ASSEMBLY OUTER - -
      *a 145 mm (5.71 in.) - -
    6. Weld the rocker reinforce sub-assembly outer to the vehicle side.

      B00555ZC03
      *A w/ Rear No. 2 Seat - -
      *1 ROCKER REINFORCE SUB-ASSEMBLY OUTER - -
      B00552Z Laser Screw Welding - -
      B00550HC03
      *A w/ Rear No. 2 Seat - -
    7. After applying the top coat, apply anti-rust agent to the internal panel portion of the closed section structural weld points.