RADIATOR SUPPORT ASSEMBLY REPLACEMENT

A01Q0FN

  1. REMOVAL

    Symbol Meaning
    A01Q0FO Remove Weld Points
    A01Q0K3

    1. Perform the replacement with the A attached to the vehicle.

      Tech Tips

      If the A is damaged, replace the A.

      A01Q0CTC01
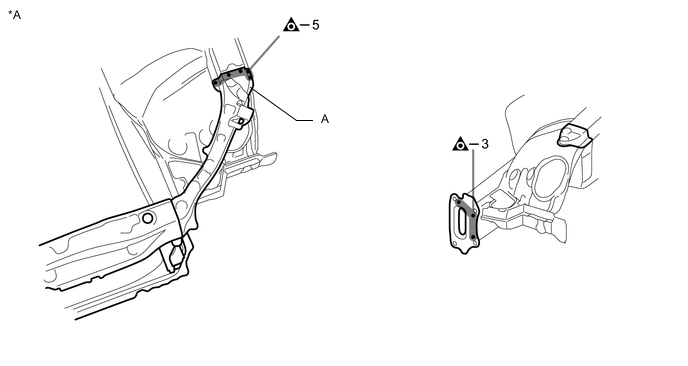
      *A LH Side - -
    2. Perform the replacement with the A attached to the vehicle.

      Tech Tips

      If the A is damaged, replace the A.

      A01Q0ECC01
      *A RH Side - -
  2. INSTALLATION

    Symbol Meaning
    A01Q0J0 Plug Weld

    1. Inspect the fitting of the related parts around the new parts before welding. This affects the appearance of the finish.

    2. Temporarily install the new parts and measure each part of the new parts in accordance with the body dimension diagram. (See the body dimensions)

    3. After removing and installing the millimeter wave radar sensor assembly, perform the necessary adjustments.

      A01Q09TC01
      *1 RADIATOR SUPPORT SUB-ASSEMBLY *2 RADIATOR SUPPORT UPPER
      *3 FRONT CROSS MEMBER SUB-ASSEMBLY *4 FRONT BUMPER MOUNTING REINFORCE SUB-ASSEMBLY
      A01Q0FV N*m (kgf*cm, ft.*lbf) : Specified torque - -
      A01Q0IIC01
      *A LH Side - -
      *1 FRONT BUMPER ARM MOUNTING BRACKET - -
      A01Q0H9C01
      *A RH Side - -
      *1 FRONT BUMPER ARM MOUNTING BRACKET - -
    4. After applying the top coat, apply anti-rust agent to the internal panel portion of the closed section structural weld points.

    5. Measure the dimensions before installing the headlights.

      A01Q0MBC01
      *A for LHD *B for RHD