СИСТЕМА НАВИГАЦИИ / МУЛЬТИИНФОРМАЦИОННАЯ СИСТЕМА РАСПОЛОЖЕНИЕ ДЕТАЛЕЙ

A01FCEEE02
Обозначения на рисунке
*A для моделей с системой ночного видения Lexus - -
*1 Датчик положения паркинга/нейтрали в сборе *2 ECM
*3

Лампа индивидуального освещения в сборе

- Микрофон телефона в сборе

*4 Задняя телекамера в сборе
*5 Компонентный стереоусилитель в сборе *6 ЭБУ ночного видения № 1
*7 Телефонная антенна в сборе *8 Правый передний динамик № 2 в сборе
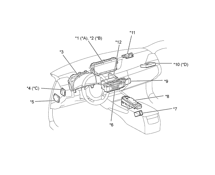
A01FBSHE01
Обозначения на рисунке
*A для моделей с 8-дюймовым дисплеем *B для моделей с 12,3-дюймовым дисплеем
*C для моделей с сенсорной системой помощи при парковке LEXUS *D для моделей с приемопередатчиком системы обработки и передачи и информации (DCM)
*1 Многофункциональный дисплей *2 Вспомогательный индикатор
*3 Щиток приборов в сборе *4 ЭБУ предупреждения о недопустимой дистанции в сборе
*5 ЭБУ помощи при движении в сборе *6 Приемник мультимедийного модуля в сборе
*7 Переходник стереогнезда в сборе *8 Сенсорный пульт дистанционного управления
*9 ЭБУ сетевого шлюза *10 Приемопередатчик системы обработки и передачи информации (DCM)
*11 Антенна системы навигации в сборе *12 Блок управления системой кондиционирования