СИСТЕМА РУЛЕВОГО УПРАВЛЕНИЯ С УСИЛИТЕЛЕМ РАСПОЛОЖЕНИЕ ДЕТАЛЕЙ

A01FBW8E01
Обозначения на рисунке
*1 Правый передний датчик частоты вращения *2

Тяга рулевого управления с усилителем в сборе

- Электродвигатель

- Датчик крутящего момента

- Датчик угла поворота

- Редуктор

*3 Левый передний датчик частоты вращения *4 ЭБУ рулевого управления с усилителем
*5 Левый задний датчик частоты вращения *6 ЭБУ заднего рулевого управления (для моделей с системой LDH)
*7 Правый задний датчик частоты вращения *8

Блок управления рабочими цилиндрами тормозов в сборе

- ЭБУ системы противоскольжения

*9 ECM - -
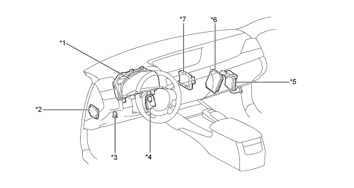
A01FBTBE01
Обозначения на рисунке
*1

Щиток приборов в сборе

- Контрольная лампа рулевого управления с усилителем

- Мультиинформационный дисплей

- Главная контрольная лампа аварийного состояния

*2 ЭБУ помощи при движении в сборе (для моделей с системой помощи при движении по полосе)
*3 DLC3 *4 Датчик положения рулевого колеса
*5 ЭБУ амортизаторов (для моделей с AVS) *6 ЭБУ переднего рулевого управления (для моделей с системой LDH)
*7 Блок управления системой кондиционирования - -