СИСТЕМА ОСЕЙ ОБЩИЕ СВЕДЕНИЯ


  1. ОПИСАНИЕ


    1. Передний мост


      1. Используется цельный двухрядный радиально-упорный шариковый подшипник.

      2. Во внутреннее кольцо подшипника встроен ротор датчика частоты вращения.

        A01FBL8E01
        Обозначения на рисунке (для моделей с приводом на одну ось)
        *1 Ротор датчика частоты вращения *2 Датчик частоты вращения
        *3 Ступица переднего колеса *4 Двухрядный радиально-упорный подшипник
        A01FBKWE01
        Обозначения на рисунке (для моделей с постоянным полным приводом)
        *1 Ротор датчика частоты вращения *2 Ступица переднего колеса
        *3 Двухрядный радиально-упорный подшипник - -
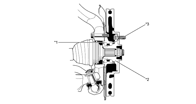
    2. Задний мост


      1. Используется цельный двухрядный радиально-упорный шариковый подшипник.

      2. Во внутреннее кольцо подшипника встроен ротор датчика частоты вращения.

        A01FC6GE01
        Обозначения на рисунке
        *1 Ротор датчика частоты вращения *2 Двухрядный радиально-упорный подшипник
        *3 Ступица заднего колеса - -