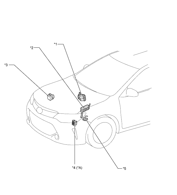
CRUISE CONTROL SYSTEM PARTS LOCATION

A01FCKVE03
Text in Illustration
*A Models with 2GR-FE Engine - -
*1

Throttle Body with Motor Assembly

- Throttle Control Motor

- Throttle Position Sensor

*2 ECM
*3

Brake Actuator Assembly

- Skid Control ECU

*4 TCM
*5 Park/Neutral Position Switch Assembly - -
A01FCNBE01
Text in Illustration (LHD Models:)
*1 Combination Meter Assembly *2 Cruise Control Switch
*3 VSC OFF Switch *4

Lower Shift Lever Assembly

- Transmission Control Switch

*5 Stop Light Switch Assembly *6 Accelerator Pedal Sensor Assembly
*7 DLC3 - -
*a Cruise Control Indicator Light *b Cruise Control SET Indicator Light
*c Multi-information Display - -
A01FCQPE04
Text in Illustration (RHD Models:)
*1 Combination Meter Assembly *2 Cruise Control Switch
*3 VSC OFF Switch *4

Lower Shift Lever Assembly

- Transmission Control Switch

*5 Stop Light Switch Assembly *6 Accelerator Pedal Sensor Assembly
*7 DLC3 - -
*a Cruise Control Indicator Light *b Cruise Control SET Indicator Light
*c Multi-information Display - -