FUEL SYSTEM DETAILS


  1. CONSTRUCTION


    1. Fuel Delivery Pipe


      1. Fuel delivery pipe sub-assemblies made of plastic are used to realize weight reduction.

      2. The right and left fuel delivery pipe sub-assemblies are connected by a nylon tube.

      3. The fuel pressure pulsation damper assembly is sealed with an O-ring and secured with a clip.

        A01FCVLE01
        Text in Illustration
        *1 Fuel Delivery Pipe Sub-assembly *2 Clip
        *3 Fuel Pressure Pulsation Damper Assembly *4 O-ring
        *5 Nylon Tube - -
    2. Fuel Tank Assembly


      1. A fuel tank assembly made of sheet steel is used.

      2. Low fuel vapor permeability is achieved by the use of sheet steel.

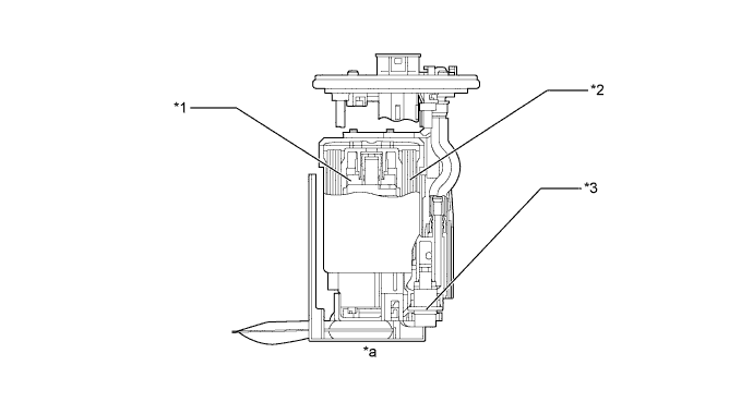
    3. Fuel Suction Tube with Pump and Gauge Assembly


      1. A compact fuel pump, fuel filter and fuel pressure regulator assembly are integrated into the fuel suction tube with pump and gauge assembly.

        A01FCNQE01
        Text in Illustration
        *1 Fuel Pump *2 Fuel Filter
        *3 Fuel Pressure Regulator Assembly - -
        *a Cross Section - -