СИСТЕМА АВТОМАТИЧЕСКОЙ ТРАНСМИССИИ ДЕТАЛЬНОЕ ОПИСАНИЕ


  1. СИСТЕМА УПРАВЛЕНИЯ


    1. Электронный блок управления автоматической трансмиссией в блоке с главной передачей U660E выполняет перечисленные ниже функции.

      Функция управления Описание
      Управление порядком переключения передач Исходя из сигналов различных датчиков TCM подает ток в электромагнитные клапаны переключения передач SL1, SL2, SL3, SL4, SL и SLU для переключения передач.
      Регулирование давления между муфтами Система регулирует давление, которое подается непосредственно на муфты C1, C2 и тормоза B1, B3, путем управления электромагнитными клапанами переключения передач (SL1, SL2, SL3 и SL4) в соответствии с сигналами TCM.
      Управление линейным давлением Посредством электромагнитного клапана переключения передач SLT система управляет линейным давлением согласно данным TCM и режиму работы трансмиссии.
      Регулировка моментов включения/выключения блокировки Исходя из сигналов различных датчиков TCM подает ток в электромагнитные клапаны переключения передач SL и SLU, включая или выключая муфту блокировки.
      Гибкое управление муфтой блокировки Путем управления электромагнитным клапаном переключения передач SLU муфта блокировки устанавливается в промежуточное состояние между включенным и выключенным состояниями, в результате чего расширяется рабочий диапазон муфты блокировки, и обеспечивается экономия топлива.
      Координированное управление силовой передачей Система совместно управляет переключением передач и мощностью двигателя для достижения превосходных характеристик переключения и управляемости.
      Управление понижением передач при замедлении Чтобы предотвратить снижение частоты вращения коленчатого вала двигателя и тем самым сохранить отсечку топлива, TCM выполняет переключения на более низкие передачи, прежде чем закончится отсечка топлива.
      Непосредственное понижение передач В системе обеспечивается непосредственное понижение передач. Это дает автомобилю возможность переключаться непосредственно с 6-й передачи на 3-ю или с 5-й передачи на 2-ю, что позволяет избегать излишних переключений и сокращает время перехода на более низкую передачу при резком нажатии педали акселератора.
      Интеллектуальное управление переключением передач (управление AI-shift) На основании сигналов от различных датчиков TCM оценивает дорожные условия и намерение водителя. В результате автоматически определяется оптимальная схема переключения передач, что улучшает управляемость.
      Автоматическое управление в режиме "multimode" Когда рычаг переключения передач находится в положении S, TCM управляет работой автоматической трансмиссии в соответствии с выбранным диапазоном.
      Система блокировки селектора Устройство управления блокировкой селектора в сборе не позволяет устанавливать рычаг переключения передач в какое-либо положение помимо P, если выключатель зажигания не находится в состоянии ON (ВКЛ), и не нажата педаль тормоза.
      Работа в аварийном режиме При обнаружении неисправности в датчиках или электромагнитных клапанах TCM переходит в аварийный режим управления, чтобы предотвратить существенное ухудшение управляемости автомобиля.
      Диагностика Когда TCM обнаруживает неисправность, он регистрирует ее и сохраняет в памяти связанную с ней информацию.
    2. Регулирование давления между муфтами


      1. Для управления переключением передач используется регулирование давления между муфтами. В результате управление переключением на 2-й и более высоких передачах осуществляется без применения муфты свободного хода, благодаря чему автоматическая трансмиссия стала легче и компактнее.

      2. При переключении передач TCM оптимизирует давление жидкости и моменты переключения, управляя каждой муфтой и каждым тормозом исходя из частот вращения на входе и выходе трансмиссии, крутящего момента двигателя и прочих данных. TCM изменяет передачи посредством контуров давления жидкости, которые позволяют независимо управлять муфтами и тормозами (C1, C2, B1 и B3), и электромагнитных клапанов переключения передач SL1, SL2, SL3 и SL4 с высокой пропускной способностью, которые непосредственно регулируют линейное давление. В результате достигаются высокая чувствительность и превосходные характеристики переключения передач.

        A01FCMUE07
    3. Управление линейным давлением


      1. Линейное давление регулируется с использованием электромагнитного клапана переключения передач SLT.

      2. Посредством электромагнитного клапана переключения передач SLT система поддерживает оптимальное линейное давление в соответствии с данными о крутящем моменте двигателя и режимами работы гидротрансформатора и трансмиссии.

      3. Это дает возможность точно регулировать магистральное давление в зависимости от мощности двигателя, условий движения и температуры жидкости для автоматических трансмиссий, вследствие чего обеспечивается плавность переключения передач, и оптимизируется рабочая нагрузка масляного насоса (уменьшаются паразитные потери).

        A01FD6PE02
    4. Регулировка моментов включения/выключения блокировки


      1. Когда рычаг переключения передач находится в положении D, либо выбран диапазон S6, S5 или S4, блок управления трансмиссией регулирует моменты включения/выключения блокировки, обеспечивая снижение расхода топлива на 2-й и более высоких передачах.

        A01FCWLE04
        Действие блокировки:
        Передача Диапазон или положение рычага переключения передач
        D или S6 S5 S4
        1-я X X X
        2-я
        3-я
        4-я
        5-я -
        6-я - -

        Tech Tips

        ○: действует

        X: не действует

        -: не применимо

    5. Гибкое управление муфтой блокировки


      1. При разгоне управление распределением мощности между муфтой блокировки и гидротрансформатором значительно увеличивает КПД трансмиссии в соответствии с условиями движения, что способствует повышению экономии топлива.

      2. Гибкое управление муфтой блокировки действует даже при замедлении автомобиля (когда педаль акселератора опущена). Как следствие, расширяется зона отсечки топлива двигателя, а также снижается расход топлива.

      3. За счет сохранения действия гибкого управления муфтой блокировки во время переключения передач достигается плавная передача крутящего момента. В результате дополнительно повышается экономия топлива, и улучшается управляемость.

      4. Для гибкого управления блокировкой используется нелинейное управление "H-бесконечность" (H∞), что обеспечивает высокую устойчивость системы и быструю реакцию на изменения различных характеристик.

        A01FCJOE06
      5. Диапазон гибкого управления блокировкой расширен. Гибкая блокировка включается с начала движения автомобиля для снижения частоты вращения коленчатого вала двигателя и экономии топлива.

        A01FD6GE01
        Действие гибкой блокировки:
        Передача Диапазон или положение рычага переключения передач
        D S6 S5 S4
        1-я X X X
        2-я
        3-я
        4-я ○* ○* ○* ○*
        5-я ○* ○* ○* -
        6-я ○* ○* - -

        Tech Tips

        ○: действует

        X: не действует

        -: не применимо

        *: гибкое управление муфтой блокировки также действует при замедлении автомобиля.

    6. Координированное управление силовой передачей


      1. Когда автомобиль трогается с места, интеллектуальная электронная система управления дроссельной заслонкой (ETCS-i) в реальном времени оптимально регулирует мощность двигателя в соответствии с крутящим моментом гидротрансформатора в переходном режиме. Благодаря этому достигаются высокое быстродействие и плавный разгон, обеспечивая превосходные характеристики разгона.

        A01FD4CE01
      2. Во время замедления TCM определяет передачу, которая должна быть установлена после отпускания (полного) педали акселератора, по характеру отпускания педали акселератора (т.е. в зависимости от того, быстро или медленно отпускается педаль). В результате во время замедления исключаются ненужные переключения на более высокие передачи, не соответствующие намерениям водителя. Кроме того, при повторном разгоне автомобиля исключаются ненужные переключения на более низкие передачи, что обеспечивает плавный разгон.

        A01FCWBE06
      3. За счет координации управления с интеллектуальной электронной системой управления дроссельной заслонкой (ETCS-i) и электронной системой регулирования угла опережения зажигания (ESA), а также электронного управления скоростью подачи/сброса гидравлических давлений сцепления и торможения достигаются высокое быстродействие и ослабление толчков при включении передач.

        A01FCN1E04
    7. Управление понижением передач при замедлении


      1. TCM управляет понижением передач, ограничивая уменьшение частоты вращения коленчатого вала двигателя и, тем самым, максимально долго сохраняя отсечку топлива. В результате повышается экономия топлива.

      2. Благодаря этому управлению, когда автомобиль начинает замедлять ход на 6-й передаче, трансмиссия переключается с 6-й передачи на 5-ю, а затем с 5-й передачи на 4-ю до возобновления подачи топлива с тем, чтобы отсечка топлива не прекращалась.

        A01FD61E01
    8. Непосредственное понижение передач


      1. При обычном управлении понижением передач переключение с 6-й передачи на 3-ю или с 5-й передачи на 2-ю производится через промежуточные передачи, чтобы обеспечить плавную характеристику разгона. В дополнение к обычному управлению в данном автомобиле используется непосредственное понижение передач. В этом режиме управления ненужные промежуточные переключения пропускаются, что позволяет автомобилю переключаться непосредственно с 6-й передачи на 3-ю или с 5-й передачи на 2-ю.

      2. Непосредственное понижение передач происходит при резком нажатии педали акселератора и дает возможность переключаться непосредственно на требуемые более низкие передачи за короткое время, исключая лишние переключения. При непосредственном понижении передач особое внимание уделяется сокращению времени, затрачиваемому на включение необходимой передачи. Когда педаль акселератора нажимается медленно, используется обычное управление понижением передач, что обеспечивает плавную характеристику разгона. Таким образом, описанная логика позволяет изменять быстроту понижения передач в соответствии с намерениями водителя.

        A01FCJ9E01
    9. Интеллектуальное управление переключением передач (управление AI-shift)


      1. Передача автоматической трансмиссии определяется схемой переключения передач и выбирается исходя из скорости автомобиля и угла поворота дроссельной заслонки.

      2. При этом управление AI-shift дает блоку управления трансмиссией возможность оценивать дорожные условия и намерение водителя, чтобы автоматически оптимальным образом корректировать схему переключения передач. Как следствие, обеспечивается комфортный ход.

      3. Управление AI-shift включает в себя вспомогательное управление в зависимости от дорожных условий и вспомогательное управление в зависимости от намерения водителя.

      4. Управление AI-shift оптимизирует управление трансмиссией в блоке с главной передачей исходя из входных сигналов и автоматически изменяет схему переключения передач.

        A01FCRIE03
      5. Реализуя вспомогательное управление в зависимости от дорожных условий, TCM определяет угол поворота дроссельной заслонки, скорость автомобиля, а также направление движения автомобиля на склоне (вверх или вниз). Чтобы обеспечить оптимальное тяговое усилие при движении вверх по склону, данное управление исключает лишние переключения на более высокие передачи. Чтобы обеспечить торможение двигателем при движении вниз по склону, данная функция автоматически понижает передачу.

        A01FCGSE01
      6. Исходя из состояния педали акселератора и режима работы автомобиля TCM оценивает намерение водителя, чтобы выбрать схему переключения, наиболее подходящую конкретному водителю, и избавить последнего от необходимости использовать переключатель выбора режима, применяемый в обычных моделях.

    10. Автоматическое управление в режиме "multimode"


      1. Режим автоматического управления "multimode" позволяет водителю переключать диапазоны передач. После перевода рычага переключения передач в положение S водитель получает возможность выбрать желаемый диапазон передач, смещая рычаг переключения в положение "+" или "-". Таким образом, водитель может переключать передачи по ощущению, как в механической трансмиссии.

      2. Режим автоматического управления "multimode" предназначен только для переключения диапазонов передач, он не позволяет водителю вручную выбирать отдельные передачи.

      3. Когда автомобиль движется со скоростью, превышающей максимальную безопасную скорость для понижения передачи, все попытки выбрать более низкий диапазон с помощью рычага переключения передач игнорируются. Это реализовано, чтобы защитить автоматическую трансмиссию. В то же время ECM дважды включает зуммер на щитке приборов для предупреждения водителя.

        A01FCO1E01
      4. Водитель может установить режим S, переместив рычаг переключения передач в положение S. При этом в зависимости от скорости автомобиля будет выбран 4-й или 5-й диапазон переключения передач (в ходе управления AI-shift может быть выбран 3-й диапазон передач).

      5. При таком управлении блок управления трансмиссией управляет переключением передач в выбранном водителем приемлемом диапазоне. Когда автомобиль останавливается, выполняется переключение на 1-ю передачу (как в обычной автоматической трансмиссии).

      6. Положение рычага переключения передач и диапазон передач указываются посредством контрольной лампы включенной передачи на щитке приборов (индикация диапазона передач имеет место только в положении S рычага переключения передач и отсутствует, когда рычаг переключения передач находится в положении P, R, N или D).

      7. При установке рычага переключения передач в положение S, загорается контрольная лампа режима S на щитке приборов. Контрольные лампы включенной передачи указывают диапазон переключения передач, выбранный водителем.

      8. При удержании рычага переключения передач (предварительно установленного в положение S) в положении "+" независимо от текущего диапазона (S1-S5) устанавливается диапазон передач S6.

      9. Чтобы предотвратить чрезмерное увеличение частоты вращения коленчатого вала двигателя, предусмотрена функция, которая автоматически выбирает более высокий диапазон передач, прежде чем частота вращения оказывается слишком большой.

      10. Кроме того, чтобы защитить автоматическую трансмиссию, реализована функция, которая автоматически выбирает более высокий диапазон передач при повышенной температуре трансмиссионной жидкости.

        A01FCNFE01
        Обозначения на рисунке
        *a Переходы между диапазонами переключения *b Схема переключения
        A01FCLT Диапазон передач по умолчанию - -
        Таблица допустимых передач:
        Диапазон передач Контрольная лампа включенной передачи Допустимые передачи
        S6 6 1-я - 6-я
        S5 5 1-я - 5-я
        S4 4 1-я - 4-я
        S3 3 1-я - 3-я
        S2 2 1-я - 2-я
        S1 1 1-я
    11. Система блокировки селектора


      1. Система блокировки селектора работает под управлением ЭБУ блокировки селектора.

      2. Механизм блокировки селектора не позволяет устанавливать рычаг переключения передач в какое-либо положение помимо P, если выключатель зажигания не находится в состоянии ON (ВКЛ) (IG), и не нажата педаль тормоза. Этот механизм помогает предотвратить непреднамеренный разгон.

      3. В систему блокировки селектора входят, прежде всего, ЭБУ блокировки селектора, электромагнитный клапан блокировки селектора и кнопка ручной разблокировки селектора.

        A01FCM7E03
      4. ЭБУ блокировки селектора определяет положение рычага переключения передач с помощью датчика положения P, а также принимает сигналы от выключателя стоп-сигналов и главного ЭБУ кузова (бортового ЭБУ сети мультиплексной связи). Исходя из этих сигналов ЭБУ блокировки селектора включает соленоид блокировки селектора с тем, чтобы разблокировать рычаг переключения передач.

  2. КОНСТРУКЦИЯ


    1. Корпус дифференциала


      1. Радиус кривизны отверстия корпуса дифференциала в месте, где сосредоточивается напряжение растяжения во время движения, был увеличен, что позволило снизить концентрацию напряжения, и увеличить предельный крутящий момент корпуса дифференциала. Это, в свою очередь, дало возможность использовать облегченный дифференциал с 2 сателлитами.

        A01FCZLE02
    2. Гидротрансформатор в сборе


      1. В трансмиссии используется компактный облегченный мощный гидротрансформатор.

      2. Благодаря оптимальной конструкции гидравлических каналов и рабочего колеса гидротрансформатора существенно увеличен КПД трансмиссии, что привело к улучшению характеристик пуска и разгона, и позволило снизить расход топлива.

      3. Кроме того, в гидротрансформаторе используется механизм гидравлической блокировки, который устраняет потери из-за проскальзывания при передаче мощности на средних и высоких частотах вращения.

        A01FCSTE01
        Обозначения на рисунке
        *1 Муфта блокировки *2 Демпфер муфты блокировки
        *3 Муфта свободного хода *4 Статор
        *5 Ротор турбины *6 Рабочее колесо насоса
    3. Масляный насос в сборе


      1. Масляный насос приводится в движение гидротрансформатором. Он смазывает планетарные редукторы и создает рабочее давление жидкости для гидропривода.

      2. Для снижения массы конструкции крышка насоса изготавливается из алюминия.

        A01FCMME01
        Обозначения на рисунке
        *1 Корпус переднего масляного насоса и шестерен в сборе *2 Ведущая шестерня переднего масляного насоса
        *3 Ведомая шестерня переднего масляного насоса *4 Вал статора в сборе
    4. Сетчатый масляный фильтр


      1. Войлочный сетчатый масляный фильтр характеризуется малым весом, превосходной грязеулавливающей способностью и повышенной надежностью. Кроме того, он не нуждается в обслуживании.

        A01FCPXE01
        Обозначения на рисунке
        *1 Сетчатый масляный фильтр *2 Масляный поддон
    5. Порядок заправки трансмиссии трансмиссионной жидкостью


      1. Благодаря особому порядку заправки ATF достигается точная установка уровня ATF при ремонте или замене трансмиссии. Применяемые в обычной автоматической трансмиссии патрубок маслоналивной горловины и маслоизмерительный щуп более не используются, что устраняет необходимость проверять уровень жидкости в ходе планового технического обслуживания.

      2. В процессе заправки используются пробка наливного отверстия, пробка переливного отверстия, датчик температуры ATF и индикатор положения D. Порядок заправки трансмиссионной жидкостью подробно рассмотрен в руководстве по ремонту.

        A01FCXIE06
        Обозначения на рисунке
        *1 Пробка наливного отверстия *2 Пробка переливного отверстия
        *a Требуемый уровень - -
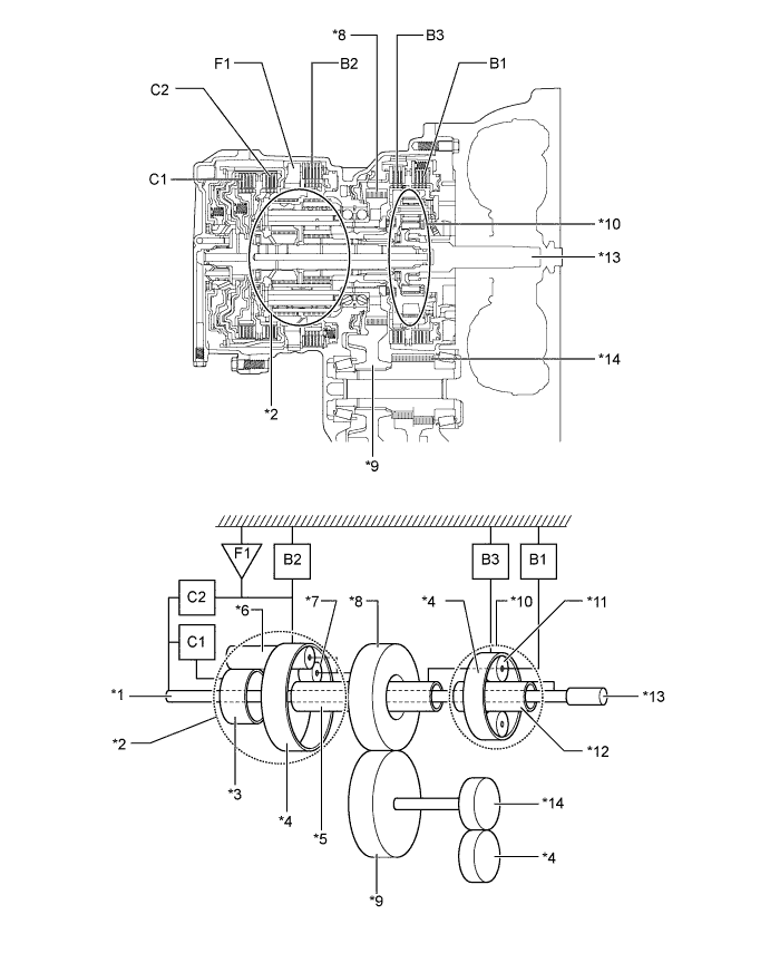
    6. Планетарный редуктор


      1. 6-ступенчатая конструкция трансмиссии реализована за счет использования 2 планетарных редукторов.

      2. Задний планетарный редуктор представляет собой редуктор типа Ravigneaux. Он состоит из пар входящих в одноступенчатую планетарную передачу солнечных шестерен (передней и задней) и сателлитов планетарной передачи (длинного и короткого) с различными диаметрами.

      3. В муфтах C1 и C2, приводимых в действие при переключении передач в диапазоне с 1-й по 6-ю, использован механизм подавления центробежной составляющей давления жидкости.

      4. Благодаря оптимальной форме канавок во фрикционных накладках тормозов и дисков сцепления уменьшается прихватывание.

        A01FD5TE03
        Обозначения на рисунке
        *1 Промежуточный вал *2 Планетарный редуктор Ravigneaux
        *3 Задняя солнечная шестерня *4 Коронная шестерня
        *5 Передняя солнечная шестерня *6 Длинный сателлит
        *7 Короткий сателлит *8 Промежуточная приводная шестерня
        *9 Промежуточная ведомая шестерня *10 Блок понижающей планетарной передачи
        *11 Ведущая шестерня (сателлит) *12 Солнечная шестерня
        *13 Первичный вал *14 Ведущая шестерня дифференциала
      5. Назначение муфт и тормозов рассматривается ниже.

        Устройство Функция
        C1 Муфта № 1 Соединяет промежуточный вал и солнечную шестерню задней планетарной передачи Ravigneaux.
        C2 Муфта № 2 Соединяет промежуточный вал и коронную шестерню планетарной передачи Ravigneaux.
        B1 Тормоз № 1 Препятствует вращению солнечной шестерни передней планетарной передачи Ravigneaux и водила понижающей планетарной передачи по часовой стрелке или против часовой стрелки.
        B2 Тормоз № 2 Препятствует вращению коронной шестерни планетарной передачи Ravigneaux по часовой стрелке или против часовой стрелки.
        B3 Тормоз № 3 Препятствует вращению коронной шестерни понижающей планетарной передачи по часовой стрелке или против часовой стрелки.
        F1 Муфта свободного хода № 1 Препятствует вращению коронной шестерни планетарной передачи Ravigneaux против часовой стрелки.
        Шестерни планетарной передачи Эти шестерни изменяют путь передачи движущей силы в зависимости от состояния каждой муфты и каждого тормоза с целью увеличения или уменьшения частот вращения на входе и выходе.
    7. Механизм подавления центробежной составляющей давления жидкости


      1. Механизм подавления центробежной составляющей давления жидкости применяется в муфтах C1 и C2 по следующей причине.

      2. На переключение муфт влияет не только корпус клапанов, который регулирует давление жидкости, но и центробежная составляющая давления жидкости, присутствующей в поршневой напорной камере муфты (камера A). В механизме подавления центробежной составляющей давления жидкости используется камера B, которая уменьшает действие центробежной составляющей давления жидкости в камере A. В результате обеспечиваются плавное переключение и отличное быстродействие.

        A01FCXKE01
        Обозначения на рисунке
        *1 Камера A *2 Камера B
        *3 Поршень - -
      3. Камера B заполняется жидкостью, подводимой к валу для смазки. В результате заполнения камеры B с обеих сторон поршня создаются одинаковые давления жидкости, обусловленные центробежной силой. Как следствие, нейтрализуется действие центробежной составляющей давления жидкости на поршень. Таким образом, устраняется необходимость сливать жидкость через шариковый обратный клапан, благодаря чему обеспечиваются высокое быстродействие и плавность переключения передач.

        A01FCQFE02
    8. Промежуточная приводная шестерня


      1. Опорами для промежуточной приводной шестерни и планетарного редуктора Ravigneaux служат радиально-упорные подшипники, что обеспечивает снижение сопротивления качению и уровня шума.

        A01FCRUE05
        Обозначения на рисунке
        *1 Радиально-упорный подшипник *2 Промежуточная приводная шестерня
    9. Поршни тормозов и муфт


      1. Применяются поршни 2 типов: неразрезной поршень, который приводит в действие муфту № 1 (C1) за счет поступательного движения, и разрезной поршень, который приводит в действие муфту № 2 (C2) за счет возвратного движения. Эти 2 типа поршней обеспечивают повышение компактности конструкции сцепления в целом.

      2. Когда разрезной поршень приводится в действие, из-за дребезга, вызванного разрезной частью поршня, происходит прихватывание муфты сцепления. Однако благодаря пружинам, размещенным на окружности поршня, этот дребезг ослабляется, и прихватывание муфты сцепления минимизируется.

      3. За счет установки поршня для тормоза № 3 (B3) вокруг промежуточной приводной шестерни удалось повысить компактность конструкции тормоза.

        A01FD7DE01
        Обозначения на рисунке
        *1 Пружина *2 Поршень (разрезной)
        *3 Поршень (неразрезной) *4 Разрезная часть
        *5 Поршень *6 Промежуточная приводная шестерня
    10. Корпус клапанов трансмиссии в сборе


      1. Корпус клапанов трансмиссии в сборе состоит из верхнего корпуса клапанов № 1, верхнего корпуса клапанов № 2 и нижнего корпуса клапанов, и вмещает 7 электромагнитных клапанов переключения передач (SL1, SL2, SL3, SL4, SLU, SLT, SL).

        A01FCQCE04
        Обозначения на рисунке
        *1 Электромагнитный клапан переключения передач SLU *2 Электромагнитный клапан переключения передач SL1
        *3 Электромагнитный клапан переключения передач SL4 *4 Электромагнитный клапан переключения передач SLT
        *5 Электромагнитный клапан переключения передач SL2 *6 Электромагнитный клапан переключения передач SL
        *7 Электромагнитный клапан переключения передач SL3 *8 Верхний корпус клапанов № 2
        *9 Пластина *10 Верхний корпус клапанов № 1
        *11 Нижний корпус клапанов *12 Электромагнитный регулирующий клапан
        *13 Клапан управления B2 *14 Регулирующий клапан B2
        *15 Регулирующий клапан управления сцеплением *16 Клапан управления сцеплением
        *17 Клапан последовательности *18 Первичный клапан-регулятор
        *19 Регулирующий клапан B1 - -
        A01FCGEE03
        Обозначения на рисунке
        *1 Клапан управления блокировкой *2 Релейный клапан блокировки
        *3 Реверсивный клапан последовательности *4 Вспомогательный клапан-регулятор
        *5 Верхний корпус клапанов № 2 *6 Нижний корпус клапанов
        *7 Положение установки электромагнитного клапана переключения передач SL *8 Положение установки электромагнитного клапана переключения передач SLT
        *9 Положение установки электромагнитного клапана переключения передач SLU *10 Положение установки электромагнитного клапана переключения передач SL2
        *11 Положение установки электромагнитного клапана переключения передач SL1 *12 Положение установки электромагнитного клапана переключения передач SL3
        *13 Положение установки электромагнитного клапана переключения передач SL4 - -
    11. Электромагнитные клапаны переключения передач SL1, SL2, SL3, SL4, SLU и SLT


      1. Электромагнитные клапаны переключения передач SL1, SL2, SL3, SL4, SLU и SLT создают в гидравлической системе давление, пропорциональное силе тока, протекающего через катушку электромагнита, и таким образом линейно регулируют линейное (магистральное) давление, а также давления включения муфт (сцепления) и тормозов на основе сигналов от TCM.

      2. Электромагнитные клапаны переключения передач SL1, SL2, SL3 и SL4 представляют собой линейные электромагнитные клапаны повышенного расхода, которые способны создавать большее давление по сравнению с обычными клапанами. Эти электромагнитные клапаны управляют сцепляющими механизмами, регулируя линейное давление без использования клапанов регулирования давления (клапанов управления) и редукционных клапанов (электромагнитных регулирующих клапанов). Такая конструкция позволяет сократить количество клапанов и длину гидравлического канала корпуса клапанов, благодаря чему повышается быстродействие механизма переключения, и значительно ослабляется толчок при включении передачи.

        A01FCL7E01
        A01FCIAE02
        Электромагнитный клапан переключения передач Функция
        SL1 Регулирование давления муфты C1
        SL2 Регулирование давления муфты C2
        SL3 Регулирование давления тормоза B1
        SL4 Регулирование давления тормоза B3
        SLU

        - Регулирование давления муфты блокировки

        - Регулирование давления тормоза B2

        SLT Управление линейным давлением
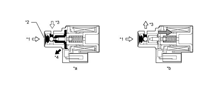
    12. Электромагнитный клапан переключения передач SL


      1. Электромагнитный клапан переключения передач SL представляет собой 3-ходовой электромагнитный клапан.

      2. Для улучшения эксплуатационной надежности упор электромагнитного клапана снабжен фильтром.

        A01FCULE05
        Обозначения на рисунке
        *1 Регулируемое давление *2 Фильтр
        *3 Управляющее давление *4 Слив
        *a Выключенное состояние *b Включенное состояние
        Электромагнитный клапан переключения передач Тип Функция
        SL 3-ходовой
        • - Управляет релейным клапаном блокировки.

        • - Управляет регулирующим клапаном B2 и реверсивным клапаном последовательности.

    13. TCM


      1. TCM отделен от ECM и монтируется непосредственно на трансмиссии. В результате жгут проводов стал короче, что позволило снизить вес конструкции. Все датчики и электромагнитные клапаны, используемые для управления автоматической трансмиссией, подключены непосредственно к TCM через разъем, расположенный спереди автоматической трансмиссии.

      2. TCM обменивается данными с ECM по мультиплексной шине CAN. Таким образом, управление двигателем координируется с работой ECT.

      3. Сверху автоматической трансмиссии крепится этикетка, на которой отпечатаны компенсационные коды автоматической трансмиссии и и быстросчитываемый код (QR). Этикетка содержит закодированную информацию о характеристиках автоматической трансмиссии. В случае замены автоматической трансмиссии необходимо ввести компенсационные коды в TCM с использованием портативного диагностического прибора, чтобы TCM мог настроиться на характеристики автоматической трансмиссии. Это позволяет повысить эффективность управления переключением передач сразу же после замены автоматической трансмиссии. Более подробную информацию см. в Руководстве по ремонту.

      4. Код QR требует применения специальной системы диагностики и используется на заводе, где собираются автомобили.

        A01FCQHE05
        Обозначения на рисунке
        *1 TCM *2 Код QR
        *3 Величина компенсации автоматической трансмиссии *4 Разъем трансмиссии
        *a Вид автоматической трансмиссии спереди - -

        Tech Tips

        Что представляют собой быстросчитываемые коды (QR)?


        • Код QR представляет собой матричный шифр, состоящий из множества номинально квадратных ячеек, который позволяет быстро считывать большие массивы данных с любого направления.

        • Коды QR позволяют шифровать множество видов данных: числовые, буквенно-цифровые, японское иероглифическое письмо (кандзи), японскую слоговую азбуку (кана) и двоичные коды. В общей сложности может быть зашифровано 7089 знаков (цифр).

        • Коды QR (двумерные коды) шифруют информацию в вертикальном и горизонтальном направлениях, тогда как штриховые коды – только в одном направлении. Таким образом, коды QR (двумерные коды) заключают в себе значительно больший объем данных по сравнению со штриховыми кодами.

    14. Датчик температуры ATF


      1. Для непосредственного измерения температуры трансмиссионной жидкости в корпус клапанов автоматической трансмиссии в сборе устанавливается датчик температуры ATF.

      2. Датчик температуры ATF применяется для регулирования гидравлического давления. Этот датчик обеспечивает точную регулировку давления, которое используется для включения муфт и тормозов в трансмиссии. Это способствует улучшению плавности переключения передач.

        A01FCIPE05
        Обозначения на рисунке
        *1 Нижний корпус клапанов *2 Датчик температуры ATF
    15. Контактный датчик давления ATF


      1. Контактные датчики давления ATF размещаются в выходных каналах трансмиссионной жидкости электромагнитных клапанов переключения передач SL1, SL2 и SLU, и включаются/выключаются в зависимости от давления жидкости на выходах этих электромагнитных клапанов.

      2. Анализируя релейные сигналы контактного датчика давления ATF № 3, расположенного в выходном канале трансмиссионной жидкости SLU, TCM обнаруживает неисправности в электромагнитных клапанах переключения передач SLU и SL, используемых для управления блокировкой.

      3. Когда возникает неисправность в каком-либо из электромагнитных клапанов переключения передач SL1–SL4, блок управления трансмиссией определяет требуемый аварийный режим управления в соответствии с релейными сигналами контактных датчиков давления ATF № 1 и 2, размещенных в выходных каналах SL1 и SL2.

        A01FD56E05
        Обозначения на рисунке
        *1 Контактный датчик давления ATF *2 Нижний корпус клапанов
        *a Поперечное сечение контактного датчика давления ATF - -
    16. Датчики частоты вращения


      1. В автоматической трансмиссии в блоке с главной передачей U660E используются датчик частоты вращения первичной турбины (формирует сигнал NT) и датчик частоты вращения задающей шестерни (формирует сигнал NC). С их помощью TCM может определять порядок переключения передач и, соответственно, регулировать крутящий момент двигателя и гидравлическое давление в зависимости от условий движения.

      2. Датчик частоты вращения первичной турбины определяет частоту вращения на входе трансмиссии. В качестве задающего ротора для этого датчика используется поршень муфты № 2.

      3. Датчик частоты вращения промежуточной шестерни определяет частоту вращения промежуточной шестерни. В качестве задающего ротора для этого датчика используется промежуточная приводная шестерня.

      4. Датчик частоты вращения состоит из магнита и датчика Холла (ИС на приборах с эффектом Холла). Датчик Холла преобразует изменения плотности магнитного потока, возникающие при вращении задающего ротора, в электрический сигнал, который передается в TCM.

        A01FCHAE08
        Обозначения на рисунке
        *1 Верхний корпус клапанов № 2 *2

        Датчик оборотов трансмиссии

        - Датчик частоты вращения ведущего вала NT

        *3

        Датчик оборотов трансмиссии

        - Датчик частоты вращения выходного вала NC

        *4 Верхний корпус клапанов № 1
        *5 Нижний корпус клапанов - -
        *a Сторона двигателя - -
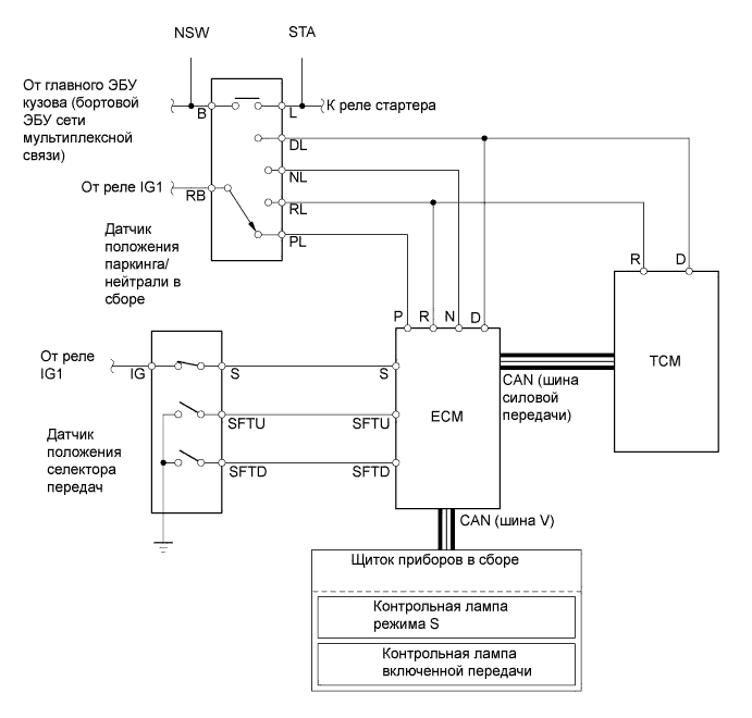
    17. Датчик положения селектора передач и датчик положения паркинга/нейтрали в сборе


      1. TCM и ECM используют эти датчики для определения положения рычага переключения передач.

      2. Датчик положения паркинга/нейтрали направляет сигналы положений P, R, N и D как в ECM, так и в TCM. В ответ на сигналы, поступающие от датчика, ECM передает сигналы в щиток приборов для включения соответствующих индикаторов положения рычага переключения передач (P, R, N и D).

      3. Датчик положения селектора передач монтируется внутри нижнего рычага переключения передач в сборе и передает в блок управления двигателем данные о положении рычага переключения передач.

      4. Контакт S датчика используется, чтобы определить, в каком положении находится рычаг переключения передач: в D или S, а контакты SFTU и SFTD – для определения рабочего режима, задаваемого рычагом переключения передач в положении S (т.е. направления смещения рычага: вперед [положение "+"] или назад [положение "-"]). Передавая сигналы в ECM, датчик положения селектора передач вызывает включение контрольной лампы включенной передачи, которая указывает выбранный диапазон, и контрольной лампы режима S (когда рычаг смещается в положение S).

        A01FCWOE01
    18. Жидкость для автоматической трансмиссии (ATF) WS


      1. Благодаря сниженной вязкости в рабочем диапазоне температур ATF WS от компании TOYOTA обеспечивает уменьшение сопротивления потоку и сокращение расхода топлива. При повышенных температурах ATF WS имеет такую же вязкость, как ATF T-IV от компании TOYOTA, что гарантирует долговечность автоматической трансмиссии.

      2. ATF WS от компании TOYOTA и жидкости других типов (D-II, D-III и ATF T-IV от компании TOYOTA) не являются взаимозаменяемыми.

        A01FCFXE01
  3. ПРИНЦИП РАБОТЫ


    1. Передача мощности в трансмиссии

      A01FD35E01
      A01FCTLE01
      A01FCH1E04
      A01FCINE04
      A01FD3BE04
      A01FD53E04
      A01FCNKE04
      A01FD1RE04
      A01FCXJE04
  4. РАБОТА В АВАРИЙНОЙ РЕЖИМЕ

    Аварийный режим работы сводит к минимуму ухудшение эксплуатационных качеств автомобиля при выходе из строя какого-либо датчика или электромагнитного клапана переключения передач. Более подробную информацию см. в руководстве по ремонту.

  5. ДИАГНОСТИКА


    1. Когда TCM обнаруживает неисправность, он регистрирует ее и сохраняет в памяти связанную с ней информацию. Кроме того, TCM включает или заставляет мигать контрольную лампу неисправности (MIL) на щитке приборов, информируя водителя о неисправности.

    2. Также TCM сохраняет в памяти диагностические коды неисправностей (DTC). Через блок управления двигателем и разъем DLC3 коды DTC, хранящиеся в памяти блока управления трансмиссией, передаются в портативный диагностический прибор.

    3. Более подробную информацию см. в Руководстве по ремонту.

      Tech Tips

      Чтобы удалить коды DTC, хранящиеся в памяти блока управления трансмиссией, необходимо использовать портативный диагностический прибор, отсоединить провод от вывода аккумуляторной батареи или извлечь предохранитель электронной системы впрыска топлива № 1, по крайней мере, на 1 минуту.