ENTRY AND START SYSTEM DETAILS


  1. FUNCTION OF MAIN COMPONENTS


    1. The main components of the entry and start system have the following functions:

      Component Function

      Engine Switch (Push Start Switch)

      - Transponder Key Amplifier


      • Transmits the engine switch signal to the certification ECU.

      • Receives the ID code and transmits it to the certification ECU when the electrical key transmitter sub-assembly battery is too weak to respond to the tuner based on the No. 1 and No. 2 indoor electrical key antenna assemblies.

      Electrical Key Transmitter Sub-assembly
      • 2 types of electrical key transmitter sub-assemblies are used: electrical key transmitter sub-assembly (electronic key) and electrical key transmitter sub-assembly (card key*1)

      • The electrical key transmitter sub-assembly (electronic key) consists of a mechanical key, a transmitter for the wireless door lock control, a transceiver for the entry and start system and a transponder chip for the engine immobiliser control.

      • The electrical key transmitter sub-assembly (card key*1) consists of a mechanical key, a transceiver for the entry and start system and a transponder chip for the engine immobiliser control.

      • Receives signals from the antennas and returns the ID code to the door control receiver.

      • When receiving the request signals that are output by the indoor electrical key antenna assemblies, door electrical key antennas and electrical key antenna (outside luggage), the electrical key transmitter sub-assembly outputs information such as the key ID and vehicle ID.

      • When a driver pushes the lock button, unlock button, luggage compartment door opener button or panic button*2 on the electrical key transmitter sub-assembly (electronic key), the electrical key transmitter sub-assembly (electronic key) outputs a request signal.

      • When receiving the radio wave that is output by the transponder key amplifier in the engine switch, the electrical key transmitter sub-assembly outputs information such as the key ID and vehicle ID.

      • Integrates with the mechanical key in order to unlock the doors when the electrical key transmitter sub-assembly battery is low.

      Certification ECU (Smart Key ECU Assembly)
      • Turns the power source mode off, on (ACC), on (IG) or START in accordance with the shift lever position and the state of the stop light switch assembly.

      • Controls the start function in accordance with the signals received from the switches and each ECU.

      • Certifies the ID code received from the door control receiver and transmits the certification results to the ID code box and steering lock ECU.

      • Judges and certifies the electrical key transmitter sub-assembly.

      • Controls the indoor electrical key antenna assemblies, door electrical key antennas and electrical key antenna (outside luggage).

      • Transmits door lock/unlock request signals during the entry function.

      • Transmits steering lock/unlock request signals.

      • Transmits engine immobiliser set/unset request signals.

      • Records the ID codes between the certification ECU, ID code box and steering lock ECU.

      Stop Light Switch Assembly Outputs the state of the brake pedal to the certification ECU.
      ID Code Box (Immobiliser Code ECU) Receives the steering unlock or engine immobiliser unset request signals from the certification ECU, certifies them, and transmits each unset signal to the steering lock ECU or ECM.
      ECM
      • Receives the engine start request signal from the certification ECU, turns on the starter relay assembly, and starts the engine.

      • Receives the signal from the ID code box and performs engine ignition and injection.

      Main Body ECU (Multiplex Network Body ECU)
      • Receives the request signal from the certification ECU and actuates the door lock motors to unlock or lock all the doors, and the luggage compartment door*3.

      • Transmits the condition of each door to the certification ECU.

      Luggage Compartment Door Lock Assembly*4

      - Luggage Compartment Door Lock Motor

      Receives the request signal from the main body ECU and actuates the luggage compartment door.
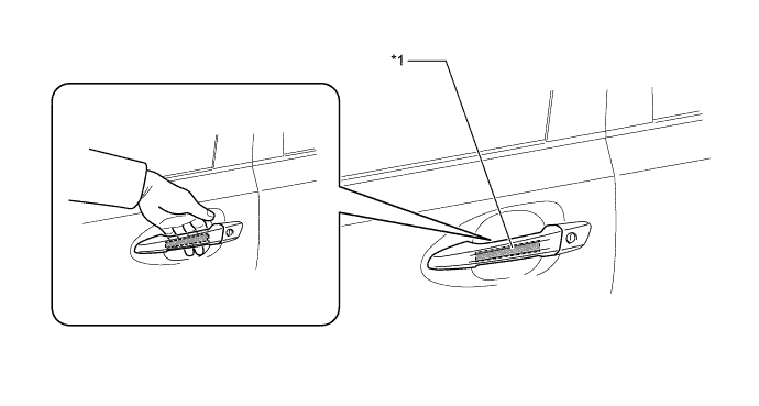
      Outside Door Handle Assembly*5 Unlock Sensor Transmits the door unlock request signal to the certification ECU.
      Lock Sensor Transmits the door lock request signal to the certification ECU.
      Door Electrical Key Antenna Receives the request signal from the certification ECU, and forms an actuation area around the front and rear doors.
      Indoor Electrical Key Antenna Assembly Receives the request signal from the certification ECU, and forms an actuation area inside the interior of the vehicle.
      Electrical Key Antenna (Outside Luggage)*5 Receives the request signal from the certification ECU, and forms an actuation area around the luggage compartment.
      Door Control Receiver Receives the ID code from the electrical key transmitter sub-assembly in the actuation area and transmits it to the certification ECU.
      Combination Meter Assembly Multi-information Display When the certification ECU detects human errors, it warns the driver by sounding the wireless door lock buzzer*6, displaying the multi-information display, and sounding the multi buzzer in the combination meter assembly in accordance with the request signal from the ECU.
      Multi Buzzer
      Entry Warning Light Illuminates or flashes on the multi-information display, using different colors to inform the driver of the power source mode or of a system malfunction.

      • *1: Models with electrical key transmitter sub-assembly (card key)

      • *2: Models with panic alarm function

      • *3: Models without power trunk lid system

      • *4: Models with power trunk lid system

      • *5: Models with entry function

      • *6: Except models for China

  2. OPERATING CONDITION


    1. The special functions of the entry and start system only work when the electrical key transmitter sub-assembly is in the actuation area formed by the antennas.

    2. The No. 1 indoor electrical key antenna assembly and No. 2 indoor electrical key antenna assembly form the actuation area of the start function.

    3. The No. 3 indoor electrical key antenna assembly forms an actuation area in the luggage compartment to prevent the electrical key transmitter sub-assembly from being confined inside the luggage compartment.

    4. The door electrical key antennas and the electrical key antenna (outside luggage) form the actuation area of the entry function.

      A01FC8ZE01
      Text in Illustration
      *A Models with Entry Function - -
      *1 No. 1 Indoor Electrical Key Antenna Assembly *2 Front Door Electrical Key Antenna LH
      *3 Front Door Electrical Key Antenna RH *4 No. 2 Indoor Electrical Key Antenna Assembly
      *5 Rear Door Electrical Key Antenna LH *6 Rear Door Electrical Key Antenna RH
      *7 No. 3 Indoor Electrical Key Antenna Assembly *8 Outside Electrical Key Antenna
      *a Approx. 0.7 m to 1.0 m (2.3 ft. to 3.3 ft.) - -
      A01FBVW Interior Actuation Area A01FC4S Exterior Actuation Area
      Actuation Area Details
      Interior The interior actuation area of the No.1 and No. 2 indoor electrical key antenna assemblies is formed when the driver door is opened or closed, when the engine switch is pressed, when a warning is activated or when the lock sensor is on.
      Exterior The exterior actuation area formed by the door electrical key antennas and outside electrical key antenna is approx. 0.7 m to 1.0 m (2.3 ft. to 3.3 ft.) from the outside door handle assembly or the center of the rear bumper.
      Around Front Door and Rear Door The exterior actuation area of the door electrical key antennas is formed by transmitting a request signal every 0.25 seconds while the engine switch is off and each door is locked. In this way, the proximity of a electrical key transmitter sub-assembly can be detected. When locking the door using the lock sensor on the outside door handle assembly, the actuation area is formed when the lock sensor is touched.
      Around Luggage Compartment Door The exterior actuation area of the outside electrical key antenna is formed when the luggage electrical key switch is on.
  3. FUNCTION


    1. Start Function


      1. The start function has different power source modes to suit the brake pedal condition and shift lever position.

      2. When a driver carrying an electrical key transmitter sub-assembly enters the vehicle while the power source mode is off and presses the engine switch without depressing the brake pedal, the power source mode turns on (ACC) to show "POWER ON" on the multi-information display. With each pressing of the engine switch, the power source mode switches as follows: off → on (ACC) → on (IG) → off.

      3. When a driver who is carrying an electrical key transmitter sub-assembly enters the vehicle while the power source mode is off, and depresses the brake pedal while the shift lever is in P or N, the entry warning light will illuminate. Pressing the engine switch with the entry warning light illuminated will cause the engine to start.

      4. When starting the engine with the vehicle stopped, pressing the engine switch while the shift lever is in P will cause the power source mode to turn off. Pressing the engine switch when the shift lever is in any position other than P will cause the mode to turn on (ACC).

        A01FCB5E01
      5. Transition of the power source mode when the electrical key transmitter sub-assembly battery is low or the electrical key transmitter sub-assembly is not operating normally due to an electromagnetic interference:


        1. The driver uses the mechanical key to unlock the door, and enters the vehicle while carrying the electrical key transmitter sub-assembly.

        2. The driver places the LEXUS mark of the electrical key transmitter sub-assembly in contact with the front of the engine switch while depressing the brake pedal.

        3. The multi buzzer sounds and the power source mode turns from off to on (IG).*1

        4. With pressing of the engine switch, the power source mode switches as follows: on (IG) → off.*2

        Tech Tips

        *1: The power source mode turns from off to on (ACC) while the key cancel function is operating.

        *2: The power source mode turns from on (ACC) to off while the key cancel function is operating.

      6. Starting the engine when the electrical key transmitter sub-assembly battery is low or the electrical key transmitter sub-assembly is not operating normally due to an electromagnetic interference:


        1. The driver uses the mechanical key to unlock the door, and enters the vehicle while carrying the electrical key transmitter sub-assembly.

        2. The driver places the LEXUS mark of the electrical key transmitter sub-assembly in contact with the front of the engine switch while depressing the brake pedal while the shift lever is in P or N.

        3. After the multi buzzer sounds and the entry warning light illuminates, the driver presses the engine switch while depressing the brake pedal.

        4. Pressing the engine switch starts the engine.

        Tech Tips


        • Normally, the operation of the engine switch is disabled while the vehicle is being driven. However, if the engine must be stopped in an emergency while the vehicle is in motion, the driver can press the engine switch either 3 times in rapid succession or for approximately 2 seconds or more to stop the engine.

        • If no signals are transmitted to the certification ECU due to a malfunction in the stop light switch assembly or park/neutral position switch assembly, the engine will not start even if the driver presses the engine switch while depressing the brake pedal. In this case, the driver can start the engine by carrying out the following operations. Press the engine switch to turn the power source mode from off to on (ACC), and press the engine switch again and hold it for 15 seconds or more.

        • The above 2 operations must be carried out only in emergency situations. Under normal conditions, the engine must not be stopped by pressing the engine switch during driving or started without depressing the brake pedal when the shift lever is in any position other than P or N.

    2. Entry Function (Models with Entry Function)


      1. The entry function consists of the following functions:

        Function Outline
        Wireless Door Lock Control This function is a convenient system for locking and unlocking all the doors at a distance.
        Entry Illumination Operates the illuminated entry system when the electrical key transmitter sub-assembly enters the exterior actuation area of the door electrical key antenna.
        Entry Unlock Holding the outside door handle assembly and touching the unlock sensor unlocks all the doors when the electrical key transmitter sub-assembly is in the exterior actuation area of the door electrical key antenna.
        Entry Unlock Mode Switching

        Allows switching between 2 entry unlock function operation modes.


        • Driver Door Mode

        • All Door Mode (Default Setting)

        Entry Lock Locks all the doors by the lock sensor of the outside door handle assembly being touched when the engine switch is off while the electrical key transmitter sub-assembly is in any of the exterior actuation areas of the door electrical key antenna.
        Entry Luggage Compartment Door Open When an electrical key transmitter sub-assembly is in an exterior actuation area of the electrical key antenna (outside luggage), the luggage compartment door can be opened manually by simply pressing the luggage electrical key switch. In addition, the luggage compartment door can be fully opened on models with a power trunk lid system.
        Key Confine Prevention
        • Prevents the confinement of the electrical key transmitter sub-assembly if the door is locked from the outside door handle assembly while the electrical key transmitter sub-assembly is still inside the vehicle.

        • The luggage compartment door can open, even if the luggage compartment door is closed when all doors are locked and an electrical key transmitter sub-assembly is inside the luggage compartment.

        Key Cancel

        The following key functions can be canceled by following certain procedures:


        • Entry unlock/lock

        • Luggage compartment door

        • Key confine prevention

        • Warning

        Battery Saving To prevent the electrical key transmitter sub-assembly battery and the vehicle battery from becoming discharged, the battery saving function activates when the vehicle remains unused for a long period of time or the electrical key transmitter sub-assembly has been detected in the exterior actuation area for more than 10 minutes.
        Warning The entry and start system causes the certification ECU to sound the multi buzzer in the combination meter assembly and uses the multi-information display in order to alert the driver.
        Key Code Registration A total of 7 keys can be registered. Key registration enables the registering (writing and storing) of transmitter recognition codes in the EEPROM that is contained in the certification ECU.
    3. Wireless Door Lock Control Function


      1. The wireless door lock control function has the following functions:

        Function Outline
        All Doors Lock Pressing the lock button of the electrical key transmitter sub-assembly (electronic key) locks all doors.
        All Doors Unlock (2-step Unlock) Pressing the unlock button of the electrical key transmitter sub-assembly (electronic key) once unlocks the driver door, and pressing it again within 5 seconds unlocks all the doors.
        All Doors Unlock (1-step Unlock) Pressing the unlock button of the electrical key transmitter sub-assembly (electronic key) unlocks all doors.
        Luggage Compartment Door Open Pressing the luggage compartment door opener button of the electrical key transmitter sub-assembly (electronic key) opens the luggage compartment door. In addition, the luggage compartment door can be fully opened on models with a power trunk lid system.
        Answer Back
        • When the doors are being locked or unlocked through the operation of the electrical key transmitter sub-assembly (electronic key), the wireless door lock buzzer sounds*1 and the hazard lights blink once during locking and twice during unlocking. Also, the answer back function operates when the doors are locked by the auto relock function.

        • When the luggage compartment door is opened, the wireless door lock buzzer is sounded once.*1

        Panic Alarm*2

        Keeping the panic button of the electrical key transmitter sub-assembly (electronic key) pressed for longer than approx. 0.8 seconds causes the following to activate as an alarm:


        • Sounds the horn assembly and security horn assembly.

        • Flashes the hazard lights.

        Automatic Relock If none of the doors are opened within 30 seconds after they have been unlocked by the wireless door lock control, all the doors will be locked again automatically.
        Repeat If a door is not locked in response to the locking operation of the electrical key transmitter sub-assembly (electronic key), the main body ECU will output a lock signal again after 1 second passes.
        Security Sends a door lock/unlock operation request signal as a rolling code.
        Door Ajar Warning If any door is open or ajar, pressing the lock button of the electrical key transmitter sub-assembly (electronic key) will cause the wireless door lock buzzer*3 to sound for about 10 seconds.
        Customization The on or off setting of some functions and settings can be performed using the Global Tech Stream (GTS) or multi-display. In addition, some functions are not available depending on specification. For details, refer to the Repair Manual.

        • *1: Except models for Europe and destination packages for China

        • *2: Models with panic alarm function

        • *3: Except destination packages for China

    4. Entry Unlock Mode Switching (Models with Entry Function)


      1. The entry unlock mode can be switched between the following 2 modes in accordance with the driver's intention:


        • All Door Mode (Default Setting)

        • Driver Door Mode

      2. In all door mode, touching the unlock sensor of any door unlocks all the doors. In driver door mode, touching the unlock sensor of the driver door unlocks the driver door only, and touching the unlock sensor of the passenger door unlocks all the doors.

      3. The switching of the entry unlock mode is performed when the power source mode is off and the key indicator light is not illuminated. Within a distance range of 1 meter from the vehicle, press and hold both the lock button and any button of the electrical key transmitter sub-assembly (electronic key) other than the lock button for approximately 5 seconds.

      4. During the switching of the entry unlock mode, the wireless door lock buzzer*, multi-information display, or the multi buzzer in combination meter assembly will sound to inform the driver of the state of the entry unlock mode.


        • *: Except destination packages for China

        A01FC84E02
    5. Entry Unlock Function (Models with Entry Function)


      1. When the electrical key transmitter sub-assembly is in the actuation area formed by the door electrical key antenna, holding the outside door handle assembly of the driver seat and touching the built-in unlock sensor unlock the driver door only, and holding any of passenger outside handle assemblies and touching the built-in unlock sensor unlock all the doors.*1

      2. When the electrical key transmitter sub-assembly is in the actuation area formed by the door electrical key antenna, holding any of the outside door handle assemblies and touching the built-in unlock sensor unlock all the doors.*2

      3. After all doors have been unlocked, the wireless door lock buzzer*3 sounds twice as an answer back and the hazard lights flash twice at the same time.

        Tech Tips

        *1: Driver door mode

        *2: All door mode

        *3: Except models for Europe and destination packages for China

        A01FBVUE01
        Text in Illustration
        *1 Unlock Sensor - -
    6. Entry Lock Function (Models with Entry Function)


      1. When the electrical key transmitter sub-assembly is in the actuation area formed by the door electrical key antenna, touching the lock sensor of the outside door handle assembly locks all the doors.

      2. After all doors have been locked, the wireless door lock buzzer* sounds once as an answer back and the hazard lights flash once at the same time.


        • *: Except models for Europe and destination packages for China

        A01FC69E01
        Text in Illustration
        *1 Lock Sensor - -
    7. Entry Luggage Compartment Door Opener Function (Models with Entry Function)


      1. When the electrical key transmitter sub-assembly is in the actuation area formed by the electrical key antenna (outside luggage), pressing the luggage electrical key switch opens the luggage compartment door. In addition, the luggage compartment door can be fully opened on models with a power trunk lid system.

        A01FBRUE01
        Text in Illustration
        *1 Luggage Electrical Key Switch - -

        Tech Tips

        When all the doors are unlocked, the luggage compartment door can be opened even without carrying the electrical key transmitter sub-assembly by pressing the luggage electrical key switch.

    8. Memory Call Function


      1. The electrical key transmitter sub-assembly linked memory call function uses the ID of an electrical key transmitter sub-assembly to automatically restore the seat position (using the driving position memory system), tilt and telescopic position and outside rear view mirror position, increasing driver convenience.

        Condition Outline
        Memory Registration

        When all the following conditions are met, the key ID will be recorded:


        • The engine switch is on (IG).

        • The M1, M2 or M3 switch (seat memory switch) is pushed and held.

        • The lock or unlock side of the driver door lock switch is pushed.

        Memory Call Operation The memory call function operates when the driver door is opened after the door is unlocked using the entry unlock function or wireless door lock control function.
        Memory Call Operation

        When all the following conditions are met, the memory call function can be disabled:


        • The engine switch is on (IG).

        • The driver door is closed.

        • The SET switch (seat memory switch) is pushed and held.

        • The lock or unlock button on the electrical key transmitter sub-assembly (electronic key) is pushed and held.

      2. The electrical key transmitter sub-assembly linked memory call function uses the ID of an electrical key transmitter sub-assembly to automatically restore the last settings used for the air conditioning system. The function is available for vehicles without the driving position memory system.

      3. Memory Registration

        Step System Operation
        (a) Carrying the key to be linked to the seat position memory system, close the door and turn the engine switch on (IG). Push the memory switch that is to be linked to the electrical key transmitter sub-assembly.
        (b) While continuing to push the memory switch, push the lock or unlock side of the driver door lock switch.
        (c) During key ID detection, the buzzer in the position control ECU assembly sounds continuously.
        (d) The main body ECU registers the key ID and each position into memory.
        (e) When the main body ECU completes recording, it beeps the buzzer in the position control ECU assembly for 0.5 seconds as an answer back. If recording malfunctions, the main body ECU beeps the buzzer in the position control ECU assembly for 3 seconds as an answer back.
    9. Warning Function


      1. When any of the situations below occur, the entry and start system causes the certification ECU to sound a multi buzzer in the combination meter assembly and the wireless door lock buzzer* and indicate a warning on the multi-information display in order to alert the driver.


        • *: Except destination packages for China

        Situation Condition
        A The driver opens the driver door and tries to leave the vehicle with the shift lever in any other position except P.
        B The driver door is opened while the steering is unlocked.
        C The occupant leaves with the electrical key transmitter sub-assembly.
        D The engine switch is operated while the electrical key transmitter sub-assembly is outside the actuation area.
        E The entry lock is operated while the electrical key transmitter sub-assembly is inside the vehicle.
        F The entry lock is operated while any of the doors is ajar.
        G An electrical key transmitter sub-assembly is confined inside the vehicle interior.
        H The luggage compartment door is closed while the electrical key transmitter sub-assembly is inside the luggage compartment.
        I The electrical key transmitter sub-assembly battery is low.
        J The steering lock cannot be released.
        K An abnormality related to the entry and start system is detected.
        L An engine start method is displayed.
        M An engine start method is displayed.
        N The system assumes that the driver is unfamiliar with the proper way to start the engine.
        O An attempt is made to turn off the engine switch with the shift lever in any position other than P or N.
        P Automatic power off operation occurs.
        Q Immobiliser system certification completion occurs.
        R The vehicle is driven without an electrical key transmitter sub-assembly.
      2. There are 2 patterns for situation A.

        Pattern 1: When the power source mode is anything other than off and the shift lever is in any position other than P, the driver opens the door and attempts to get out of the vehicle. In this situation, the following control is performed:

        Possible Effects without Warning Sudden vehicle start, vehicle theft, vehicle roll-away
        Warning Condition

        The warning is activated when all of the following conditions are met:


        • Power source is in a mode other than off.

        • Shift lever is in any position except P.

        • Vehicle speed is 0 km/h (0 mph).

        • Driver door is opened.

        Warning Method Combination Meter Assembly Multi Buzzer Sounds continuously
        Master Warning Light Blinks
        Multi-information Display

        The following warning message is displayed:


        • Shift to P position

        Advice Display -
        Wireless Door Lock Buzzer -
        Warning Stop Condition

        The warning is stopped when one of the following conditions is met:


        • Power source mode is turned off.

        • Shift lever is moved to P.

        • Vehicle speed is more than 5 km/h (3 mph).

        • Driver door is closed.

        Pattern 2: In addition to the conditions of pattern 1, the driver closes the door and attempts to leave the vehicle holding the electrical key transmitter sub-assembly. In these situations, the following control is performed:

        Possible Effects without Warning Sudden vehicle start, vehicle theft, vehicle roll-away
        Warning Condition

        The warning is started when all the following conditions are satisfied:


        • Power source mode is anything other than off.

        • No electrical key transmitter sub-assembly is detected in the vehicle interior.

        • Shift lever is in any position other than P.

        • The state of the driver door is changed from open to closed.

        • Vehicle speed is 0 km/h (0 mph).

        Warning Method Combination Meter Assembly Multi Buzzer Sounds continuously
        Master Warning Light Blinks
        Multi-information Display

        Shows the following warning messages alternately:


        • Shift to P position

        • Key not detected

        Advice Display -
        Wireless Door Lock Buzzer* Sounds continuously
        Warning Stop Condition

        The warning is stopped when one of the following conditions is met:


        • Power source mode is off.

        • An electrical key transmitter sub-assembly is detected in the vehicle interior (the multi-information display only shows "Shift to P Position").

        • Shift lever is in P (the multi-information display only shows "Key not Detected").

        • Vehicle speed is more than 5 km/h (3 mph) (the multi-information display only shows "Key not Detected").


        • *: Except destination packages for China

      3. There are 3 patterns for situation B.

        Pattern 1: When the driver opens the driver door and tries to leave the vehicle while the shift lever is in P, the power source mode is not off and the steering is unlocked, the following control is performed:

        Possible Effects without Warning Vehicle theft
        Warning Condition

        The warning is started when all the following conditions are satisfied:


        • The power source mode is on (ACC).

        • The driver door is opened.

        Or when all of the following conditions are satisfied for 1 second:


        • The power source mode is off.

        • The steering is unlocked.

        • The driver door is opened.

        Warning Method Combination Meter Assembly Multi Buzzer Intermittently sounds
        Master Warning Light Blinks
        Multi-information Display -
        Advice Display -
        Wireless Door Lock Buzzer -
        Warning Stop Condition

        The warning is stopped when one of the following conditions is met:


        • The power source mode is on (IG).

        • The driver door is closed.

        • The power source mode is off and steering is locked.

        Pattern 2: In addition to the conditions of pattern 1, the driver closes the driver door and attempts to leave the vehicle holding the electrical key transmitter sub-assembly. In these situations, the following control is performed:

        Possible Effects without Warning Vehicle theft
        Warning Condition

        The warning is started when all the following conditions are satisfied:


        • Power source mode is anything other than off.

        • No electrical key transmitter sub-assembly is detected in the vehicle interior.

        • Shift lever is in P.

        • The states of all the doors are changed from open to closed.

        • Vehicle speed is 0 km/h (0 mph).

        Warning Method Combination Meter Assembly Multi Buzzer Sounds once
        Master Warning Light Blinks
        Multi-information Display

        The following warning message is displayed:


        • Key not detected

        Advice Display -
        Wireless Door Lock Buzzer* Sounds 3 times
        Warning Stop Condition

        The warning is stopped when one of the following conditions is met:


        • Power source mode is off.

        • An electrical key transmitter sub-assembly is detected in the vehicle interior.


        • *: Except destination packages for China

        Pattern 3: In addition to the conditions of pattern 2, when an attempt is made to unlock all the doors using the entry function and the lock sensor is touched, the following control is performed:

        Possible Effects without Warning Vehicle theft
        Warning Condition

        The warning is started when all the following conditions are satisfied:


        • Power source mode is anything other than off.

        • No electrical key transmitter sub-assembly is detected in the vehicle interior.

        • Electrical key transmitter sub-assembly is detected in the vehicle exterior.

        • Shift lever is in P.

        • Touching of the lock sensor is detected.

        • Vehicle speed is 0 km/h (0 mph).

        Warning Method Combination Meter Assembly Multi Buzzer Sounds once
        Master Warning Light Blinks
        Multi-information Display

        Shows the following warning messages alternately:


        • Turn Power OFF

        • Key not detected

        Advice Display -
        Wireless Door Lock Buzzer* Sounds for 5 seconds
        Warning Stop Condition

        The warning is stopped when one of the following conditions is met:


        • Power source mode is off.

        • An electrical key transmitter sub-assembly is detected in the vehicle interior (the multi-information display only shows "Turn Power Off").

        • Shift lever is in any position other than P (the advice display only shows "Check key position").

        • Vehicle speed is more than 5 km/h (3 mph) (the advice display only shows "Check key position").

        • Any door is opened (stops the wireless door lock buzzer).

        • Any door is closed (stops the wireless door lock buzzer).

        • Approx. 5 seconds have elapsed from the time the warning started (stops the wireless door lock buzzer).

        • Approx. 60 seconds have elapsed from the time the warning started (the multi-information display only shows "Key not Detected").


        • *: Except destination packages for China

      4. In situation C

        If the power source mode is anything other than off when a passenger gets out of the vehicle while holding the electrical key transmitter sub-assembly, the following control is performed:

        Possible Effects without Warning Engine cannot be restarted
        Warning Condition

        The warning is started when all the following conditions are satisfied:


        • Power source mode is anything other than off.

        • The state of any door other than the driver door is changed from open to closed (the luggage compartment door is not included).

        • No electrical key transmitter sub-assembly is detected in the vehicle interior.

        • Vehicle speed is 0 km/h (0 mph).

        Warning Method Combination Meter Assembly Multi Buzzer Sounds once
        Master Warning Light Blinks
        Multi-information Display

        The following warning message is displayed:


        • Key not detected

        Advice Display -
        Wireless Door Lock Buzzer* Sounds 3 times
        Warning Stop Condition

        The warning is stopped when one of the following conditions is met:


        • Power source mode is off.

        • An electrical key transmitter sub-assembly is detected in the vehicle interior.


        • *: Except destination packages for China

      5. Situation D

        When the engine switch is pressed while the electrical key transmitter sub-assembly is not in the cabin or the engine cannot be started properly, the following control is performed:

        Possible Effects without Warning Driver confusion
        Warning Condition

        The warning is activated when all of the following conditions are met:


        • Engine immobiliser system is set.

        • No electrical key transmitter sub-assembly is detected in the vehicle interior.

        • The engine switch is pressed.

        Warning Method Combination Meter Assembly Multi Buzzer Sounds once
        Master Warning Light -
        Multi-information Display

        The following warning message is displayed:


        • Key not detected

        Advice Display -
        Wireless Door Lock Buzzer -
        Warning Stop Condition

        The warning is stopped when one of the following conditions is met:


        • Approx. 15 seconds have elapsed from the time the warning started.

        • An electrical key transmitter sub-assembly is detected in the vehicle interior.

      6. Situation E

        If the electrical key transmitter sub-assembly is left in the vehicle interior and the lock sensor is touched, the following control is performed:

        Possible Effects without Warning Vehicle theft
        Warning Condition

        The warning is started when all the following conditions are satisfied:


        • Power source mode is off.

        • All doors are closed.

        • An electrical key transmitter sub-assembly is detected in the vehicle interior.

        • Lock sensor is touched.

        • Any door is unlocked.

        • Vehicle speed is 0 km/h (0 mph).

        Warning Method Combination Meter Assembly Multi Buzzer -
        Master Warning Light Blinks
        Multi-information Display

        The following warning message is displayed:


        • Key detected in vehicle

        Advice Display -
        Wireless Door Lock Buzzer* Sounds for 5 seconds
        Warning Stop Condition

        The warning is stopped when one of the following conditions is met:


        • Power source mode is anything other than off.

        • The state of any door is changed from closed to open (stops the wireless door lock buzzer).

        • Vehicle speed is more than 5 km/h (3 mph).

        • Doors are locked through the manual lock, wireless door lock function, or key-linked lock operation.

        • Approx. 5 seconds have elapsed from the time the warning started (stops the wireless door lock buzzer).

        • Approx. 60 seconds have elapsed from the time the warning started (stops the indication on the multi-information display).


        • *: Except destination packages for China

      7. Situation F

        Any door is ajar, and the locking of the doors is attempted through the entry lock function by touching the lock sensor of an outside door handle. In this situation, the following control is performed:

        Possible Effects without Warning Vehicle theft
        Warning Condition

        The warning is started when all the following conditions are satisfied:


        • Power source mode is off.

        • Any door (other than the one performing the entry lock operation) is open.

        • Lock sensor is touched.

        • Electrical key transmitter sub-assembly is detected in the vehicle exterior.

        Warning Method Combination Meter Assembly Multi Buzzer -
        Master Warning Light -
        Multi-information Display -
        Advice Display -
        Wireless Door Lock Buzzer* Sounds for 5 seconds
        Warning Stop Condition

        The warning is stopped when one of the following conditions is met:


        • Power source mode is anything other than off.

        • Doors are unlocked through the wireless door lock control function.

        • An entry unlock operation is performed.

        • All doors are closed.

        • Approx. 5 seconds have elapsed from the time the warning started.


        • *: Except destination packages for China

      8. Situation G

        An electrical key transmitter sub-assembly is confined inside the vehicle interior. In this situation, the following control is performed:

        Possible Effects without Warning Vehicle theft
        Warning Condition

        The warning is started when all the following conditions are satisfied:


        • Keyless lock function*1 has been operated.

        • An electrical key transmitter sub-assembly is detected in the vehicle interior.

        • Vehicle speed is 0 km/h (0 mph).

        Warning Method Combination Meter Assembly Multi Buzzer Sounds once
        Master Warning Light Blinks
        Multi-information Display

        The following warning message is displayed:


        • Key detected in vehicle

        Advice Display -
        Wireless Door Lock Buzzer*2 Sounds for 5 seconds
        Warning Stop Condition

        The warning is stopped when one of the following conditions is met:


        • The power source mode is switched.

        • The state of any door is changed from closed to open (stops the wireless door lock buzzer).

        • Doors are locked through the manual lock, wireless door lock function, or key-linked lock operation.

        • Vehicle speed is more than 5 km/h (3 mph).

        • Approx. 5 seconds have elapsed from the time the warning started (stops the wireless door lock buzzer).

        • Approx. 60 seconds have elapsed from the time the warning started (stops the indication on the multi-information display).

        Tech Tips

        *1: With all closed doors locked, an open door is put in the locked door lock position, and is closed while pulling the outside door handle assembly, thus locking all the doors.

        *2: Except destination packages for China

      9. Situation H

        The luggage compartment door is closed with an electrical key transmitter sub-assembly inside the luggage compartment. In this situation, the following control is performed:

        Possible Effects without Warning Vehicle theft
        Warning Condition

        The warning is started when all the following conditions are satisfied:


        • Entry luggage compartment door open function is available.

        • All the doors are closed and locked or a door is unlocked.

        • Vehicle speed is 0 km/h (0 mph).

        • The state of the luggage compartment door is changed from open to closed.

        • An electrical key transmitter sub-assembly is detected in the luggage compartment.

        • A door is unlocked.

        Warning Method Combination Meter Assembly Multi Buzzer -
        Master Warning Light -
        Multi-information Display -
        Advice Display -
        Wireless Door Lock Buzzer* Sounds for 5 seconds
        Warning Stop Condition

        The warning is stopped when one of the following conditions is met:


        • The state of the luggage compartment door is changed from closed to open.

        • Vehicle speed is more than 5 km/h (3 mph).

        • Approx. 5 seconds have elapsed from the time the warning started.


        • *: Except destination packages for China

      10. Situation I

        The electrical key transmitter sub-assembly battery is low. In this situation, the following control is performed:

        Possible Effects without Warning Entry and start system does not function.
        Warning Condition

        The warning is activated when all of the following conditions are met:


        • After the power source mode has been on (IG) continuously for approx. 20 minutes or more, it is changed from on (IG) to off.

        • Electrical key transmitter sub-assembly battery is low.

        • Vehicle speed is 0 km/h (0 mph).

        • An electrical key transmitter sub-assembly is detected in the vehicle interior.

        Or when all of the following conditions are satisfied:


        • Power source mode has been turned from off to on (IG) and the engine is running.

        • Electrical key transmitter sub-assembly battery is low.

        • Vehicle speed is 0 km/h (0 mph).

        • An electrical key transmitter sub-assembly is detected in the vehicle interior.

        • Warnings have occurred under situation I.*

        Warning Method Combination Meter Assembly Multi Buzzer Sounds once
        Master Warning Light Illuminates
        Multi-information Display

        The following warning message is displayed:


        • Key Battery Low

        Advice Display -
        Wireless Door Lock Buzzer -
        Warning Stop Condition

        The warning is stopped when one of the following conditions is met:


        • Approx. 15 seconds have elapsed from the time the warning started.

        • Vehicle speed is more than 5 km/h (3 mph).

        Tech Tips

        *: The power source mode is turned off 20 minutes after being turned on (IG).

      11. Situation J

        The steering lock cannot be released, or the shift lever is moved to any position other than P before the steering lock is completely unlocked. In these situations, the following control is performed:

        Possible Effects without Warning Entry and start system does not function.
        Warning Condition The steering lock does not release when performing the release operation, preventing the engine from starting.
        Warning Method Combination Meter Assembly Multi Buzzer Sounds once
        Master Warning Light Blinks
        Multi-information Display

        The following warning message is displayed:


        • Steering Lock active

        Advice Display -
        Wireless Door Lock Buzzer -
        Warning Stop Condition

        The warning is stopped when one of the following conditions is met:


        • Steering lock is unlocked.

        • Approx. 15 seconds have elapsed from the time the warning started.

      12. Situation K

        When an abnormality related to the entry and start system is detected, the following control is performed:

        Possible Effects without Warning Malfunction detection
        Warning Condition

        The warning is activated when all of the following conditions are met:


        • Steering lock actuator assembly malfunction, or steering lock/unlock switch failure.

        • An abnormality in the IG relay output circuit has occurred 3 times or more.

        • An abnormality is determined in vehicle speed or the vehicle speed signal is stopped.

        Warning Method Combination Meter Assembly Multi Buzzer Sounds once
        Master Warning Light -
        Multi-information Display

        The following warning message is displayed:


        • Check Entry and Start System

        Advice Display -
        Wireless Door Lock Buzzer -
        Warning Stop Condition

        The warning is stopped when one of the following conditions is met:


        • The steering lock actuator assembly malfunction has been resolved.

        • A failure of the lock/unlock detection switch in the steering lock actuator assembly has been resolved.

        • Approx. 15 seconds have elapsed from the time the warning started.

      13. Situation L

        The driver uses a mechanical key to open the door and presses the engine switch, but no electrical key transmitter sub-assembly is detected in the vehicle interior. Or, the driver presses the engine switch, but no electrical key transmitter sub-assembly is detected 2 consecutive times in the vehicle interior. In these situations, the following control is performed:

        Possible Effects without Warning Usability function
        Warning Condition

        Any of the following conditions is satisfied at the time the engine switch is pressed:


        • Engine immobiliser function is on.

        • No electrical key transmitter sub-assembly is detected in the vehicle interior.

        • Unlocking with a mechanical key or operating the engine switch has resulted in a certification failure 2 consecutive times.

        Warning Method Combination Meter Assembly Multi Buzzer Sounds once
        Master Warning Light Blinks
        Multi-information Display

        The following warning message is displayed:


        • Depress brake pedal touch engine switch with key

        Advice Display A01FBXB
        Wireless Door Lock Buzzer -
        Warning Stop Condition

        The warning is stopped when one of the following conditions is met:


        • An electrical key transmitter sub-assembly is detected in the vehicle interior.

        • Approx. 60 seconds have elapsed from the time the warning started.

      14. Situation M

        The multi-information display will show how to start the engine if the system assumes that the driver does not know how to start the engine:

        Possible Effects without Warning Usability function
        Warning Condition While the power source mode is off and the driver door is opened and then closed, the power source mode is turned as follows: on (ACC) → on (IG) → off → on (ACC).
        Warning Method Combination Meter Assembly Multi Buzzer Sounds once
        Master Warning Light Blinks
        Multi-information Display

        The following warning message is displayed:


        • Depress brake pedal and push engine switch to start

        Advice Display A01FBS3
        Wireless Door Lock Buzzer -
        Warning Start Clear Condition Engine starting operation is detected.
        Warning Stop Condition

        The warning is stopped when one of the following conditions is met:


        • Power source mode is off.

        • Power source mode is on (IG).

        • Approx. 10 seconds have elapsed from the time the warning started.

      15. Situation N

        If the shift lever is in a position in which the engine cannot be started, the display will show a shift lever position in which the engine can be started:

        Possible Effects without Warning Usability function
        Warning Condition

        The warning is started when all the following conditions are satisfied:


        • Shift lever is in P or in any position than N.

        • Engine is stopped (starter is not cranking).

        • Vehicle speed is 0 km/h (0 mph).

        • After the power source mode has turned on (IG), more than 0.5 seconds have elapsed.

        • Starter assembly is not being driven.

        Warning Method Combination Meter Assembly Multi Buzzer Sounds once
        Master Warning Light Blinks
        Multi-information Display

        The following warning message is displayed:


        • Shift to P position to Start

        Advice Display -
        Wireless Door Lock Buzzer -
        Warning Stop Condition

        The warning is stopped when one of the following conditions is met:


        • Power source mode turns to anything other than on (IG).

        • Engine is started.

        • Vehicle speed is above 0 km/h (0 mph).

        • Shift lever is moved to P or N.

      16. There are 2 patterns for situation O.

        Pattern 1: A warning message appears on the multi-information display when the driver attempts to turn the engine switch off with the shift lever in any position other than P or N.

        Possible Effects without Warning Battery discharge, Vehicle roll-away
        Warning Condition

        Power source mode is turned on (IG) when all of the following conditions are satisfied:


        • Power source mode is turned from on (IG) to on (ACC).

        • Shift lever is in P or in any position other than N.

        • An exception is when the engine is stopped in an emergency.

        Warning Method Combination Meter Assembly Multi Buzzer Sounds once
        Master Warning Light Blinks
        Multi-information Display

        The following warning message is displayed:


        • Shift to P position

        Advice Display -
        Wireless Door Lock Buzzer -
        Warning Stop Condition

        The warning is stopped when one of the following conditions is met:


        • Power source mode turns to anything other than on (ACC).

        • Shift lever is moved to P.

        Pattern 2: The shift lever is moved to P from the Pattern 1 situation.

        Possible Effects without Warning Battery discharge, Vehicle roll-away
        Warning Condition The shift lever is moved to P after the power source mode is turned off while the shift lever position is in any position other than P.
        Warning Method Combination Meter Assembly Multi Buzzer Sounds once
        Master Warning Light Blinks
        Multi-information Display

        The following warning message is displayed:


        • Turn Power OFF

        Advice Display -
        Wireless Door Lock Buzzer -
        Warning Start Clear Condition Engine starting operation is detected.
        Warning Stop Condition

        The warning is stopped when one of the following conditions is met:


        • Shift lever is in any position other than P.

        • Power source mode is turned to anything other than on (ACC).

        • Approx. 10 seconds have elapsed from the time the warning started.

      17. Situation P

        An automatic power off operation is detected. In this situation, the following control is performed:

        Possible Effects without Warning Usability function
        Warning Condition

        The warning is started when all the following conditions are satisfied:


        • Shift lever position is in P.

        • The power source mode is turned off by automatic power off operation after the power source mode has been on (ACC) or on (IG) with the engine stopped and with the vehicle speed at 0 for a certain amount of time.

        Warning Method Combination Meter Assembly Multi Buzzer -
        Master Warning Light -
        Multi-information Display

        The following warning message is displayed:


        • Auto Power OFF to Conserve Battery

        Advice Display -
        Wireless Door Lock Buzzer -
        Warning Start Clear Condition Engine starting operation is detected.
        Warning Stop Condition

        The warning is stopped when one of the following conditions is met:


        • Power source mode is turned to anything other than off.

        • Approx. 10 seconds have elapsed from the time the warning started.

      18. Situation Q

        A warning message appears on the multi-information display when an electrical key transmitter sub-assembly with a depleted battery is touched to the engine switch while depressing the brake. In this situation, the following control is performed:

        Possible Effects without Warning Usability function
        Warning Condition Key certification result is OK
        Warning Method Combination Meter Assembly Multi Buzzer Sounds once
        Master Warning Light Blinks
        Multi-information Display

        The following warning message is displayed:


        • Depress brake pedal and push engine switch to start

        Advice Display A01FBS3
        Wireless Door Lock Buzzer -
        Warning Stop Condition

        The warning is stopped when one of the following conditions is met:


        • An electrical key transmitter sub-assembly is detected in the vehicle interior.

        • Engine speed is 500 r/min or more.

        • Driving is possible.

        • The engine immobiliser system is set and the smart ignition matching check is stopped or incompatible.

        • Approx. 10 seconds have elapsed from the time the warning started.

      19. Situation R

        The driver started driving without having an electrical key transmitter sub-assembly in the vehicle interior. In this situation, the following control is performed:

        Possible Effects without Warning Engine cannot be restarted
        Warning Condition

        The warning is started when all the following conditions are satisfied:


        • Power source mode is on (IG).

        • A warning is operating because the electrical key transmitter sub-assembly has been taken out of the vehicle.

        • Vehicle speed is more than 5 km/h (3 mph).

        • No electrical key transmitter sub-assembly is detected in the vehicle interior.

        Warning Method Combination Meter Assembly Multi Buzzer Sounds 9 times intermittently
        Master Warning Light Blinks
        Multi-information Display

        The following warning message is displayed:


        • Key not detected

        Advice Display -
        Wireless Door Lock Buzzer -
        Warning Stop Condition

        The warning is stopped when one of the following conditions is met:


        • Power source mode is off.

        • An electrical key transmitter sub-assembly is detected in the vehicle interior.

    10. Battery Saving Function (Models with Entry Function)


      1. Battery saving preserves the vehicle and key batteries. It is activated when the vehicle remains parked for a long time and when the electrical key transmitter sub-assembly is left in the exterior actuation area.

        Condition Condition Outline
        When the vehicle remains parked for a long time.

        Condition 1:


        • No response from electrical key transmitter sub-assembly for more than 5 days


          • Door electrical key antennas and outside electrical key antenna stop emitting signals for creating the actuation area. In addition, the lock sensors or unlock sensors of all the seats are available, so touching the sensor can lock or unlock.

        When the engine switch is turned on (IG), the control is canceled and the system is returned to normal.

        Condition 2:


        • No response from electrical key transmitter sub-assembly for more than 14 days


          • Door electrical key antennas and outside electrical key antenna stop emitting signals for creating the actuation area.

          • The lock sensors and unlock sensors except for the driver door are disabled.


        • When the engine switch is turned on (IG), the control is canceled and the system is returned to normal. When one of the following conditions is met, the control is returned to condition 1:


          • The doors are locked or unlocked using wireless door lock control function.

          • The doors are locked or unlocked by touching the lock/ unlock sensor on the driver door.

          • A door is locked or unlocked using the mechanical key.

          • Door is opened → closed.

        When the electrical key transmitter sub-assembly is left in the exterior actuation area.
        • This state continues longer than 10 minutes


          • Electrical key antenna that is detecting the electrical key transmitter sub-assembly stops emitting signals for creating the actuation area.


        • The control is stopped when one of the following conditions is met:


          • The doors are locked or unlocked using wireless door lock control function.

          • The doors are locked or unlocked by touching the lock/ unlock sensor.

          • A door is locked or unlocked using the mechanical key.

      2. In addition to the above functions, the auto power off function helps to reduce drain on the vehicle auxiliary battery by turning the power source mode to off (a) when approximately 20 minutes have elapsed since the shift lever was moved to P with the power source mode on (ACC) or (b) when approximately 60 minutes have elapsed since the engine was turned off with the shift lever in P, the power source mode on (IG) and the vehicle stationary.

    11. Battery Saving Function of Electrical Key Transmitter Sub-assembly


      1. This function cancels the signal reception waiting state of the electrical key transmitter sub-assembly, reducing the consumption of current from its battery.

      2. The electrical key transmitter sub-assembly can be placed into and taken out of battery saving mode. When the electrical key transmitter sub-assembly is in battery saving mode, the entry and start system will not be able to detect the electrical key transmitter sub-assembly, as the electrical key transmitter sub-assembly will not respond to signals from the vehicle. The entry and start system will not operate if the electrical key transmitter sub-assembly is in battery saving mode.

      3. Pressing the unlock switch of the electrical key transmitter sub-assembly twice while pressing the lock switch (the indicator light of the electrical key transmitter sub-assembly blinks 4 times) selects battery saving mode for the electrical key transmitter sub-assembly.

      4. Battery saving mode can be canceled by pressing any switch on the electrical key transmitter sub-assembly.

    12. Key Cancel Function


      1. The following system functions can be deactivated by using the key cancel procedure:


        • Entry Lock*

        • Entry Unlock*

        • Prevention of Key Confinement

        • Warning


          • *: Models with entry function

      2. The system functions can be deactivated by using the following key cancel procedure when the engine switch is off and the driver door is closed and unlocked:

        Key Cancel Procedure
        • The procedure is as follows:


          • Press the unlock button of the electrical key transmitter sub-assembly once.

          • Within 5 seconds of the step above, open the driver door (Driver Door: Close → Open).

          • Within 5 seconds of the step above, press the unlock button of the electrical key transmitter sub-assembly twice.

          • Repeat close → open for the driver door twice*1 (Driver Door: Open → Close → Open → Close → Open).

          • Press the unlock button of the electrical key transmitter sub-assembly twice.*1

          • Repeat close → open for the driver door once*1 (Driver Door: Open → Close → Open).

          • Within 5 seconds of the step above, close the driver door.

        When the cancel procedure is complete, the buzzer sounds twice.*2 Meanwhile, when the procedure is performed again to resume the system, the buzzer sounds once.*2

        Tech Tips

        *1: All these 3 steps are performed within 30 seconds of the previous step.

        *2: Except destination package for China

    13. Key Code Registration Function


      1. The table below shows the 4 special ID code registration function modes through which up to 7 different codes can be registered. The codes are electronically registered (written and stored) in the EEPROM. For details, refer to the corresponding Service Bulletin.

        Mode Function
        Rewrite Clears all previously registered codes and registers only the newly received codes. This mode is used whenever an electrical key transmitter sub-assembly or the certification ECU is replaced.
        Add Adds a newly received code while preserving previously registered codes. This mode is used when adding a new electrical key transmitter sub-assembly.
        Confirm Confirms how many codes are currently registered. When adding a new code, this mode is used to check how many codes already exist.
        Prohibit Clears all registered codes and prohibits the wireless door lock function. This mode is used when a key is lost.
  4. CONSTRUCTION


    1. Electrical Key Transmitter Sub-assembly (Electronic Key)


      1. The electrical key transmitter sub-assembly (electronic key) consists of a mechanical key, a transmitter for the wireless door lock control and a transceiver for the entry and start system.

      2. The transceiver for the entry and start system receives the signals from the electrical key antennas and returns the ID code to the door control receiver.

      3. The electrical key transmitter sub-assembly for the wireless door lock control has a lock button, unlock button, luggage compartment door opener button and panic button*.


        • *: Models with panic alarm function

      4. When the electrical key transmitter sub-assembly (electronic key) battery is low, the radio wave response received from the engine switch is returned to the engine switch by the electrical key transmitter sub-assembly (electronic key).

      5. This mechanical key works for the driver door, but cannot be used to start the engine.

        A01FBV5E02
        Text in Illustration
        *A Models with Panic Alarm Function - -
        *1 Lock Button *2 Unlock Button
        *3 Luggage Compartment Door Opener Button *4 Panic Button
        *5 Mechanical Key - -
    2. Electrical Key Transmitter Sub-assembly (Card Key)


      1. The electrical key transmitter sub-assembly (card key) consists of a mechanical key and a transceiver for the entry and start system.

      2. The transceiver for the entry and start system receives the signals from the electrical key antennas and returns the ID code to the door control receiver.

      3. When the electrical key transmitter sub-assembly (card key) battery is low, the radio wave response received from the engine switch is returned to the engine switch by the electrical key transmitter sub-assembly (card key).

      4. This mechanical key works for the driver door, but cannot be used to start the engine.

        A01FC9DE01
        Text in Illustration
        *1 Mechanical Key - -
    3. Engine Switch


      1. The engine is started and the power source is switched using the engine switch.

        A01FC05
    4. Entry Warning Light


      1. The entry warning light is shown on the multi-information display in the combination meter assembly.

        A01FBLXE01
        Text in Illustration
        *1 Entry Warning Light *2 Multi-information Display
        Condition of Entry Warning Light
        Entry Warning Light Condition
        Off
        • Engine has been started.

        • Power source mode is off.

        On Engine start is possible.
    5. Certification ECU


      1. The certification ECU consists of the IG1 and IG2 relay actuation circuits, CPU and hold circuit.

      2. The hold circuit is installed to prevent the power supply to the relays from being cut off when an abnormality occurs in the IG1 and/or IG2 relay actuation circuits while driving.

        A01FBV6E01

        Tech Tips

        The certification ECU constantly stores the present power source mode in its memory. Therefore, if the power to the certification ECU is interrupted due to the removal of the battery, the certification ECU restores the power source after the battery is reconnected. For this reason, if the battery is removed when the power source is in a mode other than off, the power will be restored to the vehicle at the same time the power is restored to the certification ECU by reconnecting the battery.

        Therefore, before removing the battery, be sure to turn the power source off.

    6. Door Control Receiver (Multi-channel)


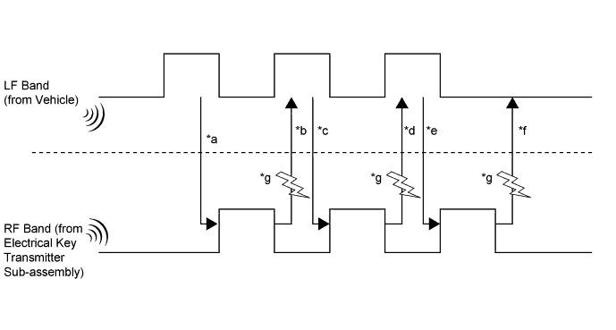
      1. The electrical key transmitter sub-assembly and door control receiver can operate on 2 different RF channels. When an electrical key transmitter sub-assembly is brought within an exterior detection area, electrical key transmitter sub-assembly verification begins. If electrical key transmitter sub-assembly verification fails due to radio wave interference, the channel will be switched and electrical key transmitter sub-assembly verification will be performed again. The multi-channel system begins verification using the channel on which the last verification was successfully performed. When verification fails, the system switches to the other channel.

        A01FCAVE01
        *a Exterior detection areas are created using LF waves (emitted from the vehicle at intervals of 0.25 seconds) to receive a response from the electrical key transmitter sub-assembly.
        *b When the electrical key transmitter sub-assembly is brought into an exterior detection area, it receives LF waves from the vehicle. Using RF waves, the electrical key transmitter sub-assembly responds to the vehicle.
        *c Upon receiving the response from the electrical key transmitter sub-assembly, the certification ECU activates the electrical key antennas (outside) one by one. Using LF waves, the certification ECU determines which exterior detection area the electrical key transmitter sub-assembly is in.
        *d The electrical key transmitter sub-assembly receives the LF waves from the vehicle and responds using RF waves. (The certification ECU recognizes which exterior detection area the electrical key transmitter sub-assembly is in.)
        *e The certification ECU sends registered key ID information to the electrical key transmitter sub-assembly using LF waves. (Up to 7 key IDs can be registered.)
        *f The electrical key transmitter sub-assembly sends the key ID information using RF waves. When the certification ECU receives it, verification completes.
        *g Radio wave interference (Channel switching)
      2. The multi-channel system changes channels when communication on the RF band (*b, *d and *f) is interrupted by radio wave interference. Refer to the table below to confirm when the system changes channels:

        - *b or *d is Not Possible *f is Not Possible
        Condition RF waves cannot be received. RF waves cannot be received properly. RF waves cannot be received. RF waves cannot be received properly.
        Channel switching Channels will not be switched. Channels will be switched. Channels will be switched. Channels will be switched.
  5. DIAGNOSIS


    1. The certification ECU can detect malfunctions in the entry and start system when the power source is on (IG).

    2. When the ECU detects a malfunction, the entry warning light blinks in yellow to warn the driver. At the same time, the ECU stores a 5-digit Diagnostic Trouble Code (DTC) in its memory.

    3. The indicator light warning continues for 15 seconds even after the engine switch is turned off.

    4. 5-digit DTCs can be read after connecting the Global Tech Stream (GTS) to the DLC3.

    5. The entry and start system may not operate successfully if a malfunction occurs.