| *A | Models with Lexus Parking Assist-sonar System | *B | Models with Driver Monitor System |
| *C | AWD Models | *D | Models with Telematics Transceiver (DCM) |
| *E | Models with Lexus Dynamic Handling System | *F | Models with 12.3-inch Display |
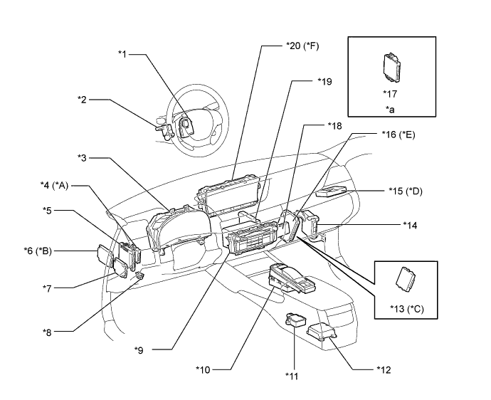
| *1 | Steering Sensor | *2 | Multiplex Tilt and Telescopic ECU Assembly |
| *3 | Combination Meter Assembly | *4 | Clearance Warning ECU Assembly |
| *5 | Main Body ECU (Multiplex Network Body ECU) | *6 | Driver Monitor ECU Assembly |
| *7 | Driving Support ECU Assembly | *8 | DLC3 |
| *9 | Multi-media Module Receiver Assembly | *10 | Remote Touch |
| *11 | Yawrate Sensor | *12 | Airbag Sensor Assembly |
| *13 | 4WD ECU Assembly | *14 | Absorber Control ECU |
| *15 | Telematics Transceiver (DCM) | *16 | Front Steering Control ECU |
| *17 | Certification ECU (Smart Key ECU Assembly) | *18 | Network Gateway ECU |
| *19 | Air Conditioner Amplifier Assembly | *20 | Accessory Meter Assembly |
| *a | Refer to the Service Bulletin for the installation of the part. | - | - |
| *A | Models with 18-way Power Seat | *B | Models with Dynamic Radar Cruise Control System |
| *C | Models with AA81E Automatic Transmission | *D | Models with 10-way Power Seat |
| *E | Models with 16-way or 18-way Power Seat | *F | Models with Lane-keeping Assist System |
| *G | Models with Pre-crash Safety System | *H | Models with Blind Spot Monitor System |
| *I | Models with Lexus Dynamic Handling System | *J | Models with Lexus Night View |
| *K | Models with Power Trunk Lid System | - | - |
| *1 | Position Control ECU RH | *2 | Front Passenger Side Multiplex Network Door ECU |
| *3 | Power Steering ECU Assembly | *4 | Millimeter Wave Radar Sensor Assembly |
| *5 | ECM | *6 | TCM |
| *7 | Skid Control ECU Assembly | *8 | Headlight Swivel ECU Assembly |
| *9 | Driver Side Multiplex Network Door ECU | *10 | Front Power Seat Switch Assembly LH |
| *11 | Position Control ECU LH | *12 | Lane Recognition Camera Sensor Assembly |
| *13 | Seat Belt Control ECU | *14 | Parking Brake ECU Assembly |
| *15 | Blind Spot Monitor Sensor Assembly LH | *16 | Rear Steering Control ECU |
| *17 | Blind Spot Monitor Sensor Assembly RH | *18 | No. 1 Night View ECU Assembly |
| *19 | Luggage Door Closer Assembly - Multiplex Network Door ECU |
- | - |