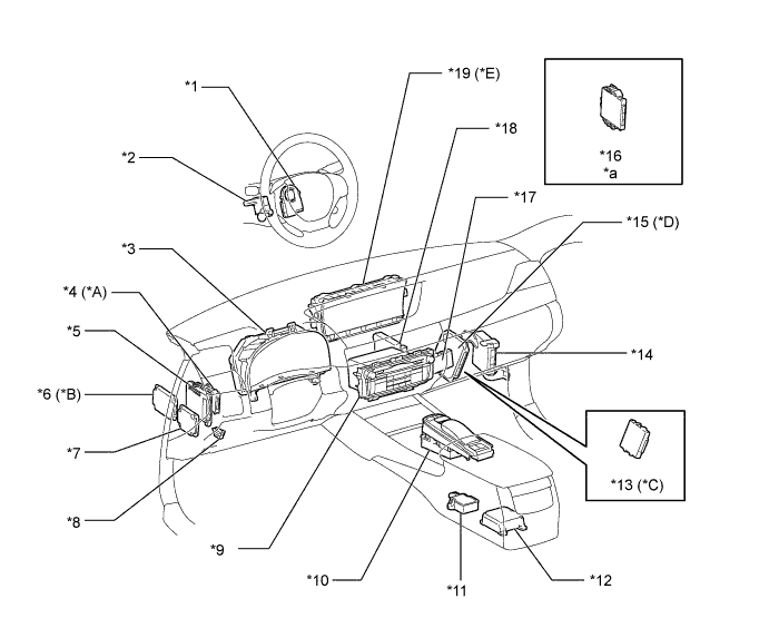
| *A | Models with Lexus Parking Assist-sonar System | *B | Models with Driver Monitor System |
| *C | AWD Models | *D | Models with Lexus Dynamic Handling System |
| *E | Models with 12.3-inch Display | - | - |
| *1 | Steering Sensor | *2 | Multiplex Tilt and Telescopic ECU Assembly |
| *3 | Combination Meter Assembly | *4 | Clearance Warning ECU Assembly |
| *5 | Main Body ECU (Multiplex Network Body ECU) | *6 | Driver Monitor ECU Assembly |
| *7 | Driving Support ECU Assembly | *8 | DLC3 |
| *9 | Multi-media Module Receiver Assembly | *10 | Remote Touch |
| *11 | Yawrate Sensor | *12 | Airbag Sensor Assembly |
| *13 | 4WD ECU Assembly | *14 | Absorber Control ECU |
| *15 | Front Steering Control ECU | *16 | Certification ECU (Smart Key ECU Assembly) |
| *17 | Network Gateway ECU | *18 | Air Conditioner Amplifier Assembly |
| *19 | Accessory Meter Assembly | - | - |
| *a | Refer to the Service Bulletin for the installation of the part. | - | - |
| *A | Models with 18-way Power Seat | *B | Models with Dynamic Radar Cruise Control System |
| *C | Models with 10-way Power Seat | *D | Models with 16-way or 18-way Power Seat |
| *E | Models with Lane-keeping Assist System | *F | Models with Pre-crash Safety System |
| *G | Models with Blind Spot Monitor System | *H | Models with Lexus Dynamic Handling System |
| *I | Models with Power Trunk Lid System | - | - |
| *1 | Position Control ECU RH | *2 | Front Passenger Side Multiplex Network Door ECU |
| *3 | Power Steering ECU Assembly | *4 | Millimeter Wave Radar Sensor Assembly |
| *5 | ECM | *6 | Skid Control ECU Assembly |
| *7 | Headlight Swivel ECU Assembly | *8 | Driver Side Multiplex Network Door ECU |
| *9 | Front Power Seat Switch Assembly LH | *10 | Position Control ECU LH |
| *11 | Lane Recognition Camera Sensor Assembly | *12 | Seat Belt Control ECU |
| *13 | Parking Brake ECU Assembly | *14 | Blind Spot Monitor Sensor Assembly LH |
| *15 | Rear Steering Control ECU | *16 | Blind Spot Monitor Sensor Assembly RH |
| *17 | Luggage Door Closer Assembly - Multiplex Network Door ECU |
- | - |