LIN COMMUNICATION SYSTEM PARTS LOCATION

A01FC5CE01
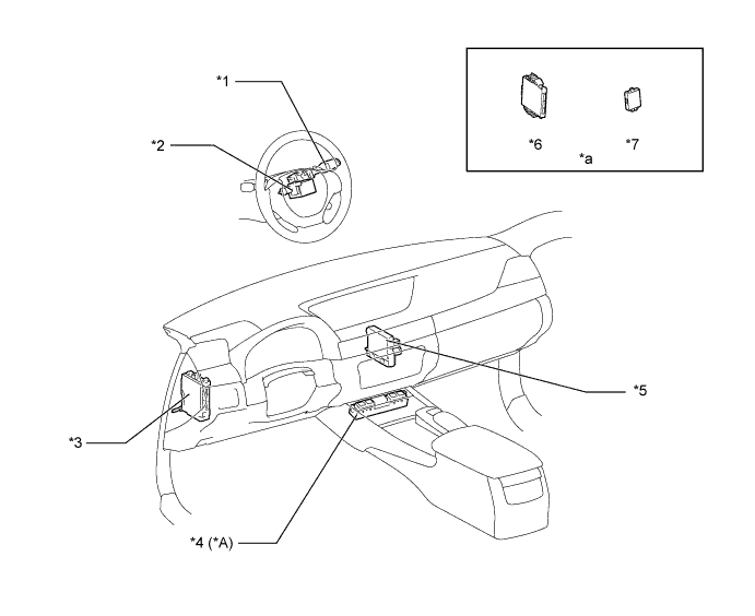
Text in Illustration
*A Models with Refreshing Seat System - -
*1 Windshield Wiper Switch Assembly *2 Steering Lock Actuator Assembly (Steering Lock ECU)
*3 Main Body ECU (Multiplex Network Body ECU) *4 Refreshing Seat Switch
*5 Air Conditioning Amplifier Assembly *6 Certification ECU (Smart Key ECU Assembly)
*7 ID Code Box (Immobiliser Code ECU) - -
*a Refer to the Service Bulletin for the installation of the part. - -
A01FC02E01
Text in Illustration
*A Models with Sliding Roof System *B Models with Automatic Wiper System
*C Models with Automatic High Beam System *D Model with 3-zone Temperature Control
*1 Sliding Roof Drive Gear Assembly (Sliding Roof ECU) *2 Rain Sensor
*3 Inner Rear View Mirror Assembly (Automatic Highbeam Sensor) *4 Front Passenger Side Multiplex Network Door ECU
*5 Headlight Swivel Motor RH *6 Headlight Swivel Motor LH
*7 Headlight Swivel ECU Assembly *8 Multiplex Network Master Switch Assembly
*9 Driver Side Multiplex Network Door ECU *10 Cooler Control Switch Panel
*11 Driver Side Front Power Window Regulator Motor Assembly *12 Driver Side Rear Power Window Regulator Motor Assembly
*13 Front Passenger Side Rear Power Window Regulator Motor Assembly *14 Front Passenger Side Front Power Window Regulator Motor Assembly